GM Service Manual Online
For 1990-2009 cars only
Makes
🢒
Oldsmobile
🢒
2000
🢒
Aurora
🢒
Body and Accessories
🢒
Theft Deterrent
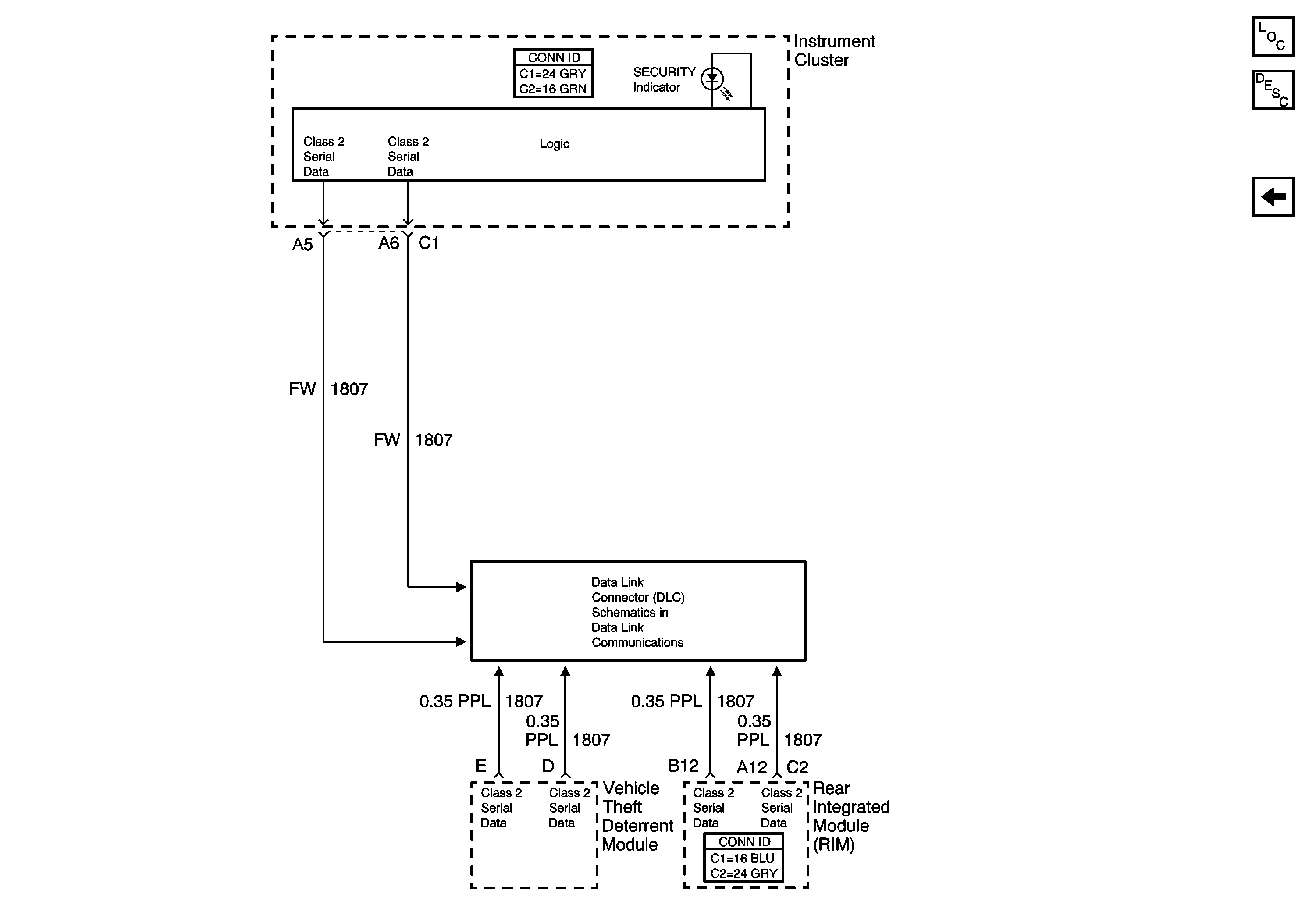
🢒 Theft Deterrent System Schematics
Figure
1:
Theft Deterrent Control Module
Master Electrical Component List
Vehicle Theft Deterrent (VTD) Description and Operation
Door Lock Actuators
License Plate Lamps, Park Lamp Relay
Horns
Serial Data Class 2
Battery Feed to the Fuse Block-Underhood
IGN SW (Fuse Block-Rear)
IGN SW Fuse (Fuse Block-Rear)
IGN SW Fuse (Fuse Block-Rear)
G201 (2 of 2)
G201 (2 of 2)
Figure
2:
Door Lock Actuators
Master Electrical Component List
Content Theft Deterrent (CTD) Description and Operation
Theft Deterrent Control Module
Serial Data Class 2
Figure
3:
Content Theft Deterrent Indicators
Master Electrical Component List
Door Lock Actuators
Handling ESD Sensitive Parts Notice