GM Service Manual Online
For 1990-2009 cars only

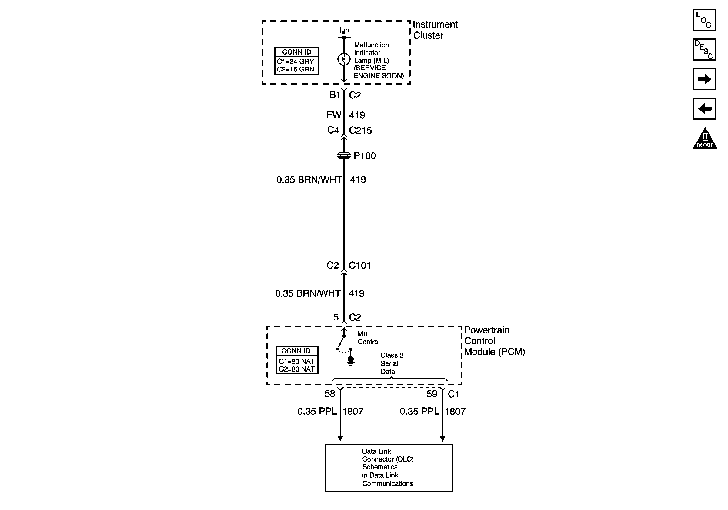
Circuit Description

Battery positive voltage is supplied directly to the malfunction indicator lamp (MIL). The powertrain control module (PCM) turns the MIL ON by grounding the MIL control circuit. There should be a steady MIL with the ignition ON and the engine OFF.

MIL Operation

The MIL is located on the instrument panel.

MIL Function

    • The MIL informs the driver that a malfunction has occurred and the vehicle should be taken in for service as soon as possible.
    • The MIL illuminates during a bulb test and a system test.
    • A diagnostic trouble code (DTC) will be stored if a MIL is requested by the diagnostic.

MIL Illumination

    • The MIL will illuminate with ignition switch ON and the engine not running.
    • The MIL will turn OFF when the engine is started.
    • The MIL will remain ON if the self-diagnostic system has detected a malfunction.
    • The MIL may turn OFF if the malfunction is not present.
    • If the MIL is illuminated and then the engine stalls, the MIL will remain illuminated so long as the ignition switch is ON.
    • If the MIL is not illuminated and the engine stalls, the MIL will not illuminate until the ignition switch is cycled OFF, then ON.

Diagnostic Aids

If the problem is intermittent, refer to Intermittent Conditions .

Test Description

The numbers below refer to the step numbers on the diagnostic table.

  1. This step determines if the condition is with the MIL control circuit or the PCM.

  2. This step determines if a voltage is constantly being applied to the control circuit.

No Malfunction Indicator Lamp (MIL)

Step

Action

Yes

No

Schematic Reference:

MIL and Data Link Connector


Object Number: 397414  Size: FS
Master Electrical Component List
Ignition Control Modules
Ignition Switch and Controls
OBD II Symbol Description Notice
Serial Data Class 2

1

Did you perform the Diagnostic System Check-Engine Controls?

Go to Step 2

Go to Diagnostic System Check - Engine Controls

2

Inspect the instrument panel (IP) cluster fuse.

Is the fuse open?

Go to Step 10

Go to Step 3

3

  1. Turn OFF the ignition.
  2. Disconnect the PCM. Refer to Powertrain Control Module Replacement .
  3. Turn ON the ignition, with the engine OFF.
  4. Connect a 3-amp fuse jumper wire between the MIL control circuit and a good ground.
  5. Observe the MIL.

Is the MIL illuminated?

Go to Step 9

Go to Step 4

4

Did the fuse in the jumper wire open?

Go to Step 11

Go to Step 5

5

  1. Remove the instrument panel cluster (IPC). Refer to Instrument Cluster Replacement in Instrument Panel, Gauges, and Console.
  2. Test the MIL control circuit for an open between the PCM and the IPC. Refer to Circuit Testing or Wiring Repairs in Wiring Systems.

Did you find and correct the condition?

Go to Step 14

Go to Step 6

6

Probe the MIL battery positive voltage circuit at the IPC harness connector with a test lamp connected to a good ground.

Does the test lamp illuminate?

Go to Step 8

Go to Step 7

7

Repair the open in the MIL battery positive voltage circuit. Refer to Wiring Repairs in Wiring Systems.

Did you complete the repair?

Go to Step 14

--

8

Inspect for poor connections at the harness connector of the IPC. Refer to Testing for Intermittent Conditions and Poor Connections or Connector Repairs in Wiring Systems.

Did you find and correct the condition?

Go to Step 14

Go to Step 12

9

Inspect for poor connections at the harness connector of the PCM. Refer to Testing for Intermittent Conditions and Poor Connections or Connector Repairs in Wiring Systems.

Did you find and correct the condition?

Go to Step 14

Go to Step 13

10

  1. Repair the short to ground in the MIL battery positive voltage circuit. Refer to Wiring Repairs in Wiring Systems.
  2. Replace the fuse.

Did you complete the repair?

Go to Step 14

--

11

Repair the short to voltage in the MIL control circuit. Refer to Wiring Repairs in Wiring Systems.

Did you complete the repair?

Go to Step 14

--

12

Replace the IPC. Refer to Instrument Cluster Replacement in Instrument Panel, Gauges, and Console.

Did you complete the replacement?

Go to Step 14

--

13

Replace the PCM. Refer to Powertrain Control Module Replacement .

Did you complete the replacement?

Go to Step 14

--

14

Operate the system in order to verify the repair.

Did you correct the condition?

System OK

Go to Step 2