GM Service Manual Online
For 1990-2009 cars only
Makes
🢒
Oldsmobile
🢒
2001
🢒
Aurora
🢒
HVAC
🢒
HVAC Systems - Automatic
🢒 Cooling System Component Views
Figure
1:
Cooling Fans (LX5)
(1)
Cooling Fan - Left
(2)
Cooling Fan - Right
Figure
2:
Cooling Fans (L47)
(1)
Cooling Fan - Left
(2)
Cooling Fan - Right
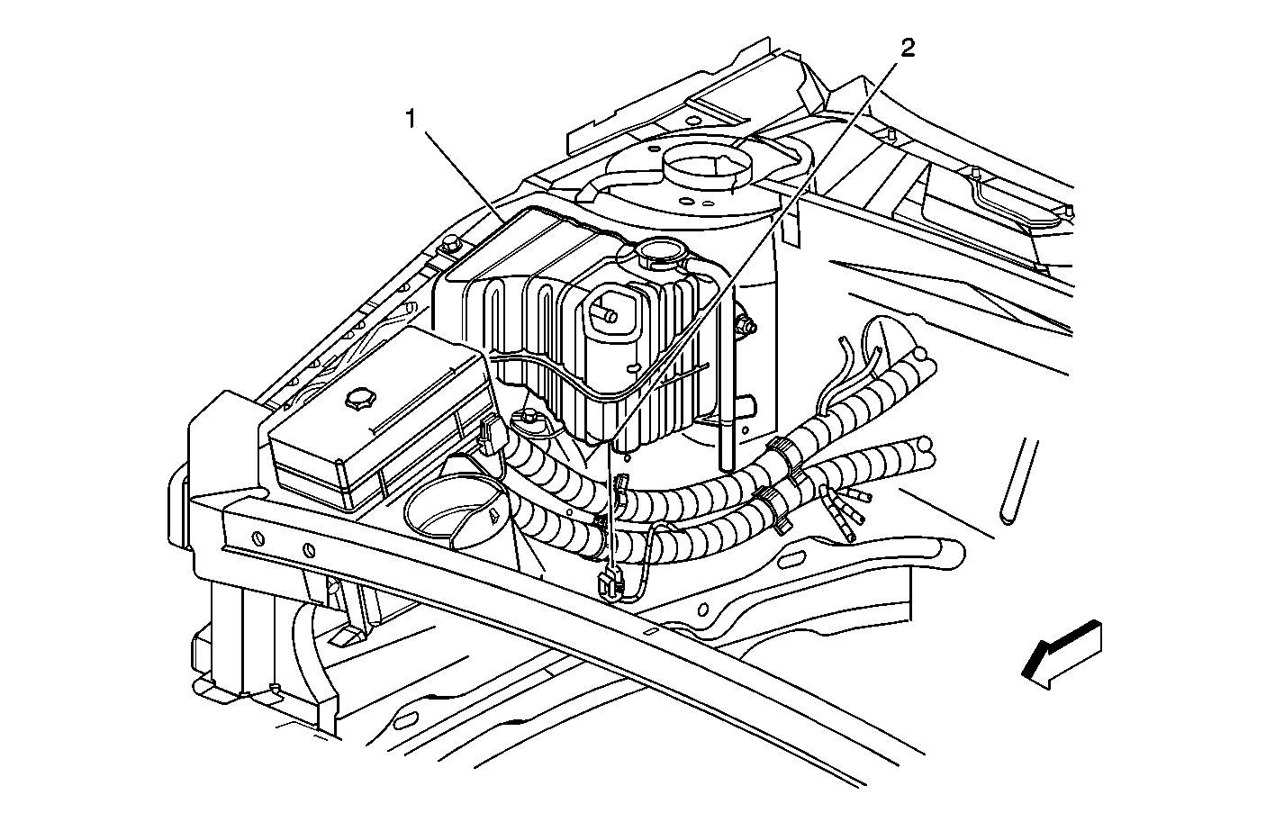
Figure
3:
Coolant Level Switch
(1)
Coolant Surge Tank
(2)
Coolant Level Switch