GM Service Manual Online
For 1990-2009 cars only
Figure 1:

Instrument Panel Cluster (IPC)


Object Number: 533640  Size: MF
(1)Instrument Panel Cluster (IPC)
(2)Driver Information Center (DIC)
(3)Driver Information Center (DIC) Switch
(4)Hazard Switch
(5)Heating, Ventilation, and Air Conditioning (HVAC) Control Module
(6)Radio
(7)Ignition Switch
(8)Air Temperature Sensor-Inside
(9)Trip Odometer Reset Switch
(10)Trip A/B Switch
(11)I/P Dimmer Switch
Figure 2:

Front Left Side of the Passenger Compartment


Object Number: 533643  Size: MF
(1)Blower Motor Switch
(2)Volume Control Switch
(3)Windshield Wiper Switch
(4)Cruise Control Lever
(5)Seek/Program Switch
(6)Temperature Control Switch
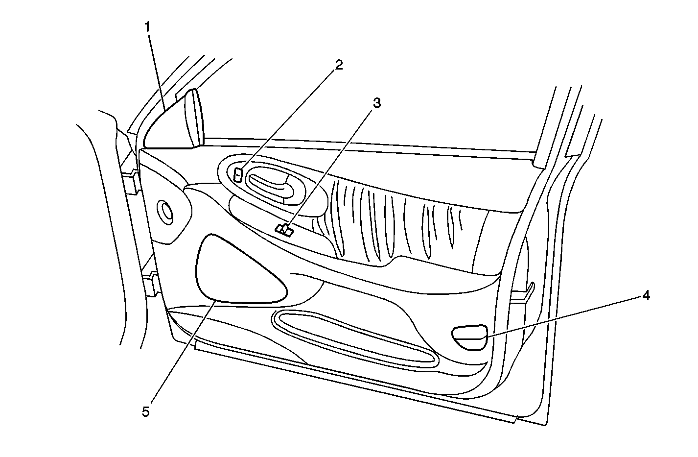
Figure 3:

Driver's Door Panel


Object Number: 533648  Size: MF
(1)Memory/Personalization Function Switches
(2)Door Lock Switch-LF Driver
(3)Speaker-LF Door Tweeter
(4)Outside Rearview Power Mirror Remote Control Switch
(5) Window Switch-LF Driver
(6)Speaker-LF Door
(7)Fuel Door Release Switch
(8)Rear Compartment Lid Release Switch
(9)Courtesy Lamp-LF Door
Figure 4:

Passenger Front Door Panel


Object Number: 620297  Size: MF
(1)Speaker-RF Door Tweeter
(2)Door Lock Switch-RF Passenger
(3)Window Switch-RF Passenger
(4)Courtesy Lamp-RF Door
(5)Speaker-RF Door
Figure 5:

Right Rear Door Panel (Left Rear Door Panel Similar)


Object Number: 620299  Size: MF
(1)Window Switch-RR
(2)Courtesy Lamp-RR Door
(3)Speaker-RR Door
Figure 6:

Below Rear Shelf


Object Number: 701426  Size: MF
(1)Speaker -- LR
(2)Speaker -- RR
(3)Audio Amplifier
Figure 7:

Right Side of Rear Compartment


Object Number: 701427  Size: MF
(1)Remote Playback Device-CD Changer
(2)Remote Playback Device-CD Changer Connector
Figure 8:

Center Rear of Headliner


Object Number: 701429  Size: MF
(1)RF Radio Signal Coax Cable
(2)Windshield FM Antenna Coax Cable
(3)Radio Antenna Module
(4)Radio Antenna Module Connector
(5)Rear Glass Antenna Connector