GM Service Manual Online
For 1990-2009 cars only
Figure 1:

Lower Right Front of the Engine


Object Number: 608778  Size: MF
(1)A/C Refrigerant Pressure Sensor
Figure 2:

Right Front Corner of the Engine Compartment


Object Number: 614453  Size: MF
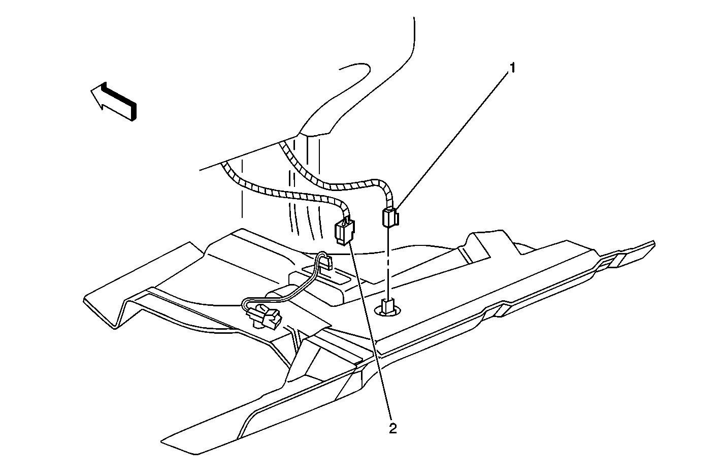
(1)A/C Orifice Solenoid
Figure 3:

Instrument Panel Integration Module (IPM)


Object Number: 701437  Size: MF
(1)Instrument Panel Integration Module (IPM)
(2)Instrument Panel Integration Module (IPM) - C1
(3)Instrument Panel Integration Module (IPM) - C2
(4)C201
Figure 4:

Right Side of HVAC Housing


Object Number: 482181  Size: MF
(1)Blower Motor Control Processor
(2)Air Temperature Actuator - Right
(3)Recirculation Actuator
(4)Blower Motor
Figure 5:

Left Side of HVAC Housing


Object Number: 482177  Size: MF
(1)Air Temperature Actuator-Left
(2)Mode Actuator
Figure 6:

Left Side of HVAC Module


Object Number: 527043  Size: MF
(1)Aspirator
Figure 7:

Instrument Panel Cluster (IPC)


Object Number: 533640  Size: MF
(1)Instrument Panel Cluster (IPC)
(2)Driver Information Center (DIC)
(3)Driver Information Center (DIC) Switch
(4)Hazard Switch
(5)Heating, Ventilation, and Air Conditioning (HVAC) Control Module
(6)Radio
(7)Ignition Switch
(8)Air Temperature Sensor-Inside
(9)Trip Odometer Reset Switch
(10)Trip A/B Switch
(11)I/P Dimmer Switch
Figure 8:

Left Side Foot Well


Object Number: 701376  Size: MF
(1)Air Temperature Sensor-Lower Left
(2)Foot Well Courtesy Lamp-Left
Figure 9:

Right Side Foot Well


Object Number: 701384  Size: MF
(1)Air Temperature Sensor-Lower Right
(2)Foot Well Courtesy Lamp-Right
Figure 10:

Right Front Door


Object Number: 701389  Size: MF
(1)Air Temperature Switch Assembly-Right
Figure 11:

Air Temperature Sensor - Outside


Object Number: 701393  Size: MF
(1)Air Temperature Sensor - Outside