GM Service Manual Online
For 1990-2009 cars only

Emblem/Nameplate Replacement Aurora

Nameplate Procedure


    Object Number: 637922  Size: SH
  1. Wash the affected panel with a soap and water mixture.
  2. Dry the affected panel using a clean cloth.
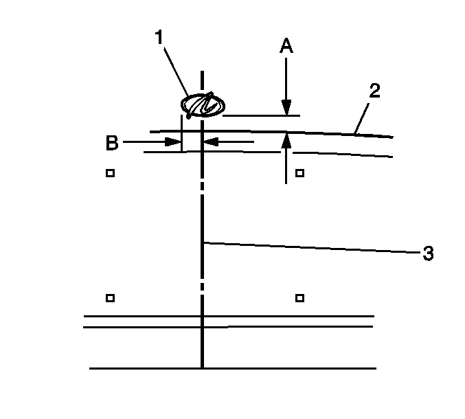
  3. Remove all traces of adhesive from the rear deck lid (1) and from the back of the emblem/nameplate  (2) using 3M General Purpose Adhesive Cleaner 08984 or equivalent.
  4. Wipe the panel with a clean cloth and an alcohol and water mixture.

  5. Object Number: 637930  Size: SH
  6. If the body is below 21°C (70°F), warm the affected panel with a heat lamp or a heat gun while proceeding with the following step.
  7. Important: Care should be exercised not to touch the tape with your hands or allow the adhesive tape to come in contact with any dirt or foreign matter.

  8. Peel the backing from the adhesive tape.
  9. Using the following dimensions align the nameplate (2) to the rear compartment lid:
  10. • 25.7 mm (+/- 2 mm) 1.01 in (+/- 0.08 in) (A) from the horizontal edge (3).
    • 109.5 mm (+/-2.0 mm) 4.31 in (+/- 0.08 in) (B) from the centerline of the rear compartment lid 1.
  11. Press the nameplate (2) firmly in place in order to ensure proper adhesion to the rear compartment lid.

Hood Emblem Procedure


    Object Number: 637942  Size: SH
  1. Wash the affected panel with a soap and water mixture.
  2. Dry the affected panel using a clean cloth.
  3. Remove all traces of adhesive from the hood and from the back of the emblem (1) using 3M General Purpose Adhesive Cleaner 08984 or equivalent.
  4. Wipe the hood with a clean cloth and an alcohol and water mixture.

  5. Object Number: 637944  Size: SH
  6. If the body is below 21°C (70°F), warm the affected panel with a heat lamp or a heat gun while proceeding with the following steps.
  7. Important: Care should be exercised not to touch the tape with your hands or allow the adhesive tape to come in contact with any dirt or foreign matter.

  8. Peel the backing from the adhesive tape.
  9. Using the following dimensions align the emblem to the hood:
  10. • 70.0 mm (+/- 2 mm) 2.76 in (+/- 0.08 in) A from the front edge of the hood (1).
    • 43.5 mm (+/-2.0 mm) 1.71 in (+/- 0.08 in) B from the centerline of the hood 1.
  11. Press the emblem firmly in place in order to ensure proper adhesion to the hood.

Emblem/Nameplate Replacement Rear Decklid Designation


    Object Number: 637924  Size: SH
  1. Wash the affected panel with a soap and water mixture.
  2. Dry the affected panel using a clean cloth.
  3. Remove all traces of adhesive from the rear deck lid (3) and from the back of the emblem  (2) using 3M General Purpose Adhesive Cleaner 08984 or equivalent.
  4. Wipe the panel with a clean cloth and an alcohol and water mixture.

  5. Object Number: 637927  Size: SH
  6. If the body is below 21°C (70°F), warm the affected panel with a heat lamp or a heat gun while proceeding with the following step.
  7. Important: Care should be exercised not to touch the tape with your hands or allow the adhesive tape to come in contact with any dirt or foreign matter.

  8. Peel the backing from the adhesive tape.
  9. Using the following dimensions align the emblem (1) with the rear deck lid:
  10. • 13.4 mm (+/- 2 mm) 0.53 in (+/- 0.08 in) (A) from the top edge of the license plate pocket (2).
    • 41.25 mm (+/-2.0 mm) 1.62 in (+/- 0.08 in) (B) from the centerline of the rear deck lid (3).
  11. Press the emblem (1) firmly in place in order to ensure proper adhesion to the rear deck lid.

Emblem/Nameplate Replacement LX5 L47 Engine

Tools Required

J 25070 Heat Gun

Removal Procedure


    Object Number: 637934  Size: SH
  1. Wash the affected panel with soap and water.
  2. Wipe the panel dry with a lint-free cloth.

  3. Remove all traces of adhesive from therear deck lid and the back of the emblem. Use 3M General Purpose Adhesive Cleaner 08984 or an equivalent.
  4. Wipe the panel with a clean lint-free cloth and an isopropyl alcohol and water (50/50 mixture) by volume.

Installation Procedure


    Object Number: 637934  Size: SH

    Important: The rear compartment lid must be in a secured position prior to the emblem adhesion.

  1. Secure the rear compartment lid.
  2. Use a length of masking tape or magnetic strip in order to mark the location of the emblem.

  3. Object Number: 637932  Size: SH
  4. If the body is below 21°C (70°F) due to shop temperature or outside temperature, warm the body panel using the J 25070 while proceeding with the next step.
  5. Important: Care should be exercised not to touch the tape with your hands or allow the adhesive tape to come in contact with any dirt or foreign matter.

  6. Peel the backing from the adhesive tape.
  7. Use the following dimensions in order to mark the proper position of the emblem on the right side of the rear compartment lid:
  8. • The top edge of the emblem (1) should be 52.8 mm (+/- 2 mm) 3.34 in (+/- 0.08  in) (B) from the horizontal edge of the rear compartment lid.
    • The right edge of the emblem (1) should be 84.7 mm (+/- 2 mm) 2.08 in (+/- 0.08  in) (A) from the vertical edge of the rear compartment lid.
  9. Press the emblem (1) firmly in place in order to ensure proper adhesion to the rear deck lid.

  10. Object Number: 637940  Size: SH
  11. If the body is below 21°C (70°F) due to shop temperature or outside temperature, warm the body panel using the J 25070 while proceeding with the next step.
  12. Important: Care should be exercised not to touch the tape with your hands or allow the adhesive tape to come in contact with any dirt or foreign matter.

  13. Peel the backing from the adhesive tape.
  14. Use the following dimensions in order to mark the proper position of the emblem on the right side of the rear compartment lid:
  15. • The top edge of the emblem (1) should be 42.0 mm (+/- 2 mm) 1.65 in (+/- 0.08  in) (B) from the horizontal edge of the rear compartment lid.
    • The right edge of the emblem (1) should be 69.9 mm (+/- 2 mm) 2.75 in (+/- 0.08  in) (A) from the vertical edge of the rear compartment lid.
  16. Press the emblem (1) firmly in place in order to ensure proper adhesion to the rear deck lid.