GM Service Manual Online
For 1990-2009 cars only

Insufficient Air Conditioning Performance - Not Cool Enough (Install A/C Compressor Kit)

Subject:Insufficient Air Conditioning Performance -- Not Cool Enough (Install A/C Compressor Kit)

Models:2001 Oldsmobile Aurora
Built Prior to VIN Breakpoint 14163410



AFFECTED COMPRESSOR ASSEMBLIES

Model

GM P/N

2001 Aurora 3.5 L V6

(VIN H - RPO LX5)

25711203 through S/N 23515

2001 Aurora 4.0 L V8

(VIN C - RPO L47)

25711204 through S/N 11251

Condition

Some customers may comment that the air conditioning (A/C) performance is not sufficient. The A/C is not cooling enough.

Cause

This condition may be due to the loss of refrigerant when the A/C compressor temperature switch is blown out from the back of the compressor. The tension of the retaining snap ring is not sufficient to keep the temperature switch from exiting the back of the compressor while under pressure.

Correction

Inspect the A/C compressor temperature switch for proper installation.

    • If the temperature switch and the retaining snap ring are properly installed, perform the standard diagnostic procedures in the Service Manual.
    • If the retaining snap ring is missing and the temperature switch is not properly installed, replace the temperature switch with an A/C Compressor Kit, P/N 25733022.

Installation Procedure

  1. If the A/C system is not fully discharged, recover the refrigerant from the A/C system using the ACR 2000, J 43600.
  2. Refer to Refrigerant Recovery and Recharging in the Heating, Ventilation and Air Conditioning sub-section of the Service Manual.

  3. Raise and suitably support the vehicle.
  4. Refer to Vehicle Lifting and Jacking in the General Information sub-section of the Service Manual.

  5. Remove the front air deflector.
  6. Refer to Air Deflector Replacement-Front in the Body Front End sub-section of the Service Manual.


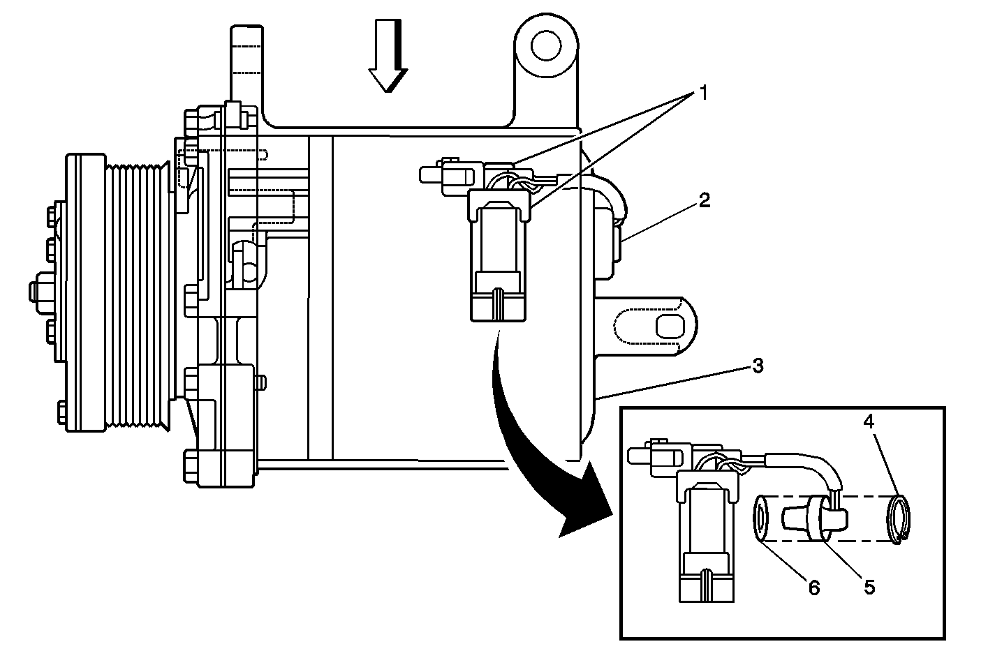
    Object Number: 816535  Size: MF
  7. Disconnect the two temperature switch electrical connectors (1) and remove the temperature switch (2) from the compressor (3).
  8. Important: Position of the snap ring is VERY important.

  9. Install the A/C Compressor Kit, P/N 25733022.
  10. 5.1. Lubricate the temperature switch O-ring (6) with 525 viscosity mineral oil.
    5.2. Install the O-ring on the switch (5).
    5.3. Install the new temperature switch (5) into the compressor.
    5.4. Use external snap ring pliers with 90 degree tips to install the retaining snap ring (4) with the "flat" side facing away from the compressor.
    5.5. Connect the two temperature switch electrical connectors.
  11. Install the front air deflector.
  12. Refer to Air Deflector Replacement-Front in the Body Front End sub-section of the Service Manual.

  13. Lower the vehicle.
  14. If all of the refrigerant charge has been lost, add 90 ml (3 fl oz) of new polyalkylene glycol (PAG) synthetic refrigerant oil, P/N 12345923 (in Canada, use P/N 10953486) to the A/C system using the A/C Oil Injector, J 45037.
  15. Refer to the instructions provided with tool J 45037.

  16. Recharge the A/C system using the ACR 2000, J 43600.
  17. Refer to Refrigerant Recovery and Recharging in the Heating, Ventilation and Air Conditioning sub-section of the Service Manual.

  18. Test the A/C compressor for leaks using the Electronic Halogen Leak Detector, J 39400-A.
  19. Refer to Leak Testing in the Heating, Ventilation and Air Conditioning sub-section of the Service Manual.

Parts Information

Part Number

Description

25733022

Compressor Kit, A/C

12356150

(In Canada, 10953485)

R-134a Refrigerant

12345923

(In Canada, 10953486)

PAG Refrigerant Oil

Parts are currently available from GMSPO.

Warranty Information

For vehicles repaired under warranty, use:

Labor Operation

Description

Labor Time

D1206

Sensor, Refrigerant Temperature - Replace (High Side)

0.4 hr*

ADD:

Recover and Recharge A/C

0.5 hr

*This labor operation time is new and will be included in the next update of the Labor Time Guide.