GM Service Manual Online
For 1990-2009 cars only
Makes
🢒
Oldsmobile
🢒
2001
🢒
Aurora
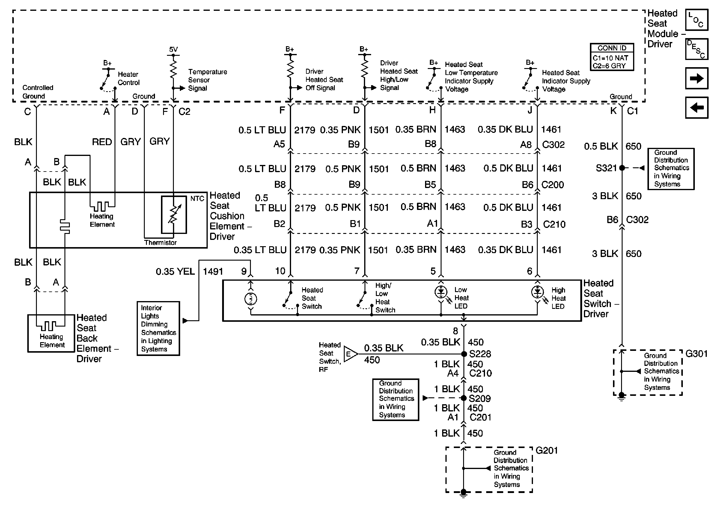
🢒 LH Heated Seat Switch
LH Heated Seat Switch
LH Heated Seat Switch