GM Service Manual Online
For 1990-2009 cars only
Figure 1:

Module Power, Ground, Serial Data and MIL


Object Number: 765007  Size: FS
Master Electrical Component List
Powertrain Control Module Description
Engine Data Sensors - 5 Volt and Low Reference
OBD II Symbol Description Notice
OBD II Symbol Description Notice
Battery Feed to the Fuse Block-Underhood
Battery Feed to the Fuse Block-Underhood
IGN SW Fuse (Fuse Block-Rear)
G100 and G102, L47
Serial Data Class 2
Engine Data Sensors - 5 Volt and Low Reference
Figure 2:

Engine Data Sensors -- 5 Volt and Low Reference


Object Number: 786112  Size: FS
Master Electrical Component List
Air Intake System Description
Engine Data Sensors - Pressure and Temperature
OBD II Symbol Description Notice
Module Power, Ground, Serial Data and MIL
Figure 3:

Engine Data Sensors -- Pressure and Temperature


Object Number: 785033  Size: FS
Master Electrical Component List
Powertrain Control Module Description
Engine Data Sensors - MAF, VSS, and Extended Brake Travel Switch
Engine Data Sensors - 5 Volt and Low Reference
OBD II Symbol Description Notice
Figure 4:

Engine Data Sensors -- MAF, VSS, and Extended Brake Travel Switch


Object Number: 785034  Size: FS
Master Electrical Component List
Air Intake System Description
Engine Data Sensors - O2S and/or HO2S
Engine Data Sensors - Pressure and Temperature
OBD II Symbol Description Notice
Battery Feed to the Fuse Block-Underhood
G100 and G102, L47
Battery Feed to the Fuse Block-Underhood
L47 IGN 1, OXY SEN, DIS Fuses and IGN 1 Relay (Fuse Block-Underhood)
Gages
Transmission Inputs
Figure 5:

Engine Data Sensors -- O2S and/or HO2S


Object Number: 815441  Size: FS
Master Electrical Component List
Air Intake System Description
Ignition Controls - Ignition System
Engine Data Sensors - MAF, VSS, and Extended Brake Travel Switch
OBD II Symbol Description Notice
Battery Feed to the Fuse Block-Underhood
Figure 6:

Ignition Controls -- Ignition System


Object Number: 785039  Size: FS
Master Electrical Component List
Electronic Ignition (EI) System Description
Ignition Controls - Sensors
Engine Data Sensors - O2S and/or HO2S
OBD II Symbol Description Notice
Battery Feed to the Fuse Block-Underhood
Gages
Figure 7:

Ignition Controls -- Sensors


Object Number: 785041  Size: FS
Master Electrical Component List
Knock Sensor (KS) System Description
Fuel Controls - Fuel Pump Controls
Ignition Controls - Ignition System
OBD II Symbol Description Notice
Figure 8:

Fuel Controls -- Fuel Pump Controls


Object Number: 785044  Size: FS
Master Electrical Component List
Fuel System Description
Fuel Controls - Fuel Injectors
Ignition Controls - Sensors
OBD II Symbol Description Notice
Battery Feed to the Fuse Block-Rear
G401 (1 of 2)
G302
Gages
Serial Data Class 2
Figure 9:

Fuel Controls -- Fuel Injectors


Object Number: 397452  Size: FS
Master Electrical Component List
Fuel System Description
Powertrain Control Module Description
Fuel Controls - EVAP Controls
Fuel Controls - Fuel Pump Controls
OBD II Symbol Description Notice
Battery Feed to the Fuse Block-Underhood
Figure 10:

Fuel Controls -- EVAP Controls


Object Number: 785049  Size: FS
Master Electrical Component List
Exhaust Gas Recirculation (EGR) System Description
Device Controls (Single Secondary Air Injection)
Fuel Controls - Fuel Injectors
OBD II Symbol Description Notice
L47 IGN 1, OXY SEN, DIS Fuses and IGN 1 Relay (Fuse Block-Underhood)
Battery Feed to the Fuse Block-Rear
Battery Feed to the Fuse Block-Underhood
Battery Feed to the Fuse Block-Underhood
Gages
Figure 11:

Device Controls (Single Secondary Air Injection)


Object Number: 785051  Size: FS
Master Electrical Component List
Secondary Air Injection System Description
Device Controls (Dual Secondary Air Injection)
Fuel Controls - EVAP Controls
OBD II Symbol Description Notice
L47 IGN 1, OXY SEN, DIS Fuses and IGN 1 Relay (Fuse Block-Underhood)
Battery Feed to the Fuse Block-Underhood
Battery Feed to the Fuse Block-Underhood
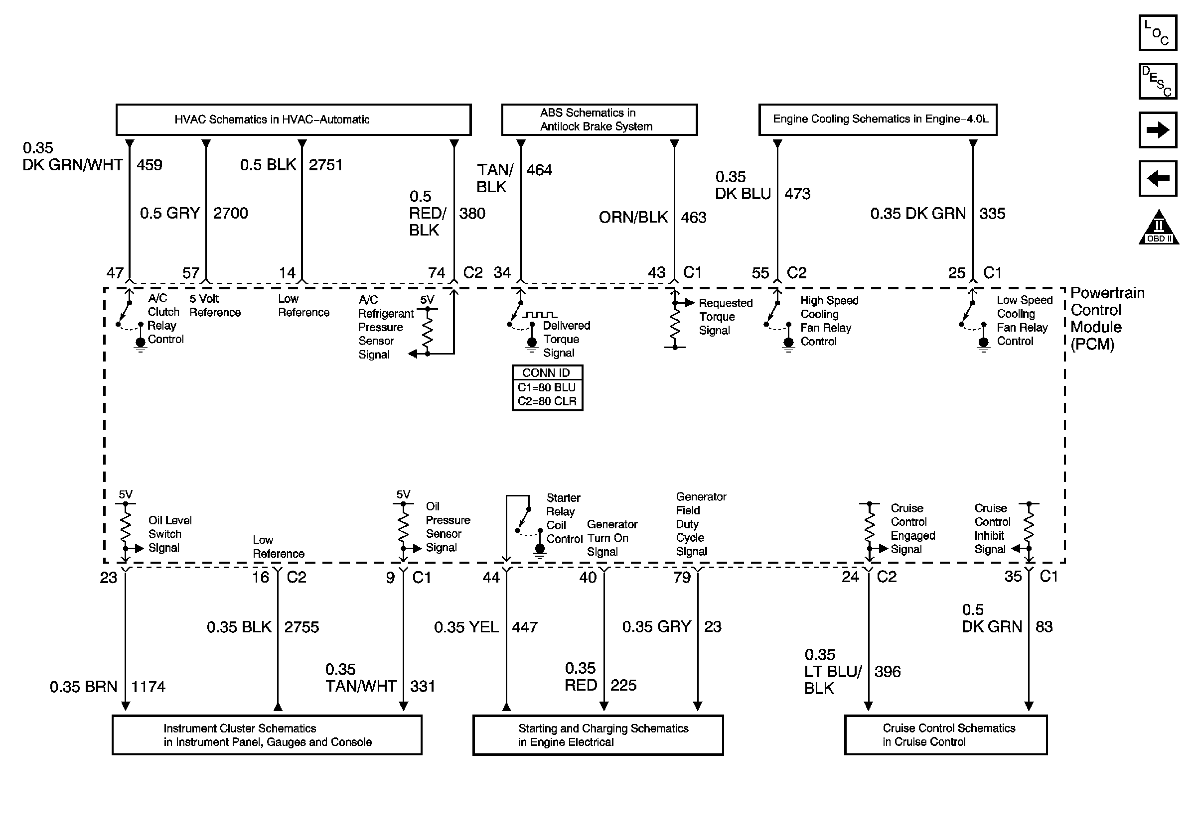
Figure 12:

Controlled/Monitored Subsystem References


Object Number: 785060  Size: FS
Master Electrical Component List
Powertrain Control Module Description
Transmission Controls - A/T
Device Controls (Dual Secondary Air Injection)
OBD II Symbol Description Notice
Cooling Fans and Relays
Compressor Control W/L47 (V8)
Indicators
Starter Solenoid Controls
CCM, PCM Controls and Vehicle Speed Input
Figure 13:

Transmission Controls -- A/T


Object Number: 689751  Size: FS
Master Electrical Component List
Powertrain Control Module Description
Controlled/Monitored Subsystem References
OBD II Symbol Description Notice
Transmission Controls
Internal Mode Switch Inputs
Transmission Inputs