Trim Height Measurements
Trim height is a predetermined measurement relating to vehicle ride
height. Incorrect trim heights can cause bottoming out over bumps, damage
to the suspension components and symptoms similar to wheel alignment problems.
Check the trim heights when diagnosing suspension concerns and before checking
the wheel alignment.
Perform the following before measuring the trim heights:
- Set the tire pressures to the pressure shown on the certification
label. Refer to
Vehicle Certification Label
in General Information.
- Check the fuel level. Add additional weight if necessary to simulate
a full tank.
- Ensure the rear compartment is empty except for the spare tire.
- Ensure the vehicle is on a level surface, such as an alignment
rack.
- Close the doors.
- Close the hood.
- All dimensions are measured vertical to the ground. Trim heights
should be within 13 mm (0.5 in) to be considered correct.
Z Height Measurement
The Z height dimension measurement determines the proper ride height
for the front end of the vehicle. There is no adjustment procedure. Repair
may require replacement of suspension components.
- Lift the front bumper of the vehicle up about 38 mm (1.5 in).
- Gently remove your hands. Let the vehicle settle.
- Repeat this operation for a total of 3 times.
- Measure from the pivot
bolt center line down to the lower corner of the lower ball joint in order
to obtain the Z height measurement.
- Push the front bumper of the vehicle down about 38 mm (1.5 in).
- Gently remove your hands.
- Allow the vehicle to settle into position.
- Repeat the jouncing operation 2 more times for a total of 3 times.
- Measure the Z dimension.
- The true Z height dimension number is the average of the high
and the low measurements. Refer to
Trim Height Specifications
.
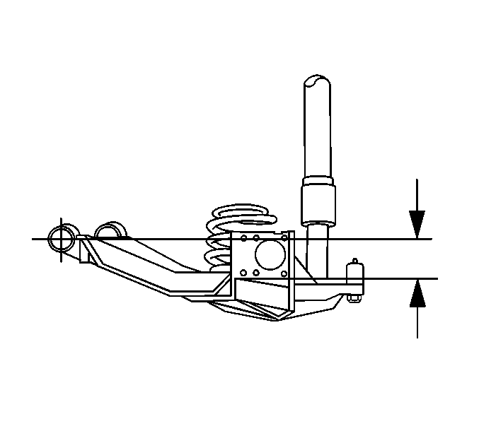
D Height Measurement
The D height dimension measurement determines the proper rear end ride
height. There is no adjustment procedure. Repair may require replacement of
suspension components.
- With the vehicle on a flat surface, lift upward on the rear bumper
38 mm (1.5 in).
- Gently remove your hands.
Allow the vehicle to settle into position.
- Repeat the jouncing operation 2 more times for a total of 3 times.
- Measure from the front
outboard control arm bolt center line to the bottom of the control arm wheel
bearing and hub face in order to obtain the D height measurement.
- Push the rear bumper downward to 38 mm (1.5 in).
- Gently remove your hands.
Allow the vehicle to settle into position.
- Repeat the jouncing operation 2 more times for a total of 3 times.
- Measure the D height dimension.
- The true D height dimension number is the average of the high
and the low measurements. Refer to
Trim Height Specifications
.
- If these measurements are out of specifications, inspect for the
following conditions:
| • | Improper weight distribution |
| • | Worn or damaged suspension components |