GM Service Manual Online
For 1990-2009 cars only
Makes
🢒
Oldsmobile
🢒
2002
🢒
Aurora
🢒
Transmission/Transaxle
🢒
Automatic Transaxle - 4T80-E
🢒 Automatic Transmission Controls Schematics
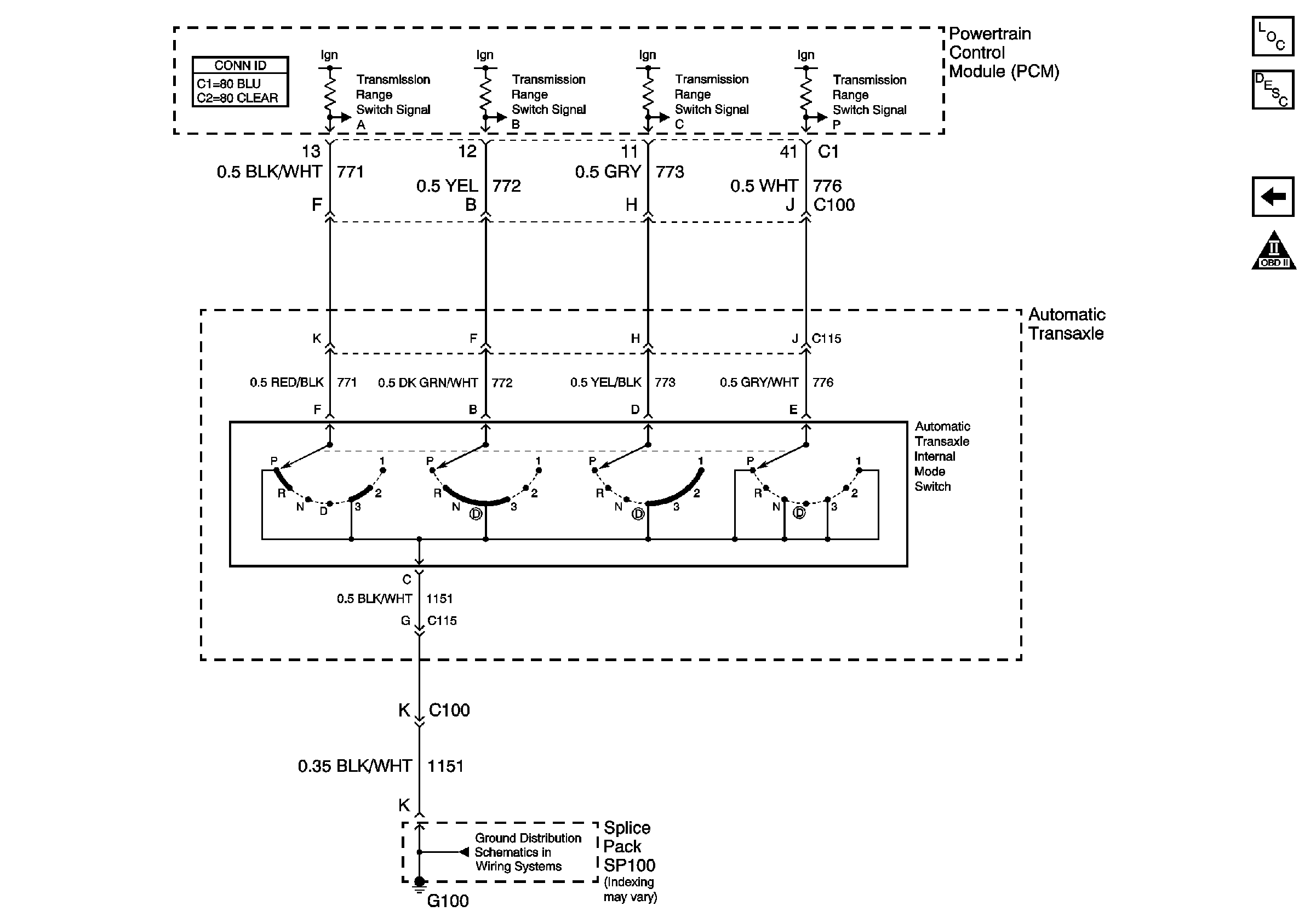
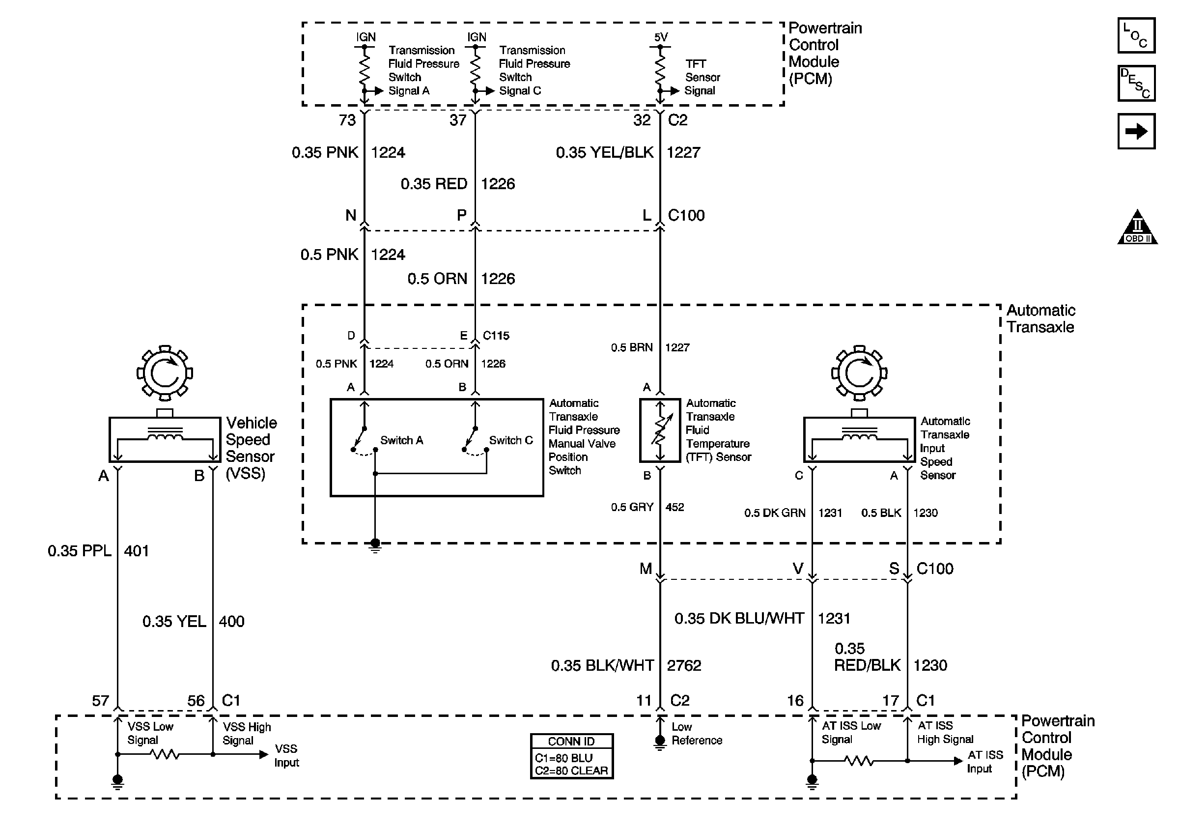
Figure
1:
Transmission Inputs
Master Electrical Component List
Electronic Component Description
Transmission Controls
OBD II Symbol Description Notice
Figure
2:
Transmission Controls
Master Electrical Component List
Electronic Component Description
Internal Mode Switch Inputs
Transmission Inputs
OBD II Symbol Description Notice
TRANS, PCM IGN, CR CONT Fuses and Start 1, HVAC SOL Relays (Fuse Block-Underhood)
IGN-1, VENT SOL, SIR Fuses and IGN 1 Relay (Fuse Block-Rear)
CCM Power and Ground, Cruise Control Switch
Figure
3:
Internal Mode Switch Inputs
Master Electrical Component List
OBD II Symbol Description Notice
Electronic Component Description
Transmission Controls
G100 and G102, L47