GM Service Manual Online
For 1990-2009 cars only

Tools Required

J 24319-B Universal Steering Linkage Puller

Removal Procedure

  1. Raise and support the vehicle. Refer to Lifting and Jacking the Vehicle in General Information.
  2. Remove the tire and wheel. Refer to Tire and Wheel Removal and Installation in Tires and Wheels.

  3. Object Number: 470653  Size: SH
  4. Remove the outer tie rod retaining nut (3).

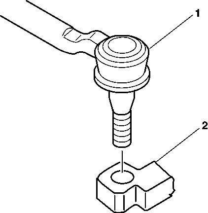
  5. Object Number: 470656  Size: SH
  6. Loosen the jam nut (2) on the inner tie rod (1).

  7. Object Number: 643351  Size: SH
  8. Using J 24319-B remove the outer tie rod from the steering knuckle .

  9. Object Number: 470661  Size: SH
  10. Remove the outer tie rod (3) from the inner tie rod (1).

Installation Procedure


    Object Number: 470663  Size: SH
  1. Install the outer tie rod (3) to the inner tie rod (1). Do not tighten the jam nut (2).

  2. Object Number: 470669  Size: SH
  3. Install the outer tie rod (1) to the steering knuckle (2).

  4. Object Number: 470653  Size: SH

    Notice: Use the correct fastener in the correct location. Replacement fasteners must be the correct part number for that application. Fasteners requiring replacement or fasteners requiring the use of thread locking compound or sealant are identified in the service procedure. Do not use paints, lubricants, or corrosion inhibitors on fasteners or fastener joint surfaces unless specified. These coatings affect fastener torque and joint clamping force and may damage the fastener. Use the correct tightening sequence and specifications when installing fasteners in order to avoid damage to parts and systems.

  5. Install the outer tie rod retaining nut (3).
  6. Tighten
    Tighten the outer tie rod retaining nut to 30 N·m (22 lb ft) plus an additional 180 degrees.

  7. Install the tire and wheel. Refer to Tire and Wheel Removal and Installation in Tires and Wheels.
  8. Lower vehicle.
  9. Adjust the toe alignment. Refer to Front Toe Adjustment in Wheel Alignment.