GM Service Manual Online
For 1990-2009 cars only
Table 1: Inflatable Restraint Front End Discriminating Sensor
Table 2: Inflatable Restraint IP Module
Table 3: Inflatable Restraint Sensing and Diagnostic Module (SDM)
Table 4: Inflatable Restraint Side Impact Module -- LF
Table 5: Inflatable Restraint Side Impact Module -- RF
Table 6: Inflatable Restraint Side Impact Sensor (SIS) -- Left
Table 7: Inflatable Restraint Side Impact Sensor (SIS) -- Right
Table 8: Inflatable Restraint Steering Wheel Module Coil

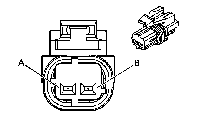
Inflatable Restraint Front End Discriminating Sensor


Object Number: 707456  Size: CH

Connector Part Information

    • 15356720
    • 2-Way F GT Series Sealed (YEL)

Pin

Wire Color

Circuit No.

Function

A

YEL

1834

Forward Discriminating Sensor - Signal

B

GRY

2260

Forward Discriminating Sensor - Low Reference

Inflatable Restraint IP Module


Object Number: 707474  Size: CH

Connector Part Information

    • 15358741
    • 4-Way M Metri-Pack 280 Series (YEL)

Pin

Wire Color

Circuit No.

Function

A1

YEL

3025

IP Module - Stage 1 - High Control

A2

ORN

3024

IP Module - Stage 1 - Low Control

B1

GRY

3027

IP Module - Stage 2 - High Control

B2

PPL

3026

IP Module - Stage 2 - Low Control

Inflatable Restraint Sensing and Diagnostic Module (SDM)


Object Number: 470412  Size: CH

Connector Part Information

    • 15354773
    • 34-Way F Micro-Pack 100 Series Sealed (YEL)

Pin

Wire Color

Circuit No.

Function

A1

YEL

1139

Ignition 1 Voltage

A2

--

--

Not Used

A3

YEL

3025

IP Module - Stage 1- High Control

A4

PPL

1807

Class 2 Serial Data

A5

PPL

1807

Class 2 Serial Data

A6

TAN

3021

Steering Wheel Module - Stage 1- High Control

A7

BRN

3020

Steering Wheel Module - Stage 1- Low Control

A8

ORN

3024

IP Module - Stage 1- Low Control

A9-A10

--

--

Not Used

A11

YEL

1834

Forward Discriminating Sensor - Signal

A12

GRY

2260

Forward Discriminating Sensor - Low Reference

A13-A14

--

--

Not Used

A15

BLK/WHT

238

Seat Belt Switch - Left

A16

DK BLU

1363

Seat Belt Switch - Left - Low Ref

A17

--

--

Not Used

A18

BLK/WHT

1751

Ground

B1

WHT

3023

Steering Wheel Module - Stage 2- High Control

B2

PNK

3022

Steering Wheel Module - Stage 2- Low Control

B3

PPL

3026

IP Module - Stage 2- Low Control

B4

GRY

3027

IP Module - Stage 2- High Control

B5

YEL

2161

Side Impact Sensor - Left - Voltage

B6

WHT

2162

Side Impact Sensor - Left - Signal

B7

DK GRN

2164

Side Impact Sensor - Right - Signal

B8

TAN

2163

Side Impact Sensor - Left - Voltage

C1

DK GRN

2105

Side Impact Module - Left - High Control

C2

BRN

2106

Side Impact Module - Left - Low Control

C3

DK BLU

2104

Side Impact Module - Right - Low Control

C4

GRY

2103

Side Impact Module - Right - High Control

C5-C8

--

--

Not Used

Inflatable Restraint Side Impact Module -- LF


Object Number: 38270  Size: CH

Connector Part Information

    • 12077918
    • 2-Way M Metri-pack 280 Series (YEL)

Pin

Wire Color

Circuit No.

Function

A

DK GRN

2105

Side Impact Module - Left - High Control

B

BRN

2106

Side Impact Module - Left - Low Control

Inflatable Restraint Side Impact Module -- RF


Object Number: 38270  Size: CH

Connector Part Information

    • 12077918
    • 2-Way M Metri-pack 280 Series (YEL)

Pin

Wire Color

Circuit No.

Function

A

GRY

2103

Side Impact Module - Right - High Control

B

DK BLU

2104

Side Impact Module - Right - Low Control

Inflatable Restraint Side Impact Sensor (SIS) -- Left


Object Number: 489937  Size: CH

Connector Part Information

    • 15304992
    • 2-Way Metri-Pack 150 Series (YEL)

Pin

Wire Color

Circuit No.

Function

A

WHT

2162

Side Impact Sensor - Left - Signal

B

YEL

2161

Side Impact Sensor - Left - Voltage

Inflatable Restraint Side Impact Sensor (SIS) -- Right


Object Number: 489937  Size: CH

Connector Part Information

    • 15304992
    • 2-Way Metri-Pack 150 Series (YEL)

Pin

Wire Color

Circuit No.

Function

A

DK GRN

2164

Side Impact Sensor - Right - Signal

B

TAN

2163

Side Impact Sensor - Right - Voltage

Inflatable Restraint Steering Wheel Module Coil


Object Number: 684931  Size: CH

Connector Part Information

    • 15336476
    • 4-Way M Metri-Pack 280 Series (YEL)

Pin

Wire Color

Circuit No.

Function

A1

TAN

3021

Steering Wheel Module - Stage 1 - High Control

A2

BRN

3020

Steering Wheel Module - Stage 1 - Low Control

B1

WHT

3023

Steering Wheel Module - Stage 2 - High Control

B2

PNK

3022

Steering Wheel Module - Stage 2 - Low Control