GM Service Manual Online
For 1990-2009 cars only
Figure 1:

Driver Door Lock Actuator and Driver Door Lock Switch


Object Number: 621091  Size: FS
Master Electrical Component List
Door Ajar Indicator Description and Operation
Passenger Door Lock Actuator and Door Lock Switch
Power Door Serial Data
Serial Data Class 2
Memory Function Switch
Front Door Dimming
Figure 2:

Passenger Door Lock Actuator and Door Lock Switch


Object Number: 621092  Size: FS
Master Electrical Component List
Door Ajar Indicator Description and Operation
Rear Door Lock Actuator
Driver Door Lock Actuator and Driver Door Lock Switch
Power Door Serial Data
Front Door Dimming
Front Door Dimming
Figure 3:

Rear Door Lock Actuator


Object Number: 621093  Size: FS
Master Electrical Component List
Door Ajar Indicator Description and Operation
Right Rear Door Lock Actuator
Passenger Door Lock Actuator and Door Lock Switch
Power Door Serial Data
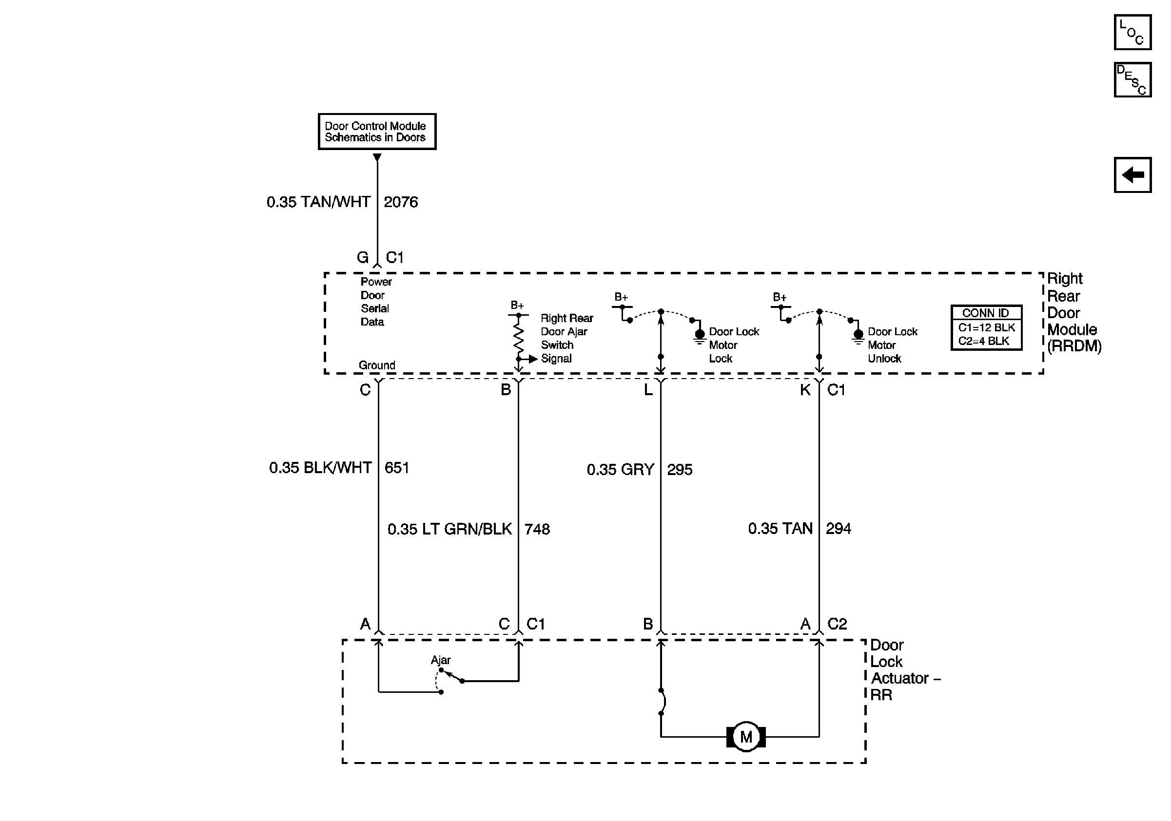
Figure 4:

Right Rear Door Lock Actuator


Object Number: 621094  Size: FS
Master Electrical Component List
Door Ajar Indicator Description and Operation
Rear Door Lock Actuator
Power Door Serial Data