GM Service Manual Online
For 1990-2009 cars only
Figure 1:

Front Door Passenger Module (FDPM)


Object Number: 701486  Size: LF
(1)Front Passenger Door Module (FPDM) C3, Similar
(2)Front Passenger Door Module (FPDM) C1, Similar
(3)Front Passenger Door Module (FPDM) C2, Similar
(4)Front Passenger Door Module (FPDM) C4, Similar
(5)C503-LH, C603-RH
(6)Front Passenger Door Module (FPDM), Similar
(7)S500-LH, S602-RH
Figure 2:

Right Front Door Latch Assembly


Object Number: 701489  Size: LF
(1)Door Lock Cylinder Switch-Front Passenger, Driver Similar
(2)Power Door Lock Actuator-Front Passenger C1, Driver Similar
(3)Power Door Lock Actuator-Front Passenger C2, Driver Similar
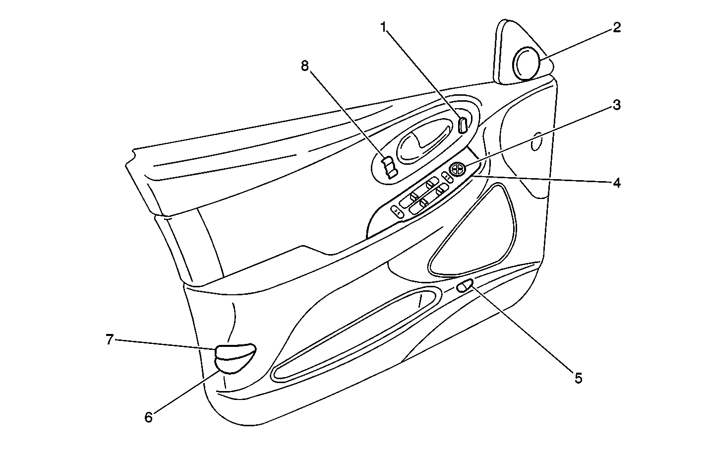
Figure 3:

Left Front Door Trim Panel


Object Number: 701479  Size: MF
(1)Door Lock Switch-Driver
(2)Speaker-LF Door Tweeter
(3)Outside Rearview Mirror Switch-Driver
(4)Window Switch-Driver
(5)Rear Compartment Lid Release Switch
(6)Courtesy Lamp-Left Front Door
(7)Warning Lamp-Left Front Door
(8)Memory Seat Switches
Figure 4:

Left Rear Power Door Lock Actuator


Object Number: 701496  Size: MF
(1)Door Lock Actuator-LR C1, RR Similar
(2)Door Lock Actuator-LR C2, RR Similar
Figure 5:

Right Rear Door Module (RRDM)


Object Number: 701465  Size: MF
(1)Right Rear Door Module (RRDM) C1, LH Similar
(2)Right Rear Door Module (RRDM) C2, LH Similar
Figure 6:

Right Rear Door Trim Panel


Object Number: 701476  Size: MF
(1)Window Switch-RR, LR Similar
(2)Courtesy Lamp -- Right Rear Door, Left Similar
(3)Door Lock Switch -- Right Rear Door, Left Similar
Figure 7:

Right Front Door Trim Panel


Object Number: 701484  Size: MF
(1)Door Lock Switch-Front Passenger
(2)Courtesy Lamp-Right Front Door
(3)Window Switch-Front Passenger
(4)Air Temperature Switch Assembly-Right
Figure 8:

Driver Power Window Motor


Object Number: 701499  Size: LF
(1)Window Motor-Driver, Front Passenger Similar