GM Service Manual Online
For 1990-2009 cars only
Makes
🢒
Oldsmobile
🢒
2002
🢒
Aurora
🢒
Body and Accessories
🢒
Doors
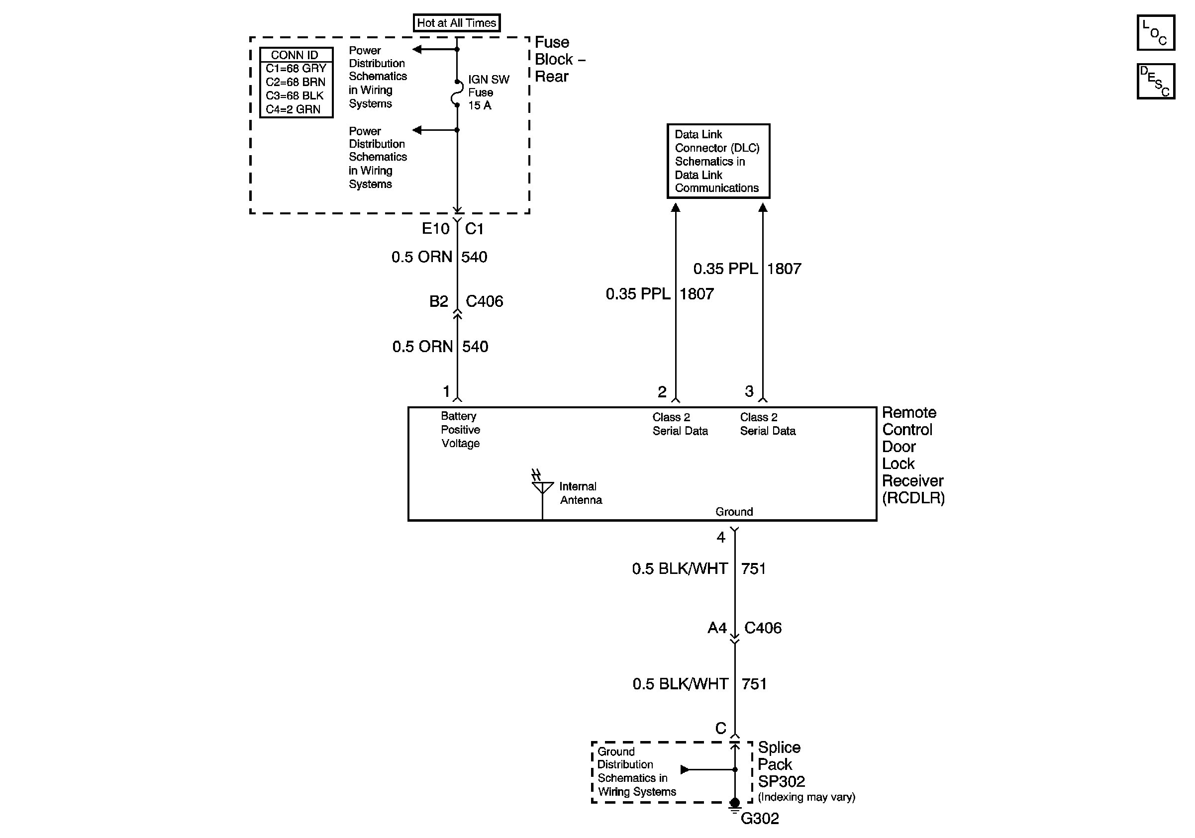
🢒 Keyless Entry Schematics
Master Electrical Component List
G302
IGN SW Fuse (Fuse Block-Rear)
Battery Feed to the Fuse Block-Rear
Serial Data Class 2