GM Service Manual Online
For 1990-2009 cars only
Figure 1:

Power and Grounds


Object Number: 765482  Size: FS
Master Electrical Component List
Radio/Audio System Description and Operation
Navigation System
Remote Playback Device (CD Changer)
Serial Data Class 2
Instrument Panel/Console Dimming
G300 and G301 (1 of 2)
G201 (1 of 2)
G201 (1 of 2)
G300 and G301 (1 of 2)
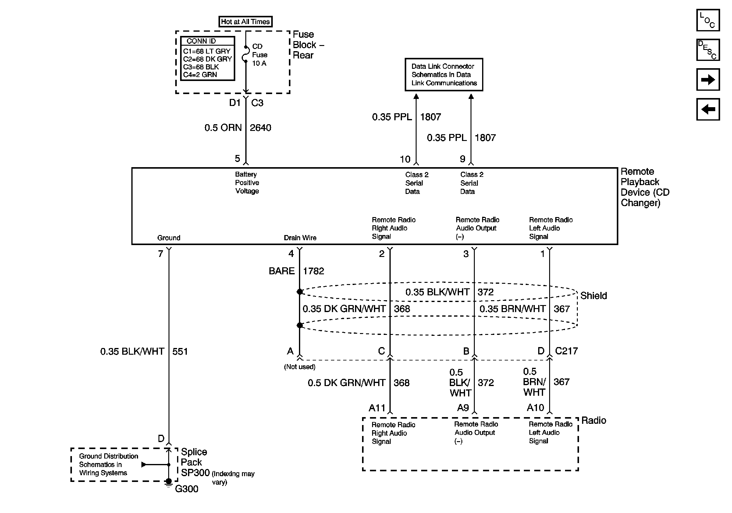
Figure 2:

Remote Playback Device (CD Changer)


Object Number: 765491  Size: FS
Master Electrical Component List
Radio/Audio System Description and Operation
Speaker Output
Power and Grounds
Serial Data Class 2
G300 and G301 (1 of 2)
G300
Figure 3:

Speaker Output


Object Number: 765493  Size: FS
Master Electrical Component List
Radio/Audio System Description and Operation
Radio Output (U80)
Remote Playback Device (CD Changer)
Figure 4:

Radio Output (U80)


Object Number: 765495  Size: FS
Master Electrical Component List
Radio/Audio System Description and Operation
Front Speakers (U80)
Speaker Output
Figure 5:

Front Speakers (U80)


Object Number: 765496  Size: FS
Master Electrical Component List
Radio/Audio System Description and Operation
Rear Speakers (U80)
Radio Output (U80)
Figure 6:

Rear Speakers (U80)


Object Number: 400073  Size: FS
Master Electrical Component List
Radio/Audio System Description and Operation
Radio Antenna Module
Front Speakers (U80)
Figure 7:

Radio Antenna Module


Object Number: 765497  Size: FS
Master Electrical Component List
Radio/Audio System Description and Operation
Rear Speakers (U80)