GM Service Manual Online
For 1990-2009 cars only
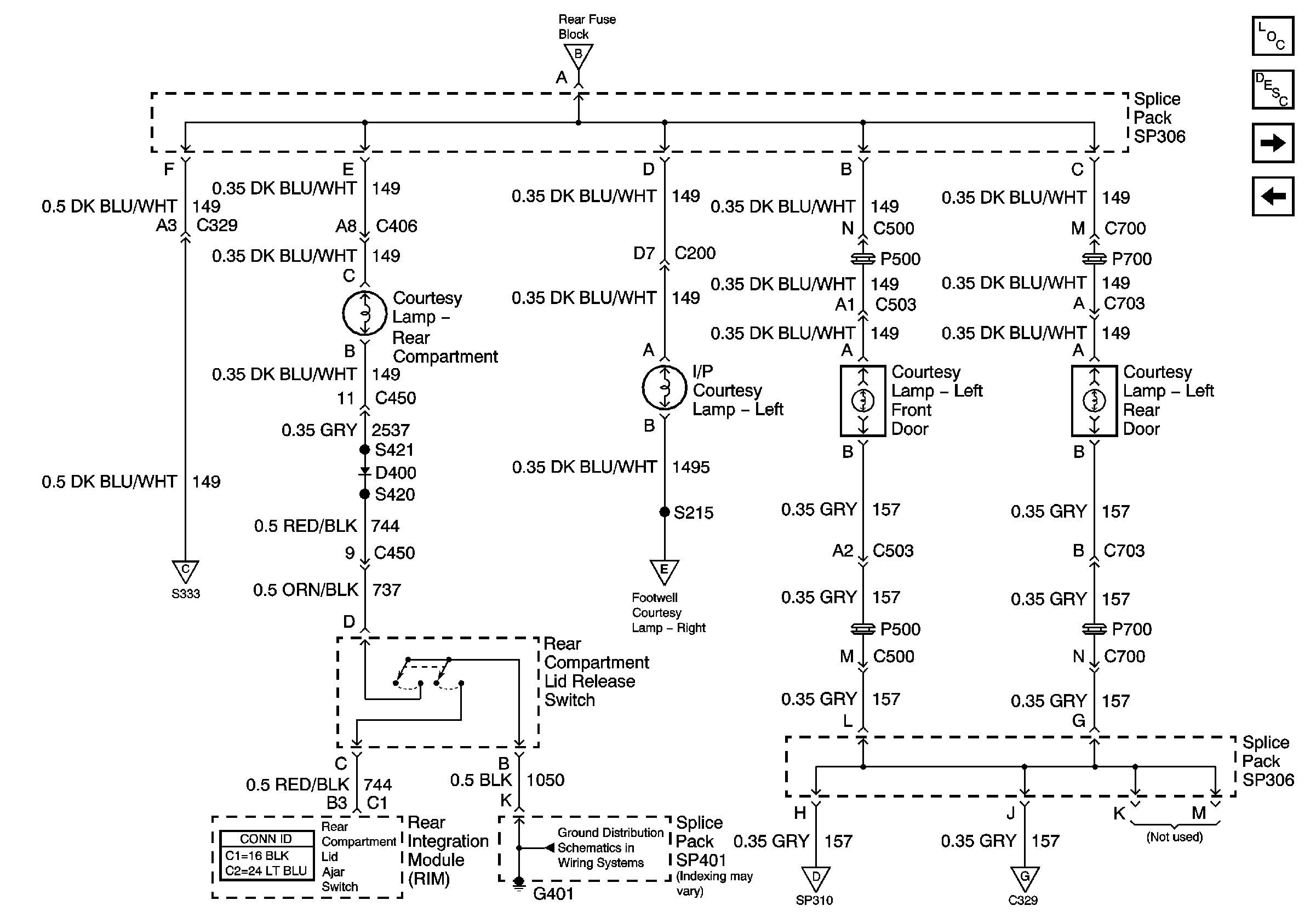
Figure 1:

Interior and Front Courtesy Lamp Relays


Object Number: 765469  Size: FS
Master Electrical Component List
Interior Lighting Systems Description and Operation
Door Lock Actuators
Courtesy Lamps-Right
Courtesy Lamps-Left
Courtesy Lamps-Left
Courtesy Lamps-Right
Serial Data Class 2
G302
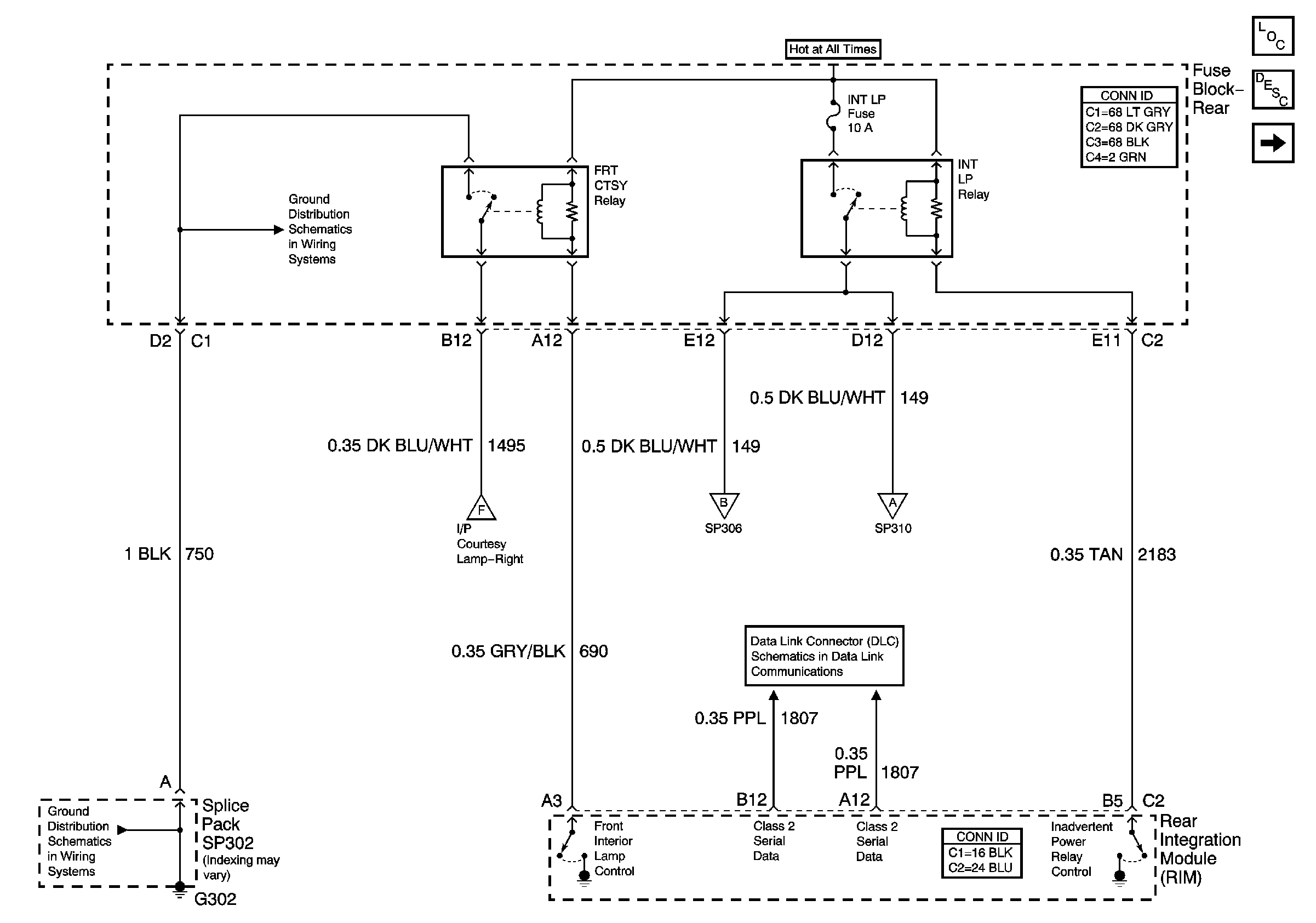
Figure 2:

Door Lock Actuators


Object Number: 634868  Size: FS
Serial Data Class 2
Power Door Serial Data
Master Electrical Component List
Interior Lighting Systems Description and Operation
Courtesy Lamps-Left
Interior and Front Courtesy Lamp Relays
Figure 3:

Courtesy Lamps-Left


Object Number: 765472  Size: FS
Master Electrical Component List
Interior Lighting Systems Description and Operation
Courtesy Lamps-Right
Door Lock Actuators
Interior and Front Courtesy Lamp Relays
Overhead Reading, Courtesy, and Vanity Mirror Lamps
Interior and Front Courtesy Lamp Relays
G401 (1 of 2)
Courtesy Lamps-Right
Overhead Reading, Courtesy, and Vanity Mirror Lamps
Figure 4:

Courtesy Lamps-Right


Object Number: 765475  Size: FS
Master Electrical Component List
Interior Lighting Systems Description and Operation
Overhead Reading, Courtesy, and Vanity Mirror Lamps
Courtesy Lamps-Left
Battery Feed to the Fuse Block-Rear
Interior and Front Courtesy Lamp Relays
HVAC BLO, AUDIO, IP Fuses (Fuse Block-Rear)
Interior and Front Courtesy Lamp Relays
G201 (1 of 2)
G201 (1 of 2)
Courtesy Lamps-Left
Figure 5:

Overhead Reading, Courtesy, and Vanity Mirror Lamps


Object Number: 397814  Size: FS
Master Electrical Component List
Interior Lighting Systems Description and Operation
Courtesy Lamps-Right
Courtesy Lamps-Left
Courtesy Lamps-Left
G402
G402