GM Service Manual Online
For 1990-2009 cars only
Table 1: Door Lock Cylinder Switch - Driver
Table 2: Theft Deterrent Control Module
Table 3: Theft Deterrent Exciter Module

Door Lock Cylinder Switch - Driver


Object Number: 35437  Size: CH

Connector Part Information

    • 12052642
    • 2-Way F Metri-Pack 150 Series Sealed (GRN)

Pin

Wire Color

Circuit No.

Function

A

LT GRN

262

Driver Door Key Switch Signal

B

BLK/WHT

351

Ground

Theft Deterrent Control Module


Object Number: 62464  Size: CH

Connector Part Information

    • 12064769
    • 10-Way Metri-Pack 150 Series (NAT)

Pin

Wire Color

Circuit No.

Function

A

ORN

240

Battery Positive Voltage

B

YEL

1836

Security System Sensor Signal

C

WHT

1459

Security System Sensor Supply Voltage

D

PPL

1807

Class 2 Serial Data-Primary

E

PPL

1807

Class 2 Serial Data-Primary

F

WHT

1390

Off/Run/Crank Voltage

G

--

--

Not Used

H

BLK/WHT

451

Ground

J

BLK

1835

Security System Sensor Low Reference

K

--

--

Not Used

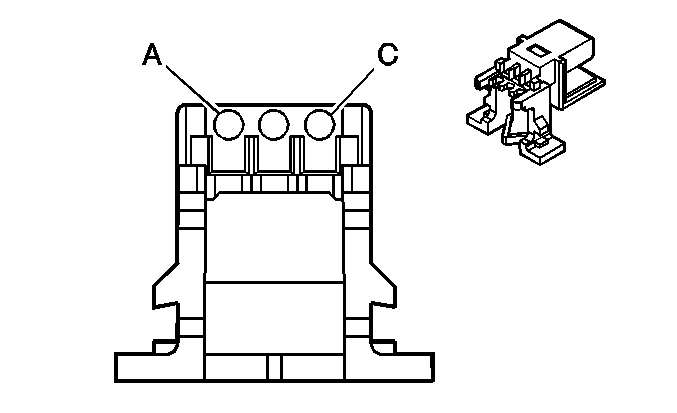
Theft Deterrent Exciter Module


Object Number: 325539  Size: CH

Connector Part Information

    • 12191747
    • 3-Way F Micro-Pack 064 Series Sealed (BLK)

Pin

Wire Color

Circuit No.

Function

A

WHT

1459

Security System Sensor Supply Voltage

B

YEL

1836

Security System Sensor Signal

C

BLK

1835

Security System Sensor Low Reference