GM Service Manual Online
For 1990-2009 cars only

Info - Newly Desgined Transaxle Valve Body and Oil Pump Service Information

Subject:Newly Designed Transaxle Valve Body and Oil Pump Service Information

Models: 2002-2003 Buick Century, LeSabre, Park Avenue, Regal, Rendezvous
2002-2003 Chevrolet Impala, Monte Carlo, Venture
2002-2003 Oldsmobile Aurora, Silhouette
2002-2003 Pontiac Aztek, Bonneville, Grand Prix, Montana
With 4T65E Transaxles, RPOs MN3, MN7, M15, M76



During the months of June and July of 2002, 2002 and 2003 model year 4T65E transaxles were produced with two different valve body and pump assemblies. When servicing these transaxles, the design of the valve body determines which pump assembly must be installed.

A physical inspection of the ID Tag is necessary to get the proper update level before ordering components for these transaxles.


Object Number: 828628  Size: SF

Number 7 in the illustration is the update level.

Broadcast Code

Update Level

Pump Style

All 2002 models except 2BCB, 2RNB

Less than 7

Two piece

2BCB

Less than 4

Two piece

2RNB

Less than 4

Two piece

All 2002 models except 2BCB, 2RNB

7

Three piece

2BCB

4

Three piece

2RNB

4

Three piece

All 2003 models except 3BCB

Less than 3

Two piece

3BCB

4

Two piece

All models except 3BCB

3 and greater

Three piece

3BCB

Greater than 4

Three piece


Object Number: 982181  Size: MF
    • The valve body assembly with a pump rotor support requires the 2 piece pump assembly. In the illustration above, the arrow points to the rotor support.
    • A new design valve body assembly without the pump rotor support requires the new 3 piece pump assembly.

Object Number: 995659  Size: MF
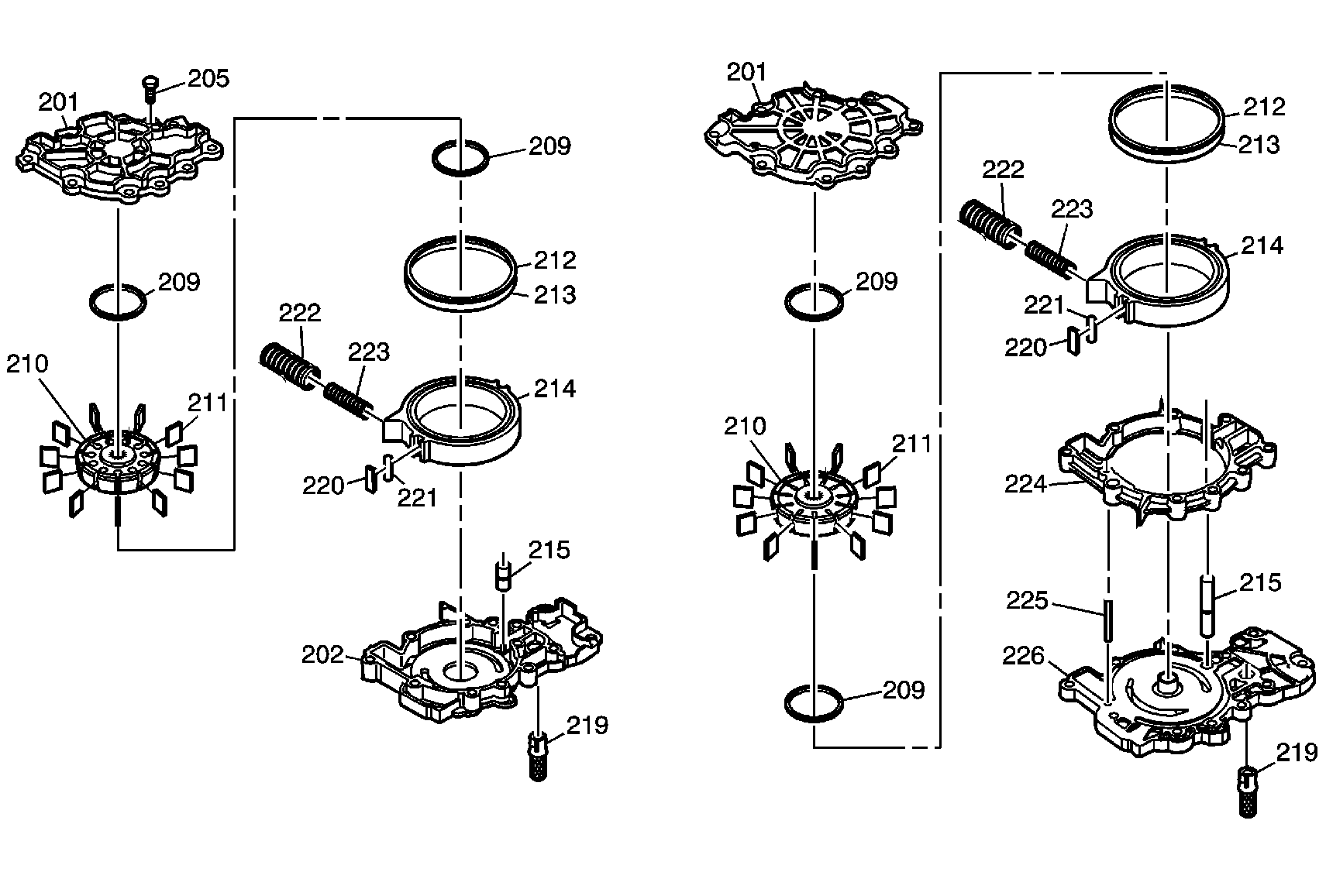
    • The 2 piece style pump with the two piece housing (201, 202) is shown on the left.
    • The 3 piece style pump with the three piece housing (201, 224 and 226) is shown on the right.

Object Number: 1014300  Size: MF
    • The left illustration is of the 2002 and prior assemblies with the 2 piece pump assembly, valve body and previous transmission fluid pressure (TFP 395) switch.
    • The right illustration is of late 2002 assemblies with the new 3 piece pump assembly, valve body and the previous style transmission fluid pressure (TFP 395) switch.

Object Number: 982265  Size: MF
    • The left illustration is of early 2003 transaxles with the 2 piece pump assembly, valve body and new transmission fluid pressure (TFP 395) switch.
    • The right illustration is of 2003 transaxles with the 3 piece pump assembly, valve body and new transmission fluid pressure (TFP 395) switch.

These components, valve body and pump assembly, cannot be mixed. When replacing parts, replace with the same style as you removed.