GM Service Manual Online
For 1990-2009 cars only
Makes
🢒
Oldsmobile
🢒
2002
🢒
Aurora
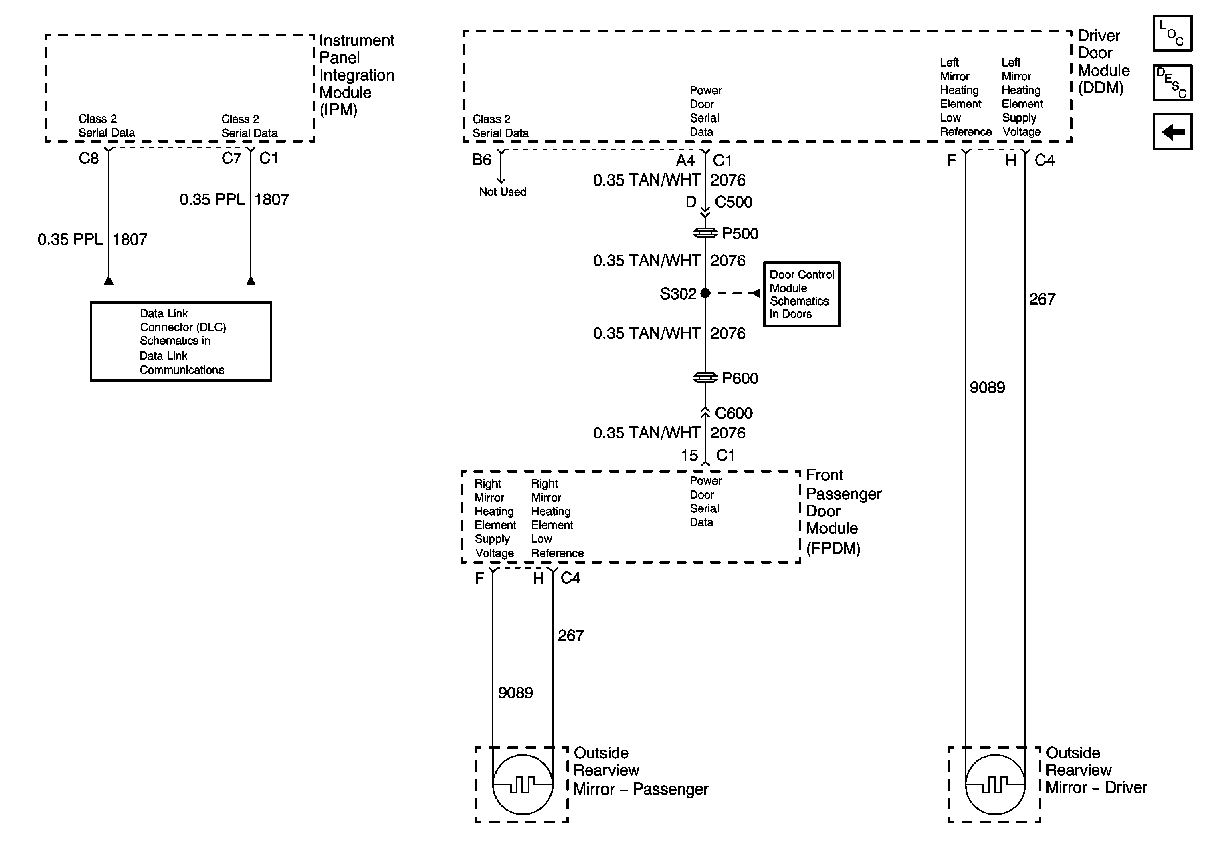
🢒 Heated Mirrors
Heated Mirrors
Heated Mirrors
Front Passenger Outside Rearview Mirror (W/A45)
Power Door Serial Data
Master Electrical Component List
Outside Mirror Description and Operation
Serial Data Class 2