GM Service Manual Online
For 1990-2009 cars only
Makes
🢒
Oldsmobile
🢒
2002
🢒
Aurora
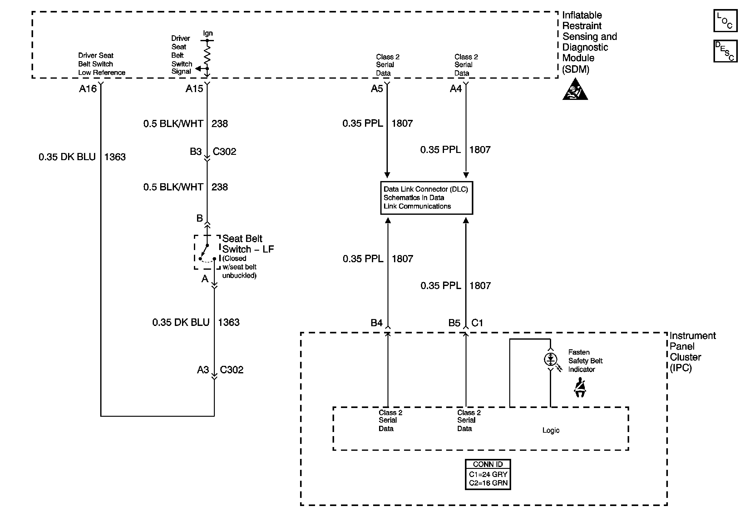
🢒 Seat Belt Schematics
Seat Belt Schematics
Serial Data Class 2
Master Electrical Component List
Seat Belt System Description and Operation