GM Service Manual Online
For 1990-2009 cars only

Disassembly Procedure


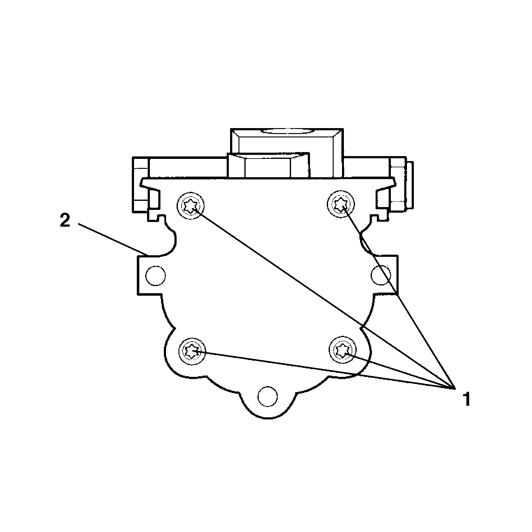
    Object Number: 295819  Size: SH
  1. Remove the mounting bracket bolts (3) from the mounting bracket assembly (2).
  2. Remove the mounting bracket assembly (2) from the pump (1).

  3. Object Number: 609063  Size: SH
  4. Remove retaining clips (2) from the reservoir assembly (1) by inserting a screwdriver into the release clip tang. Tap the clip off with a hammer.

  5. Object Number: 295822  Size: SH
  6. Remove reservoir (1) from the hydraulic pump housing (3).
  7. Remove the O-ring seal (2) from the reservoir (1).
  8. Discard the O-ring seal (2).

Assembly Procedure

    Notice: Refer to Fastener Notice in the Preface section.


    Object Number: 295823  Size: SH
  1. Check the TORX® head bolts (1) on the hydraulic pump housing (2) for tightness.
  2. Tighten
    Tighten the TORX® head bolts (1) to 20-25 N·m (15-18 lb ft).


    Object Number: 295825  Size: SH
  3. Check the valve bore plug (1) and the O-ring union fitting.
  4. Tighten
    Tighten the valve bore plug (1) to 50-60 N·m (37-44 lb ft).


    Object Number: 295827  Size: SH
  5. Lubricate the new O-ring seal (2) with power steering fluid.
  6. Connect the O-ring seal (2) to the reservoir (1).

  7. Object Number: 295828  Size: SH

    Important: Align the mounting hole on the reservoir (2) correctly with the hole on the top of the pump housing assembly (3) to prevent damage.

  8. Connect the reservoir assembly (1) to the hydraulic pump housing (4).

  9. Object Number: 295829  Size: SH

    Important: Make sure the retaining clip (2) is fully seated on the reservoir assembly (1), so the reservoir assembly (1) and the pump housing (3) are securely fastened.

  10. Tap retaining clips (2) with a hammer.

  11. Object Number: 295819  Size: SH
  12. Attach the pump (1) to the mounting bracket assembly (2).
  13. Tighten
    Tighten the mounting bracket bolts (3) to 28-38 N·m (21-28 lb ft).