GM Service Manual Online
For 1990-2009 cars only
Makes
🢒
Oldsmobile
🢒
2003
🢒
Aurora
🢒
Body and Accessories
🢒
Navigation Systems
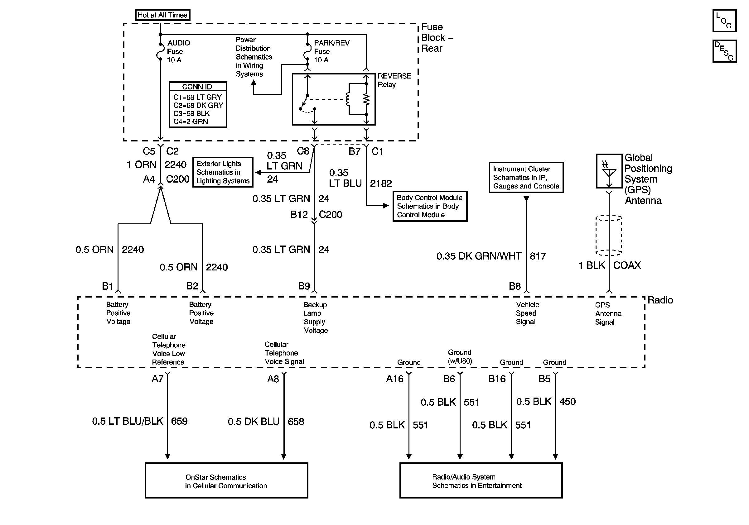
🢒 Navigation System Schematics
RIM Inputs/Outputs (2 of 2)
Master Electrical Component List
Gauges
Backup Lamps
Keyboard Microphone Signals
Audio System Power and Grounds