GM Service Manual Online
For 1990-2009 cars only
Figure 1:

Front Passenger Window Switch and Window Motor


Object Number: 621086  Size: FS
Master Electrical Component List
Power Windows Description and Operation
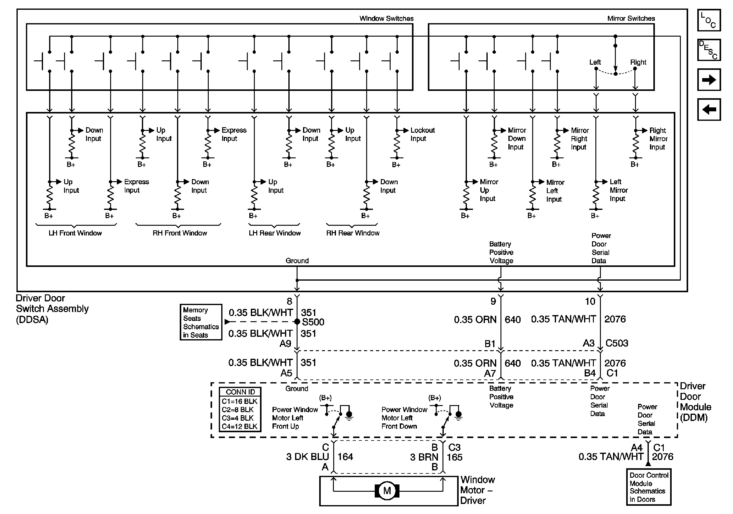
Driver Door Switch Assembly
Power Door Serial Data
Front Door Dimming
Figure 2:

Driver Door Switch Assembly


Object Number: 621088  Size: FS
Master Electrical Component List
Power Windows Description and Operation
Right Rear Window Switch and Window Motor
Front Passenger Window Switch and Window Motor
Power Door Serial Data
Memory Function Switch
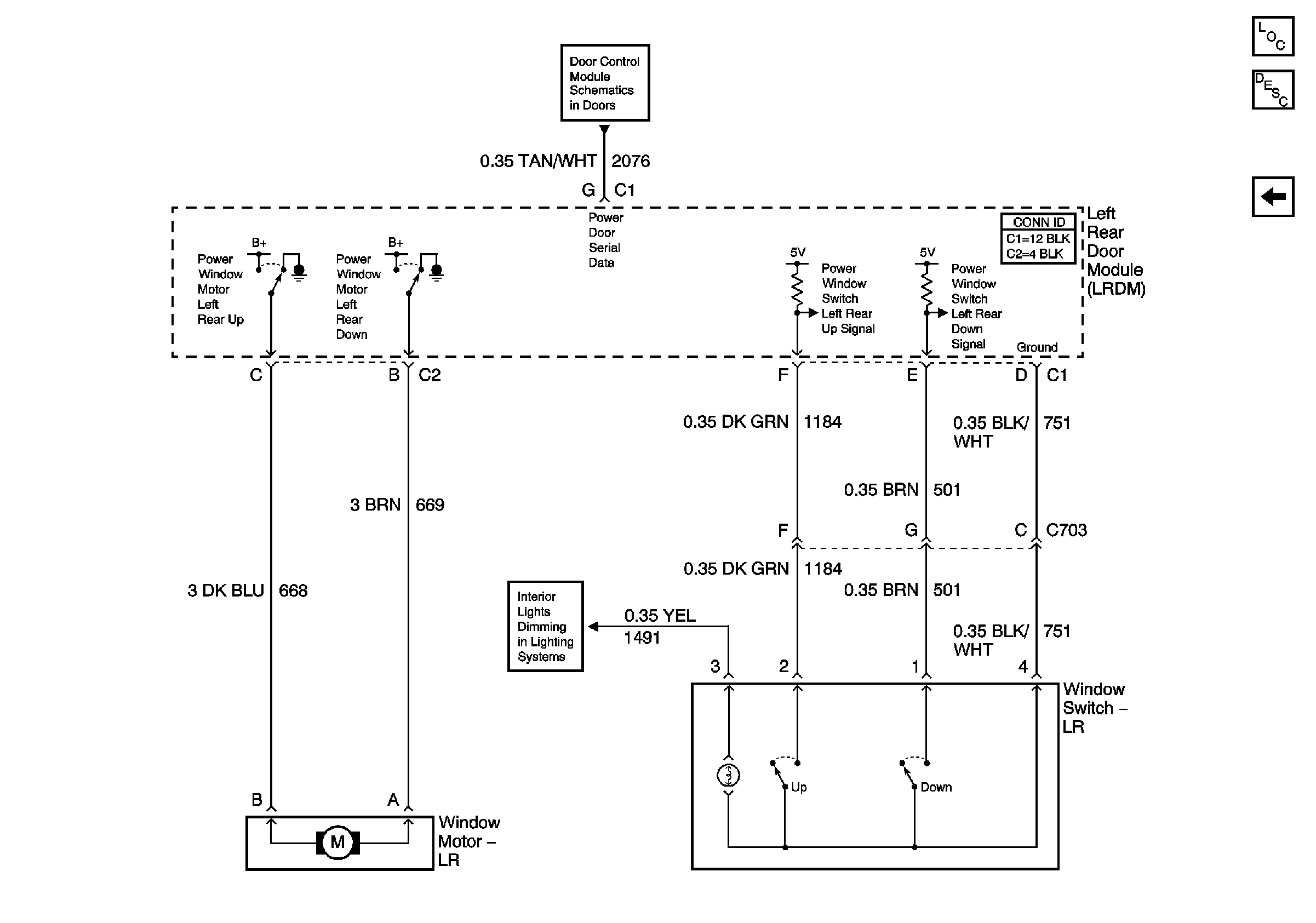
Figure 3:

Right Rear Window Switch and Window Motor


Object Number: 621089  Size: FS
Master Electrical Component List
Power Windows Description and Operation
Left Rear Window Switch and Window Motor
Driver Door Switch Assembly
Power Door Serial Data
Rear Door Dimming
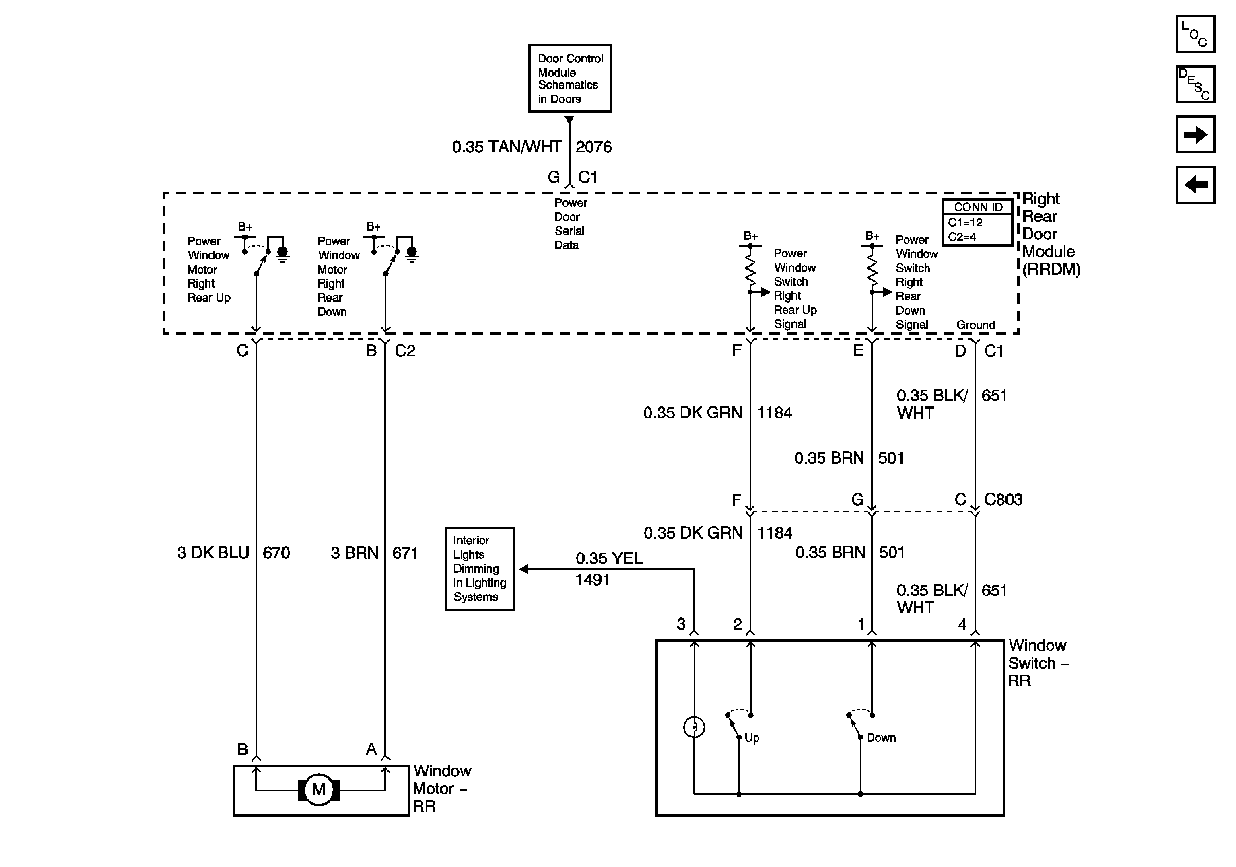
Figure 4:

Left Rear Window Switch and Window Motor


Object Number: 621084  Size: FS
Master Electrical Component List
Power Windows Description and Operation
Right Rear Window Switch and Window Motor
Power Door Serial Data
Rear Door Dimming