GM Service Manual Online
For 1990-2009 cars only
Figure 1:

Driver Outside Rearview Mirror


Object Number: 621096  Size: FS
Outside Mirror Description and Operation
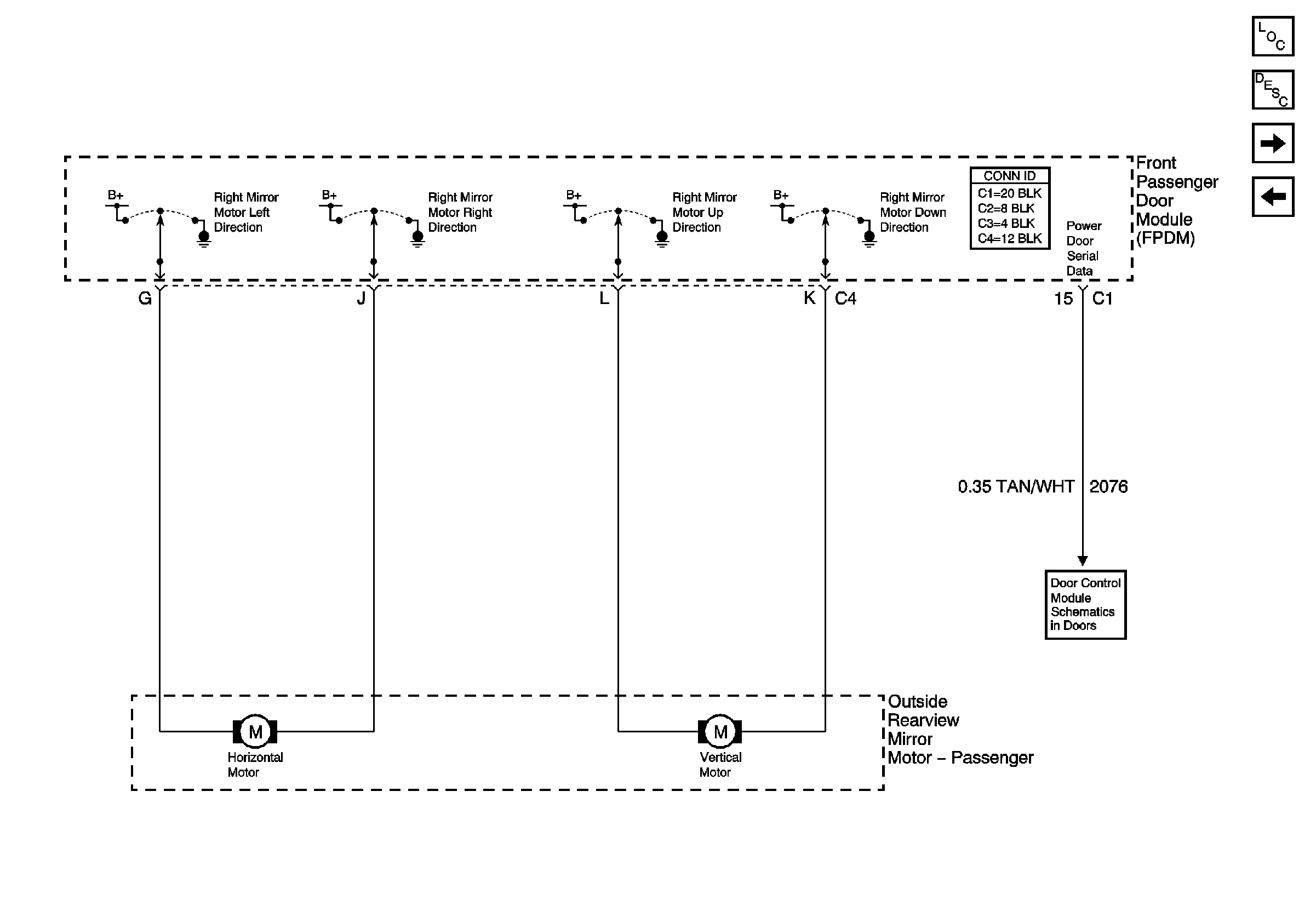
Front Passenger Outside Rearview Mirror
Power Door Serial Data
Master Electrical Component List
Figure 2:

Front Passenger Outside Rearview Mirror


Object Number: 621097  Size: FS
Outside Mirror Description and Operation
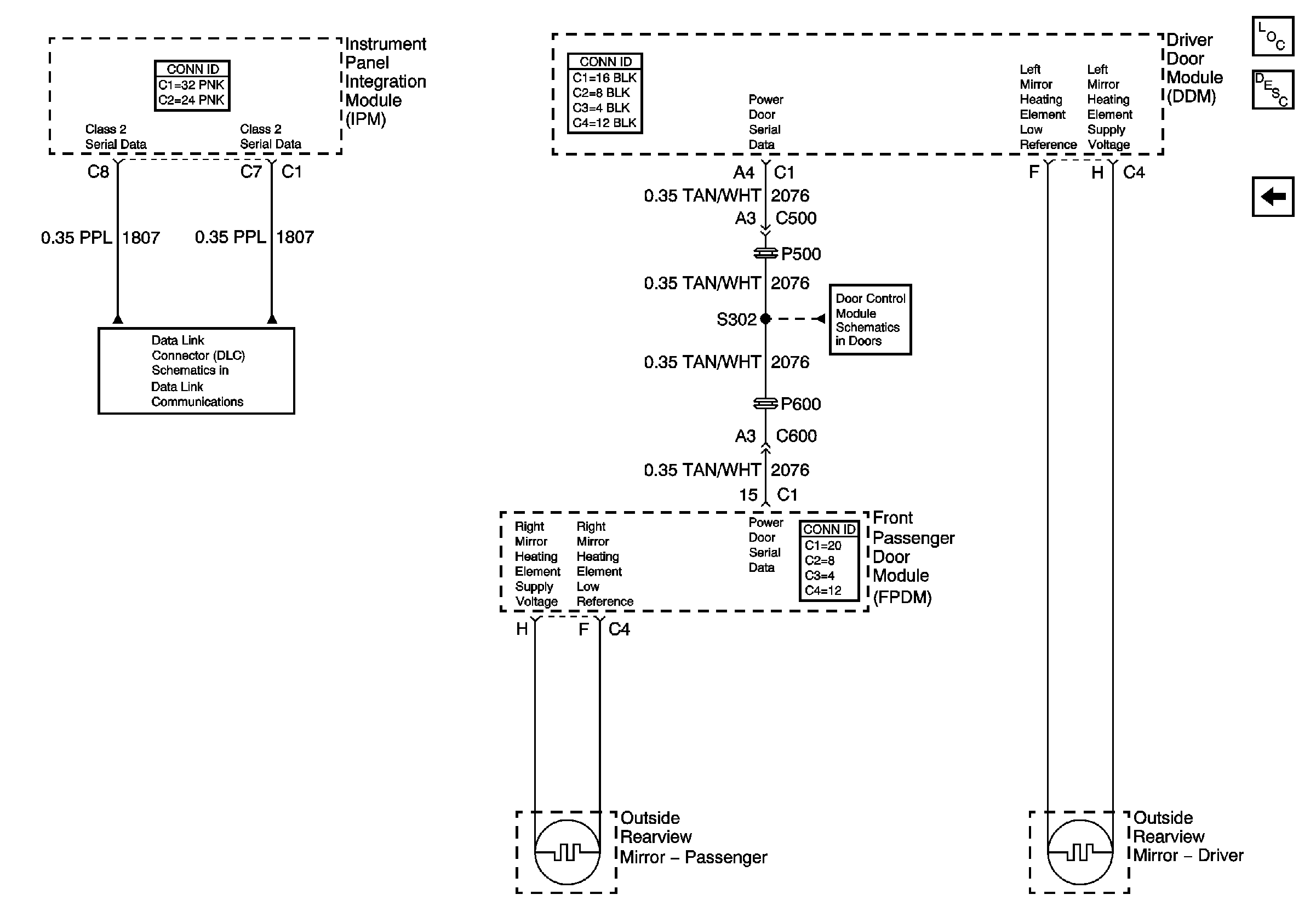
Driver Outside Rearview Mirror (w/A45)
Driver Outside Rearview Mirror
Power Door Serial Data
Master Electrical Component List
Figure 3:

Driver Outside Rearview Mirror (W/A45)


Object Number: 621099  Size: FS
Outside Mirror Description and Operation
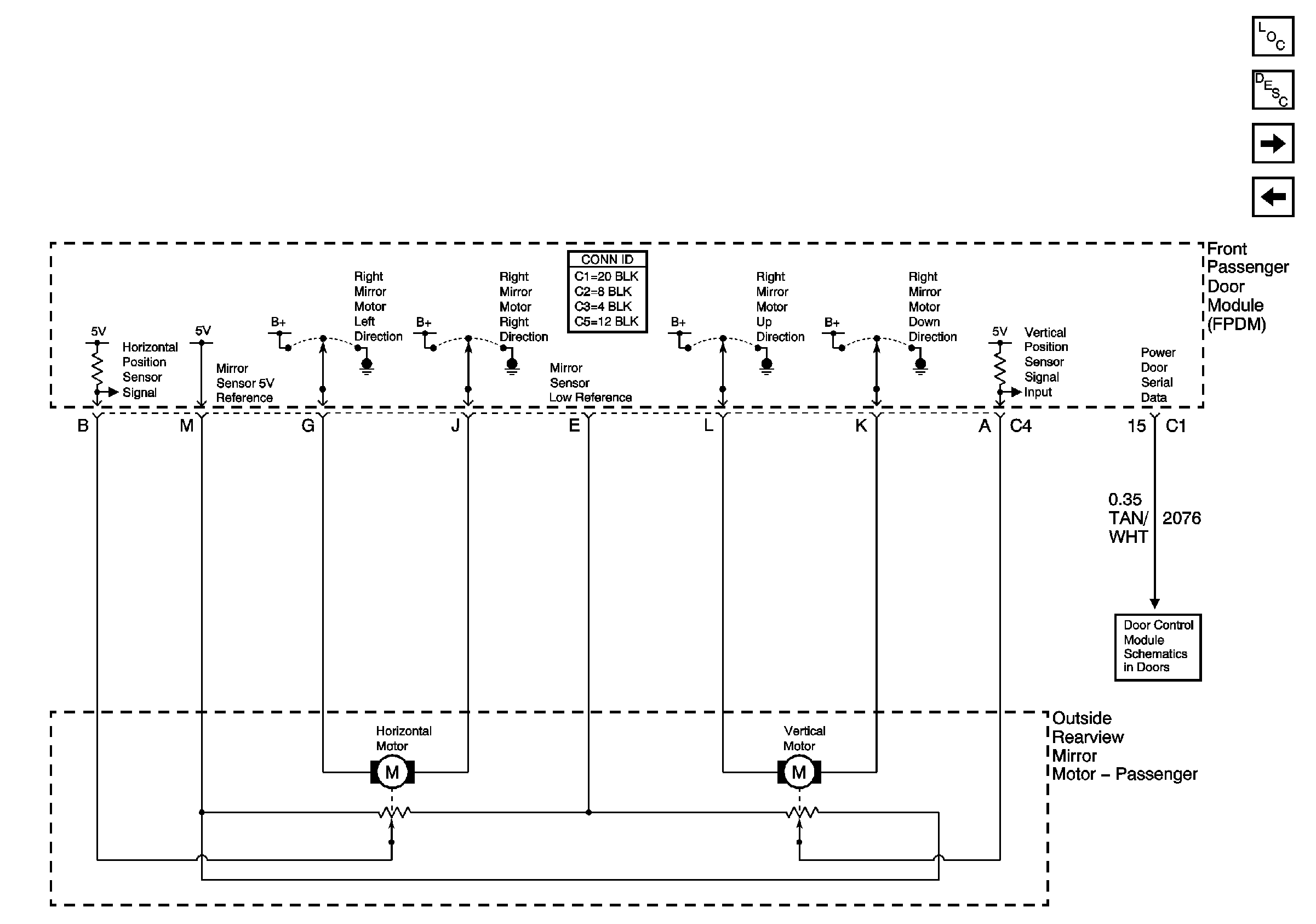
Front Passenger Outside Rearview Mirror (W/A45)
Front Passenger Outside Rearview Mirror
Power Door Serial Data
Master Electrical Component List
Figure 4:

Front Passenger Outside Rearview Mirror (W/A45)


Object Number: 621100  Size: FS
Heated Mirrors
Outside Mirror Description and Operation
Driver Outside Rearview Mirror (W/A45)
Power Door Serial Data
Master Electrical Component List
Figure 5:

Heated Mirrors


Object Number: 765556  Size: FS
Front Passenger Outside Rearview Mirror (W/A45)
Power Door Serial Data
Master Electrical Component List
Outside Mirror Description and Operation
Serial Data Class 2