GM Service Manual Online
For 1990-2009 cars only

    Object Number: 11846  Size: SH
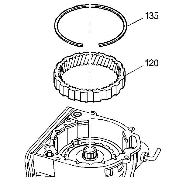
  1. Install the final drive internal gear (120) with the groove up.
  2. Install the final drive internal gear snap ring (135) flat side down.

  3. Object Number: 11926  Size: SH
  4. The final drive internal gear snap ring (135) opening should be in the actuator rod area. Set the final drive internal gear snap ring (135) in place with a light tap on a punch.