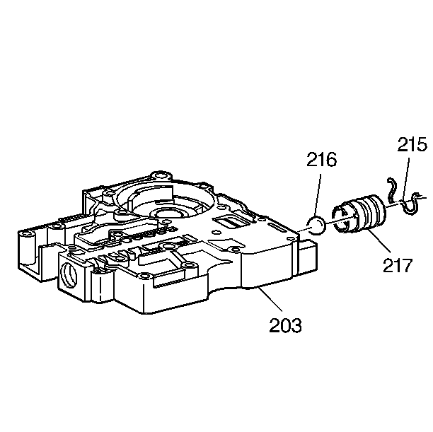
| • | The retainer clip (215) |
| • | The pump ball seat (217) |
| • | The cut off ball (216) |
| • | The retainer clip (215) |
| • | The pressure regulator boost valve sleeve (214) |
| • | The pressure regulator boost valve (213) |
| • | The pressure regulator valve spring (212) |
| • | The pressure regulator spring retainer (210) |
| • | The pressure regulator valve (211) |