GM Service Manual Online
For 1990-2009 cars only

Installation Procedure

Tools Required

J 41364-A PNP Switch Adjusting Tool


    Object Number: 658997  Size: SH
  1. Make sure the selector shaft is in the N (Neutral) position as follows:
  2. • Place a wrench on the selector shaft flats and rotate the shaft to its furthest clockwise position.
    • Rotate the selector shaft counter-clockwise two detents.

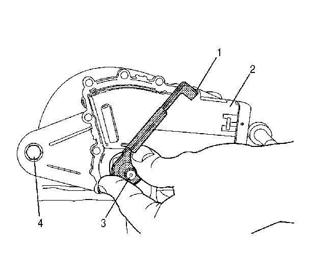
    Object Number: 659291  Size: SH
  3. Install J 41364-A (1) onto the PNP switch as illustrated onto PNP switch (2). If installing a new PNP switch be sure that the neutral assurance bracket is in the same position on PNP switch (2) as J 41364-A .

  4. Object Number: 659291  Size: SH
  5. Align the PNP switch (2) with the main housing so that the J 41364-A or neutral assurance bracket is facing outward.
  6. While maintaining the correct PNP switch-to-selector-shaft alignment, slide the new PNP switch (2) over selector shaft (3).
  7. Notice: Use the correct fastener in the correct location. Replacement fasteners must be the correct part number for that application. Fasteners requiring replacement or fasteners requiring the use of thread locking compound or sealant are identified in the service procedure. Do not use paints, lubricants, or corrosion inhibitors on fasteners or fastener joint surfaces unless specified. These coatings affect fastener torque and joint clamping force and may damage the fastener. Use the correct tightening sequence and specifications when installing fasteners in order to avoid damage to parts and systems.

  8. While holding J 41364-A or the neutral assurance bracket in engagement with the PNP switch, install the two bolts (4) so that the PNP switch may be rotated with some effort.
  9. Tighten
    Tighten the two bolts (6) to 27 N·m (20 lb ft).

  10. RemoveJ 41364-A .
  11. If using the neutral assurenace bracket, remove and discard the neutral assurance bracket.

  12. Object Number: 1283744  Size: SH
  13. Install dust shield (1) onto selector shaft (2).

  14. Object Number: 1217586  Size: SH

    Notice: 

       • DO NOT drive the selector lever onto the selector shaft.
       • DO NOT use an impact wrench in order to tighten the selector lever nut. Hold the lever with a wrench while tightening the nut.
       • Failure to follow these instructions may result in transmission damage.

    Notice: 

       • DO NOT drive the selector lever onto the selector shaft.
       • DO NOT use an impact wrench in order to tighten the selector lever nut. Hold the lever with a wrench while tightening the nut.
       • Failure to follow these instructions may result in transmission damage.

  15. Reinstall shift lever (1). Install nut (3), by hand, on the end of selector shaft (2). Use a wrench to keep the shift lever from rotating.
  16. Tighten
    Tighten nut (3) to 24 N·m (18 lb ft).