GM Service Manual Online
For 1990-2009 cars only
Makes
🢒
Oldsmobile
🢒
2003
🢒
Aurora
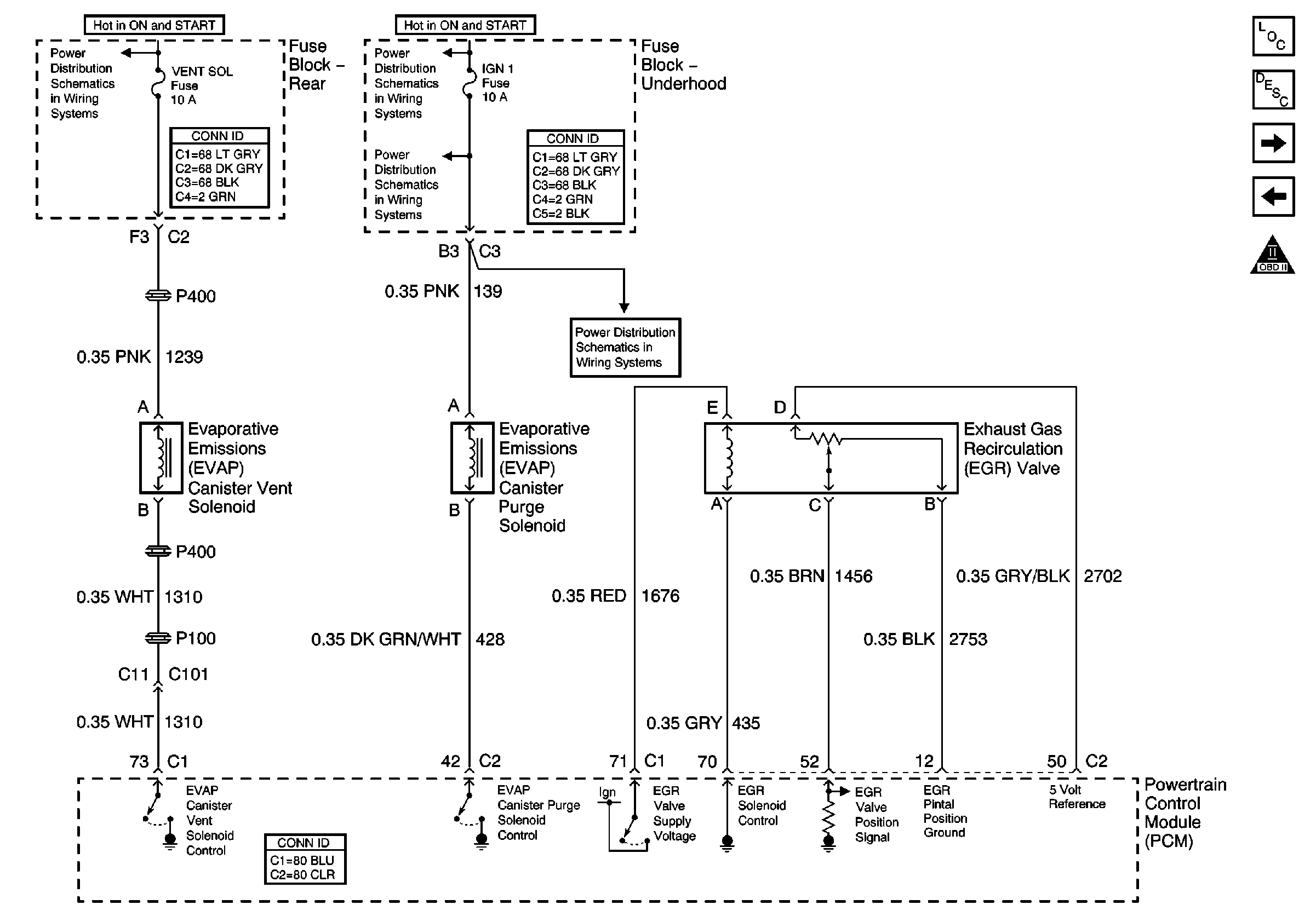
🢒 EVAP Vent Valve, EVAP Purge Solenoid, and EGR Valve
EVAP Vent Valve, EVAP Purge Solenoid, and EGR Valve
EVAP Vent Valve, EVAP Purge Solenoid, and EGR Valve
Master Electrical Component List
Exhaust Gas Recirculation (EGR) System Description
Oxygen Sensors
Sensors
OBD II Symbol Description Notice
L47 IGN 1, OXY SEN, DIS Fuses and IGN 1 Relay (Fuse Block-Underhood)
Battery Feed to the Fuse Block-Rear
L47 IGN 1, OXY SEN, DIS Fuses and IGN 1 Relay (Fuse Block-Underhood)
Battery Feed to the Fuse Block-Underhood
Battery Feed to the Fuse Block-Underhood