GM Service Manual Online
For 1990-2009 cars only
Makes
🢒
Oldsmobile
🢒
2003
🢒
Aurora
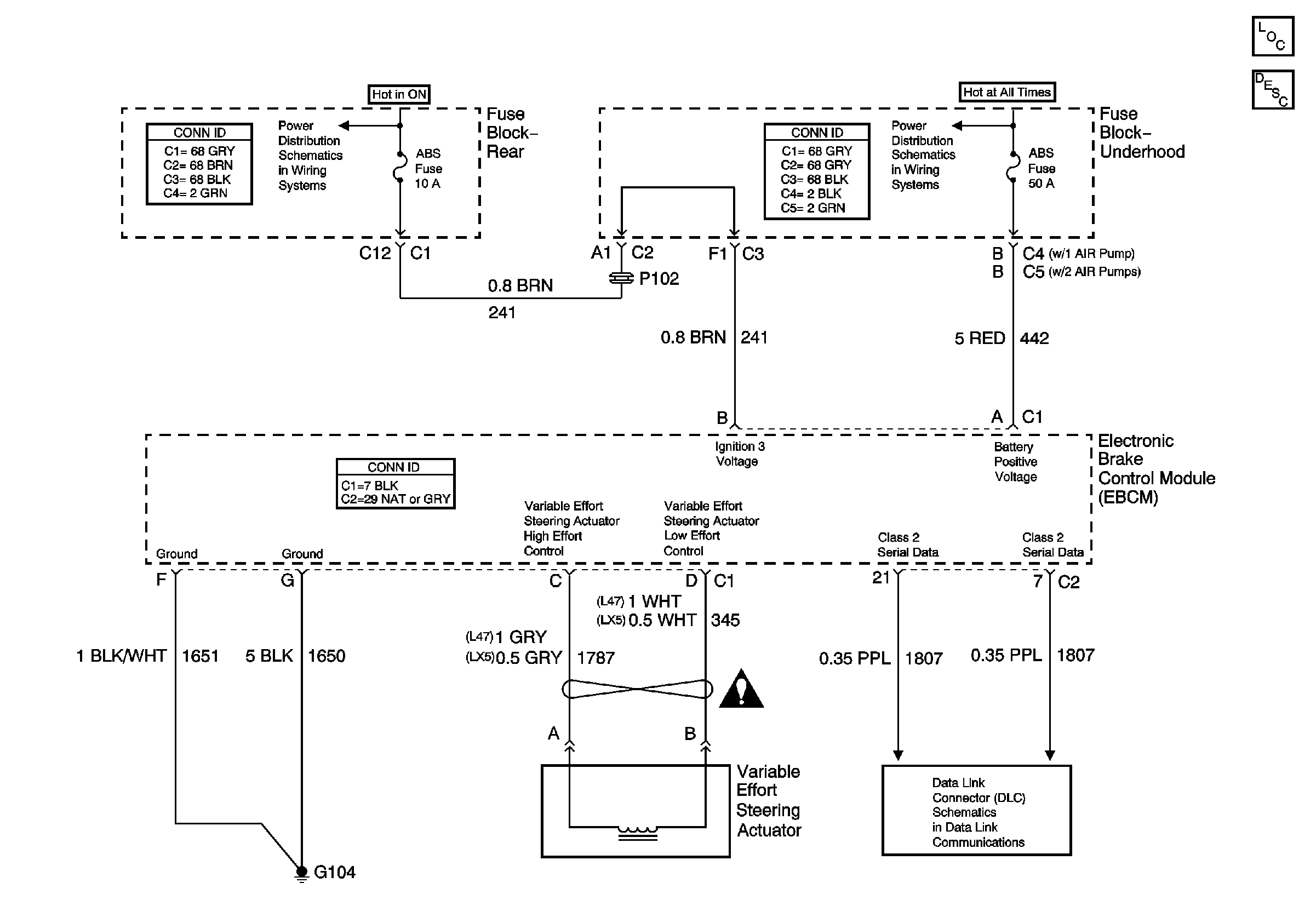
🢒 Steering Controls Schematics (w/NV8)
Steering Controls Schematics (w/NV8)
Steering Controls Schematics (w/NV8)
Master Electrical Component List
Variable Effort Steering System Description and Operation
Battery Feed to the Fuse Block-Rear
Car Battery Feed to the Fuse Block-Underhood
Internal Mode Switch Inputs
Steering Assist Schematic Icons