GM Service Manual Online
For 1990-2009 cars only
Table 1: WSS Temperature vs. Sensor Resistance (S-Pickup only)
Table 2: WSS Temperature vs. Sensor Resistance (S-Utility and T-Truck)

Object Number: 184003  Size: MF
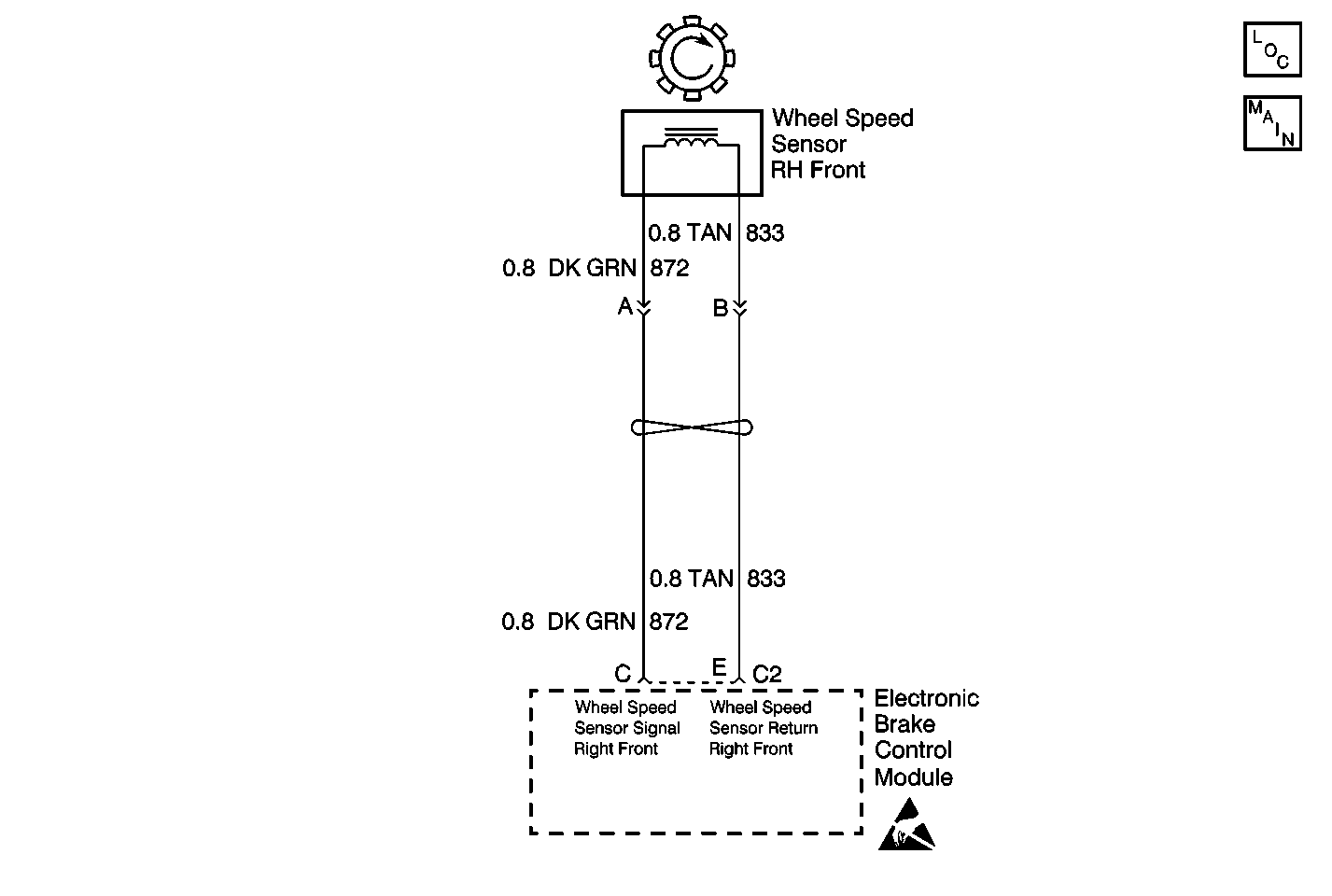
ABS Components
Antilock Brake System Schematics

Circuit Description

The wheel speed sensor coil emits an electromagnetic field. A toothed ring on the wheel passes by the wheel speed sensor and disrupts this electromagnetic field. The disruption in the field causes the wheel speed sensor to produce a sinusoidal (AC) voltage signal. The frequency and amplitude of the sinusoidal (AC) voltage signal are proportional to the speed of the wheel. The amplitude of the wheel speed signal is also directly related to the distance between the wheel speed sensor coil and the toothed ring. This distance is referred to as the air gap.

Conditions for Setting the DTC

    • The average wheel speed for all wheel signals is greater than 40 km/h (25 mph).
    • The average right front wheel speed is greater than 40 km/h (25 mph).
    • No speed signal input to the EBCM from the right front wheel speed sensor for 15ms. Anything which suddenly prevents (intermittent) the right front wheel speed signal to drop to zero while the vehicle is moving greater than 40 km/h (25 mph).

Action Taken When the DTC Sets

    • The ABS indicator lamp turns on
    • The ABS disables

DTC C0223 is a Condition Latched DTC, which indicates that the above actions remain true only as long as the condition persists.

Conditions for Clearing the DTC

    • Repair the conditions responsible for setting the DTC.
    • Use the Scan Tool clear DTCs function.

Diagnostic Aids

Any of the following conditions may cause an intermittent malfunction:

    • A poor connection
    • Wire insulation that is rubbed through
    • A wire breaks inside the insulation

Thoroughly check any circuitry that is suspected of causing the intermittent complaint for the following conditions:

    • Backed out terminals
    • Improper mating
    • Broken locks
    • Improperly formed or damaged terminals
    • Poor terminal to wiring connections
    • Physical damage to the wiring harness

If the customer says that the ABS indicator lamp is on only during humid conditions such as rain, snow, or vehicle wash, then thoroughly inspect all wheel speed sensor circuits for signs of water intrusion. Use the following procedure:

  1. Spray the suspected area with a 5% salt water solution (two teaspoons of salt to 12 oz. of water).
  2. Drive the vehicle above 24 km/h (15 mph) for at least 30 seconds.

If the DTC returns, replace the suspected harness.

When inspecting a wheel speed sensor, inspect the sensor terminals and the harness connector for corrosion. If evidence of corrosion exists, then replace the wheel speed sensor. Refer to Wheel Speed Sensor Replacement .

Resistance of the wheel speed sensor will increase with an increase in sensor temperature. Refer to the following tables for temperature/resistance values.

WSS Temperature vs. Sensor Resistance (S-Pickup only)

°C

°F

Ohms

Temperature vs Resistance Values (Approximate)

-40 to 4

-40 to 40

3915 to 5820

5 to 43

41 to 110

4760 to 6800

44 to 93

111 to 200

5560 to 8040

94 to 150

201 to 302

6600 to 9406

WSS Temperature vs. Sensor Resistance (S-Utility and T-Truck)

°C

°F

Ohms

Temperature vs Resistance Values (Approximate)

-40 to 4

-40 to 40

920 to 1440

5 to 43

41 to 110

1125 to 1700

44 to 93

111 to 200

1305 to 2000

94 to 150

201 to 302

1530 to 2310

Test Description

The numbers below refer to the steps in the diagnostic table:

  1. This step checks the EBCM 4-way connector for looseness, corrosion, etc.

  2. This step uses the wheel speed sensor resistance check to help isolate an intermittent connection.

  3. This step checks the right front wheel speed sensor for the proper resistance.

  4. This step checks for proper mounting and orientation of the right front wheel speed sensor.

Step

Action

Value(s)

Yes

No

1

Was the Diagnostic System Check performed?

--

Go to Step 2

Go to A Diagnostic System Check

2

  1. Turn the ignition to OFF.
  2. Disconnect the 4-way EBCM harness connector from the EBCM and inspect for signs of damage or corrosion.
  3. Inspect the wheel speed sensor harness and sensor harness connector for signs of damage or corrosion.

Are all connections clean and tight?

--

Go to Step 3

Go to Step 6

3

Using a J 39200 , measure the resistance between terminals C and E of the 4-way EBCM harness connector. Wiggle the WSS harness in various locations between the sensor and the EBCM while performing this measurement.

Is the resistance measurement within the specified range without fluctuation when the harness is wiggled? (Refer to the WSS Temperature vs. Sensor Resistance tables for applicable sensor resistance values. The values in these tables are for the temperature of the sensor, not the air temperature.)

--

Go to Step 5

Go to Step 4

4

  1. Disconnect the wheel speed sensor from the wheel speed sensor harness connector.
  2. Using a J 39200 , measure the resistance between terminals A and B of the right front wheel speed sensor.

Is the resistance measurement within the specified range? (Refer to the WSS Temperature vs. Sensor Resistance tables for applicable sensor resistance values. The values in these tables are for the temperature of the sensor, not the air temperature.)

--

Go to Step 7

Go to Step 8

5

  1. Reconnect all connectors.
  2. Remove tire and wheel. Refer to Wheel Removal Wheel Removal
  3. Remove the hub and rotor. Refer to Brake Rotor Replacement (Front Wheel)
  4. Verify that the front wheel speed sensor is securely mounted and that the tone wheel (S-Pickups only) is in good condition.

Is the wheel speed sensor and tone wheel in good condition?

--

Go to Step 9

Go to Step 10

6

Make necessary repairs to the 4-way EBCM harness connector.

Is the repair complete?

--

Go to A Diagnostic System Check

--

7

Repair the open, high resistance or short in CKTs 833 or 872.

Is the repair complete?

--

Go to A Diagnostic System Check

--

8

Replace the right front wheel speed sensor.

Is the repair complete?

--

Go to A Diagnostic System Check

--

9

Malfunction is intermittent.

  1. Inspect all connectors for damage which may result in high resistance when all components are connected.
  2. Refer to Diagnostic aids for more information.

  3. Repair all damage found.

Is the repair complete?

--

Go to A Diagnostic System Check

--

10

Make necessary repairs.

Is the repair complete?

--

Go to A Diagnostic System Check

--