GM Service Manual Online
For 1990-2009 cars only

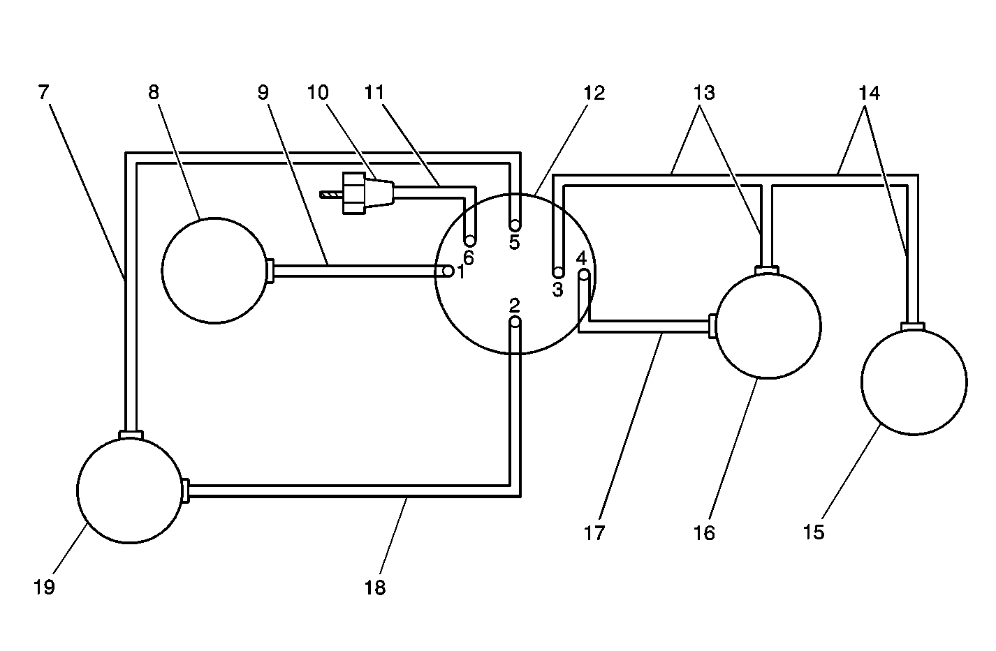
Vacuum Routing Diagram


Object Number: 619601  Size: MF
(1)Recirculate Air Inlet Port
(2)Heat Port
(3)Heat Mode Port
(4)A/C Mode Port (Vent Mode Port with RPO C42)
(5)Defrost Port
(6)Source Vacuum Port
(7)Vacuum Hose - Blue
(8)Recirculation Actuator
(9)Vacuum Hose - Orange
(10)Vacuum Source
(11)Vacuum Hose - Black
(12)Rotary Vacuum (Mode) Switch
(13)Vacuum Hose - Yellow
(14)Vacuum Hose - Gray
(15)Heater Slave Valve Actuator
(16)Mode Actuator
(17)Vacuum Hose - Brown
(18)Vacuum Hose - Red
(19)Defroster Actuator

Vacuum Supply (RPO C60 & C42)

Mode

Port 1

Port 2

Port 3

Port 4

Port 5

Port 6

DEFINITION: This table shows the state of the vacuum supply at the vacuum ports shown in the Vacuum Routing Diagram for each mode switch position. The port numbers are located on the vacuum rotary (mode) switch.

OFF

VENT

VAC

VAC

VENT

VENT

VAC

MAX (C60)

VAC

VAC

VENT

VAC

VENT

VAC

NORM (C60)

VENT

VAC

VENT

VAC

VENT

VAC

BI-LEV

VENT

VAC

VENT

VENT

VENT

VAC

VENT

VENT

VAC

VENT

VAC

VENT

VAC

HTR

VENT

VAC

VAC

VENT

VENT

VAC

BLEND

VENT

VENT

VAC

VENT

VENT

VAC

DEF

VENT

VENT

VAC

VENT

VAC

VAC

NOTE: No source vacuum, insufficient source vacuum, or an improperly routed vacuum supply will cause air delivery to be improper. Refer to Air Delivery Improper in Heating, Ventilation and Air Conditioning for proper diagnosis.