The battery rundown protection function allows the BCM to disable the following items for 20 minutes after the ignition switch is turned OFF:
| • | The courtesy lamps |
| • | The cargo lamps |
| • | The underhood lamp |
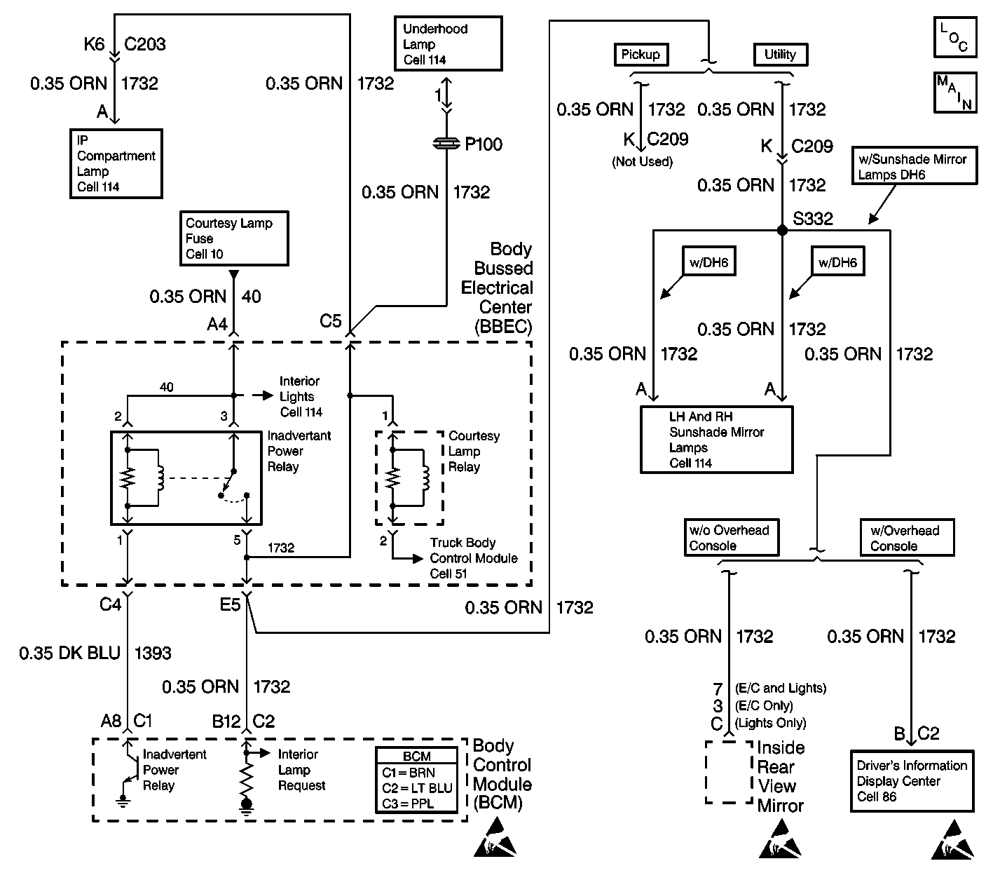
The BCM monitors the output of the inadvertent power relay on CKT 1732.
DTC B1480 will set when the following conditions exist:
| • | The BCM turns the relay ON. |
| • | The BCM does not detect voltage on CKT 1732. |
| • | DTC B1480 will set if the voltage on CKT 1732 is low when the BCM is commanding the relay control circuit to energize the inadvertent power relay. |
| • | The system voltage is between 9.0-16.0 volts. |
| • | The above conditions exist for 0.5 seconds. |
The following lamps will be disabled:
| • | The dome lamp |
| • | The glove box lamp |
| • | The reading lamps |
| • | The under hood lamp |
| • | The vanity lamps |
| • | DTC B1480 will clear immediately after the condition that sets the DTC is corrected. |
| • | A history DTC will clear after 100 consecutive ignition cycles without a fault present. |
| • | History and current DTCs can be cleared using a scan tool. |
| Important: Use the appropriate probe from the J 35616 connector test adapter kit for any probing of the bussed electrical centers (BECs) in this table. Use of the appropriate probe prevents damage to the BECs. |
| • | Always diagnose the first DTC that is listed on the scan tool. |
| • | Verify that the scan tool displays DTC B1480 as a current code before you perform diagnostics. |
| • | Inspect for loose or poor connections at all of the related components. |
| • | Refer to Wiring Systems for intermittent and poor connections. |
The numbers below refer to the step numbers on the diagnostic table.
This step tests the CTSY LP fuse.
This step determines if one of the following conditions exists:
| • | A short to ground on CKT 40 or CKT 1732 |
| • | An open circuit in the UBEC |
This step determines if the BCM is able to control the inadvertent power relay.
This step determines if one of the following conditions exists:
| • | CKT 1732 is open. |
| • | The BCM is unable to monitor voltage on CKT 1732. |
This step determines if CKT 40 is open.
This step determines if CKT 1393 is open between the inadvertent power relay and the BCM.
This step determines if CKT 1732 is open between the inadvertent power relay and the BCM.
Step | Action | Value(s) | Yes | No |
|---|---|---|---|---|
1 | Was the BCM Diagnostic System Check performed? | -- | Go to Step 2 | |
Use a test lamp in order to test both sides of the CTSY fuse to ground. Does the test lamp light on both sides of the fuse? | -- | Go to Step 6 | Go to Step 5 | |
3 | Does the test lamp light on one side of the fuse? | -- | Go to Step 4 | Go to Step 5 |
4 |
Is the repair complete? | -- | Go to Step 15 | -- |
5 | Replace the underhood bussed electrical center (UBEC). Is the repair complete? | -- | Go to Step 15 | -- |
Does the scan tool display DTC B1480? | -- | Go to Step 7 | Go to Step 15 | |
Does the J 39200 DMM display battery voltage? | -- | Go to Step 15 | Go to Step 8 | |
Does the J 39200 DMM display battery voltage at both of the cavities? | -- | Go to Step 9 | Go to Step 13 | |
Is the resistance within the specified range? | 0-5 ohms | Go to Step 10 | Go to Step 12 | |
Is the resistance within the specified range? | 0-5 ohms | Go to Step 14 | Go to Step 11 | |
11 | Locate and repair the open in CKT 1393 (DK BLU) between the BCM and the BBEC. Is the repair complete? | -- | Go to Step 16 | -- |
12 | Locate and repair the open in CKT 1732 (ORN) between the BCM and the BBEC. Is the repair complete? | -- | Go to Step 16 | -- |
13 | Locate and repair the open in CKT 40 (ORN) between the inadvertent power relay and the UBE. Is the repair complete? | -- | Go to Step 16 | -- |
14 | Replace the inadvertent power relay. Is the repair complete? | -- | Go to Step 16 | -- |
15 |
Is the repair complete? | -- | Go to Step 16 | -- |
16 | Clear the DTCs. Is the repair complete? | -- | -- |