GM Service Manual Online
For 1990-2009 cars only
Makes
🢒
Oldsmobile
🢒
1998
🢒
Bravada
🢒
Body and Accessories
🢒
Retained Accessory Power
🢒 Retained Accessory Power (RAP) Component Views
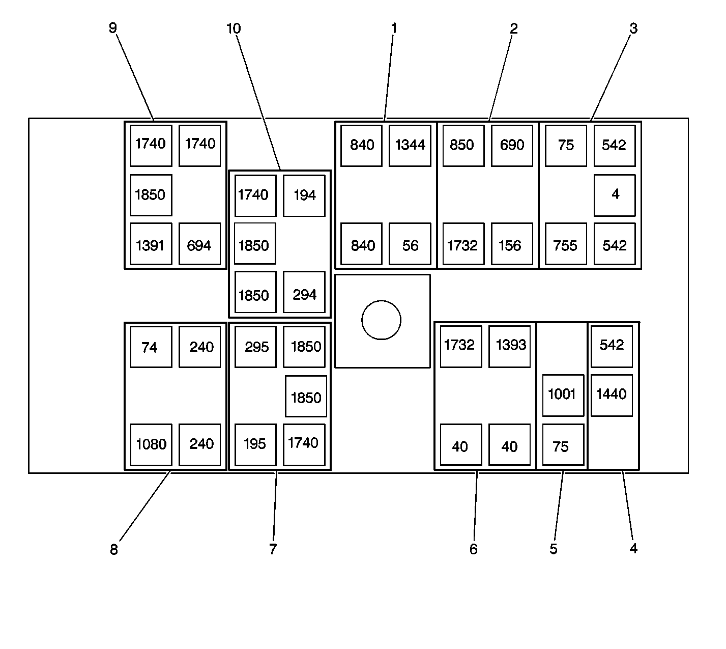
Body Relay Block Internal Location
(1)
Liftglass Relay
(2)
Courtesy Lamp Relay
(3)
Retained Accessory Power Relay
(4)
Power Seats Circuit Breaker
(5)
Power Window Circuit Breaker
(6)
Inadvertent Power Relay
(7)
Door Lock Relay
(8)
Park Lamp Relay
(9)
Driver Door Unlock Relay
(10)
Door Unlock Relay