GM Service Manual Online
For 1990-2009 cars only

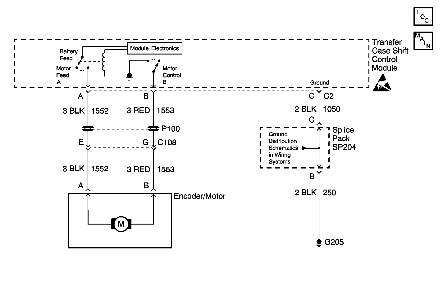
Object Number: 564295  Size: MF
Transfer Case Control Components
Transfer Case Control Schematics

Circuit Description

The transfer case encoder motor is a permanent magnet DC motor and gear reduction assembly. The encoder motor is controlled with a pulse width modulated (PWM) circuit within the transfer case shift control module. This circuit consists of a power supply relay (Motor Feed A) circuit that supplies voltage to the motor. The Motor Control B circuit is a PWM driver that varies the duty cycle to control the amount of current through the motor to ground.

This DTC detects an open on the Motor Feed A circuit or the Motor Control B circuit.

Conditions for Setting the DTC

    • The system will test the motor circuits by checking for unwanted voltage.
    • The system supplies voltage on the Motor A circuit and reads the voltage back on the Motor B circuit.
    • The transfer case shift control module senses no voltage return on the Motor Feed A circuit or the Motor Control B circuit.
    • If the system detects a problem with the circuits, the DTC is logged.

Action Taken When the DTC Sets

All clutch activation (slip control) will be disabled. The SERVICE indicator (AWD/4WD) lamp will be latched on for the remainder of the current ignition cycle.

Conditions for Clearing the DTC

    • Current DTC
        The transfer case shift control module will clear the DTC if the condition for setting the DTC no longer exists.
    • History DTC
       - Once 100 consecutive ignition cycles without a fault present.
       - You issue a scan tool CLEAR CODES command.

Test Description

The numbers below refer to the step numbers on the diagnostic table.

  1. Tests the motor circuit for a current malfunction.

  2. Tests Motor Feed A for an open circuit.

  3. Tests Motor Control B for an open circuit.

  4. Tests for an open across the motor windings.

DTC C0310 Motor A/B Circuit Open

Step

Action

Value(s)

Yes

No

1

Was the Transfer Case Diagnostic System Check performed?

--

Go to Step 2

Go to Diagnostic System Check

2

  1. Install a scan tool.
  2. Turn ON the ignition, with the engine OFF.
  3. With the scan tool, command both Motor A and Motor B ON and OFF.

Does the Encoder Motor turn ON and OFF?

--

Go to Testing for Intermittent Conditions and Poor Connections

Go to Step 3

3

  1. Turn OFF the ignition.
  2. Disconnect the encoder motor.
  3. Disconnect the transfer case shift control module.
  4. Test Motor Feed A for an open. Refer to Circuit Testing and Wiring Repairs in Wiring Systems.

Was the condition found and corrected?

--

Go to Step 8

Go to Step 4

4

Test Motor Control B for an open. Refer to Circuit Testing and Wiring Repairs in Wiring Systems.

Was the condition found and corrected?

--

Go to Step 8

Go to Step 5

5

Test the resistance across the motor circuit.

Were the resistance readings within the specified range?

0.5-35 ohms

Go to Step 7

Go to Step 6

6

Replace the encoder motor. Refer to Motor/Encoder Replacement .

Is the repair complete?

--

Go to Step 8

--

7

Replace the transfer case shift control module. Refer to Transfer Case Shift Control Module Replacement .

Is the repair complete?

--

Go to Step 8

--

8

  1. Use the scan tool in order to clear the DTCs.
  2. Operate the vehicle within the Conditions for Running the DTC as specified in the supporting text.

Does the DTC reset?

--

Go to Step 2

System OK