GM Service Manual Online
For 1990-2009 cars only
Makes
🢒
Oldsmobile
🢒
2000
🢒
Bravada
🢒
HVAC
🢒
HVAC Systems - Automatic
🢒 HVAC Compressor Control Schematics
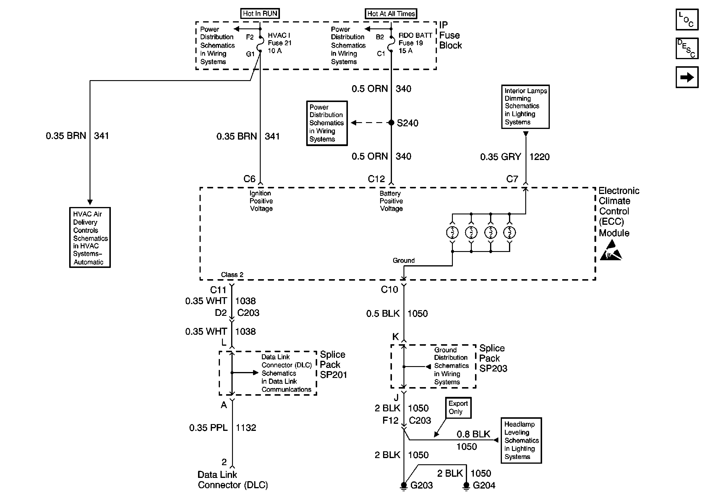
Figure
1:
ECC Module, Power and Ground
HVAC Components
HVAC Compressor Controls Circuit Description
A/C Compressor Clutch Coil, Relay, Diode and High Pressure Cutoff Switch
Ign ACC, RUN and RAP Bus Bar
AUX PWR, RDO BATT and HDLP SW Fuses
ECC Module, Power and Ground
AUX PWR, RDO BATT and HDLP SW Fuses
Automatic Transmission Switch Inputs
ILLUM Fuse 12
Handling ESD Sensitive Parts Notice
G203 and G204 (Utility w/ Automatic A/C)
2000 S/T Headlight Leveling
Figure
2:
A/C Compressor Clutch Coil, Relay, Diode and High Pressure Cutoff Switch
HVAC Components
HVAC Compressor Controls Circuit Description
ECC Module, Power and Ground
B+ Bus Bar
Ign RUN and START Bus Bar
Power and Grounding Connector End Views
Handling ESD Sensitive Parts Notice
Automatic Transmission Switch Inputs
VCM Connector End Views
G102 (Except Export)
Heated Oxygen Sensors
G103 and G105 (2.2L)
Handling ESD Sensitive Parts Notice
G103 and G105 (4.3L)