GM Service Manual Online
For 1990-2009 cars only

Removal Procedure


    Object Number: 593821  Size: SH
  1. Use a flat-bladed tool in order to pry the step upward.
  2. Remove the step pad from the panel.

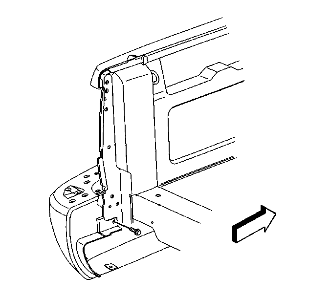
  3. Object Number: 593814  Size: SH
  4. Remove the rear brace from the step panel.

  5. Object Number: 593825  Size: SH
  6. Remove the splash shield from the wheelhouse.

  7. Object Number: 593829  Size: SH
  8. Remove the filler plate.

  9. Object Number: 593832  Size: SH
  10. Remove the forward brace from the step panel and the forward support bracket.

  11. Object Number: 593834  Size: SH
  12. Remove the screw that secures the step panel to the pickup box rear inner pillar.

  13. Object Number: 593836  Size: SH
  14. Remove the screws that secure the step panel to the forward and rear support brackets.

  15. Object Number: 593837  Size: SH
  16. Remove the step panel from the side outer panel.

  17. Object Number: 593838  Size: SH
  18. Remove the nuts that secure the forward and rear support brackets to the pickup box cross sills.

Installation Procedure


    Object Number: 593838  Size: SH
  1. Loosely install the rear support bracket onto the cross sill studs using the 2 nuts and 1 screw through the rear pillar assembly.
  2. Loosely install the forward bracket onto the pickup box cross sill studs using the 2 nuts.

  3. Object Number: 593837  Size: SH
  4. Position the step panel over the brackets using the following steps:
  5. 3.1. Slide the rear inboard tab around the rear pillar assembly.
    3.2. Slide the step panel under the side outer panel.
  6. Install the rear step panel to the side outer panel using the 4 push-pin fasteners.

  7. Object Number: 593836  Size: SH
  8. Loosely install the 1 screw through the forward bracket into the step panel.
  9. Loosely install the 3 screws through the top of the step into the rear support bracket.
  10. Notice: Use the correct fastener in the correct location. Replacement fasteners must be the correct part number for that application. Fasteners requiring replacement or fasteners requiring the use of thread locking compound or sealant are identified in the service procedure. Do not use paints, lubricants, or corrosion inhibitors on fasteners or fastener joint surfaces unless specified. These coatings affect fastener torque and joint clamping force and may damage the fastener. Use the correct tightening sequence and specifications when installing fasteners in order to avoid damage to parts and systems.

  11. Tighten the following fasteners in the specified order while pushing the forward and rear support brackets upward.
  12. Tighten

    1. Tighten the rear pillar to rear support bracket screw to 9.0 N·m (6.6 lb ft).
    2. Tighten the forward support bracket to step panel screw to 9.0 N·m (6.6 lb ft).
    3. Tighten the forward and rear support bracket stud nuts to 25 N·m (18.4 lb ft).

    Object Number: 593834  Size: SH
  13. Install the 1 screw in order to secure the step panel inboard tab to the pickup box rear inner pillar.
  14. Tighten
    Tighten the inboard tab screw to 1.5 N·m (13.3 lb in).


    Object Number: 593832  Size: SH
  15. Install the forward brace to the forward support bracket using the 1 screw.
  16. Tighten
    Tighten the forward brace to forward support bracket screw to 9.0 N·m (6.6 lb ft).

  17. Install the forward brace to the step panel using the 1 screw.
  18. Tighten
    Tighten the screw to 9.0 N·m (80 lb in).


    Object Number: 593829  Size: SH
  19. Install the filler plate using the 2 push-pin fasteners.

  20. Object Number: 593825  Size: SH
  21. Secure the splash shield to the rear step panel using the 3 push-pin fasteners.
  22. Tighten the 3 step panel to rear bracket screws from Step 6.
  23. Tighten
    Tighten the screws to 9.0 N·m (6.6 lb ft).


    Object Number: 593821  Size: SH
  24. Install the step pad to the step panel using the following steps:
  25. 14.1. Insert the locator pin on the pad into the hole in the panel.
    14.2. Press the retainer tabs on the pad into the holes in the panel.

    Object Number: 593814  Size: SH
  26. Install the rear brace to the rear bumper bracket and step panel using the 2 screws.
  27. Tighten
    Tighten the rear brace screws to 9.0 N·m (6.6 lb ft).