GM Service Manual Online
For 1990-2009 cars only
Makes
🢒
Oldsmobile
🢒
2000
🢒
Bravada
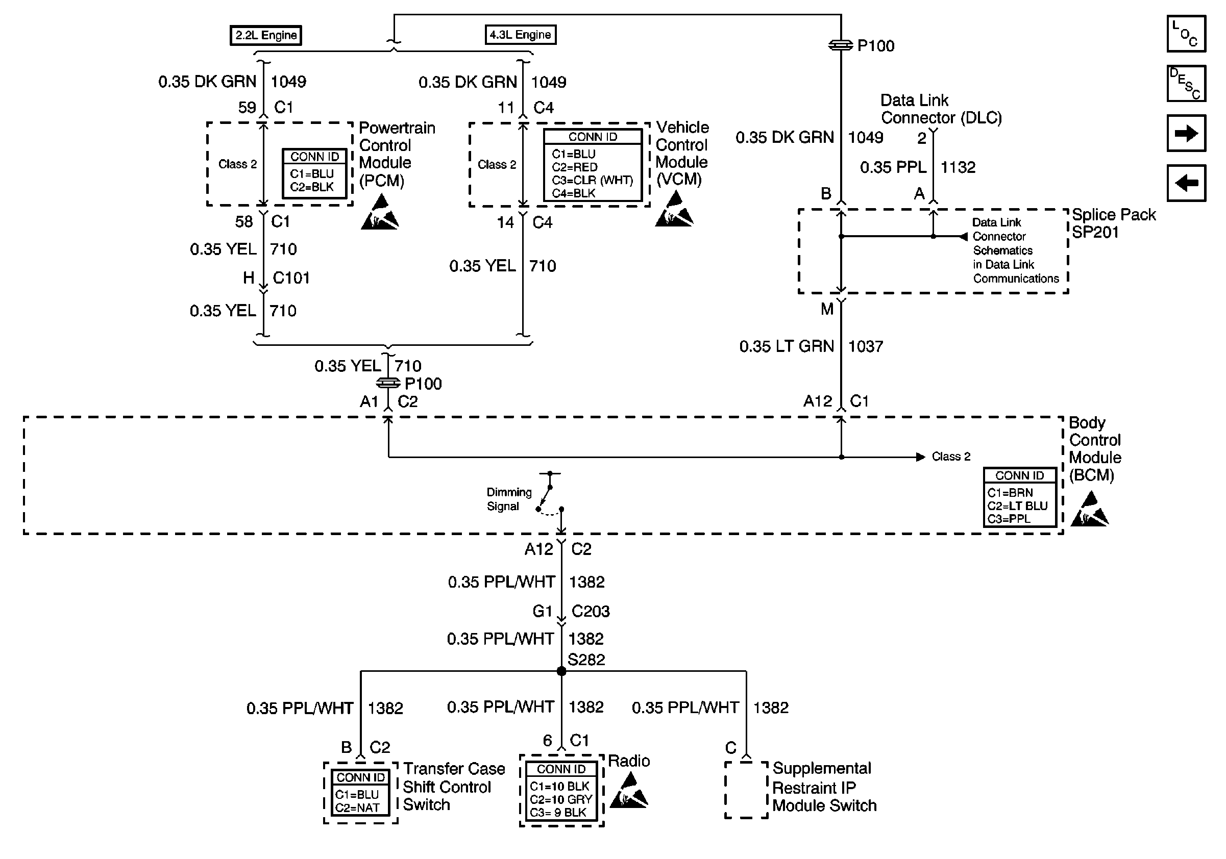
🢒 VCM/PCM and Data Link Connector (DLC)
VCM/PCM and Data Link Connector (DLC)
VCM/PCM and Data Link Connector (DLC)
Body Control Module Components
Body Control System Circuit Description
Horn Relay
Power and Ground
Powertrain Control Module Connector End Views
Handling ESD Sensitive Parts Notice
VCM Connector End Views
Handling ESD Sensitive Parts Notice
SP201 (2.2L)
Body Control System Connector End Views
Handling ESD Sensitive Parts Notice
Transfer Case Control Connector End Views
Entertainment Connector End Views
Handling ESD Sensitive Parts Notice