GM Service Manual Online
For 1990-2009 cars only
Makes
🢒
Oldsmobile
🢒
2000
🢒
Bravada
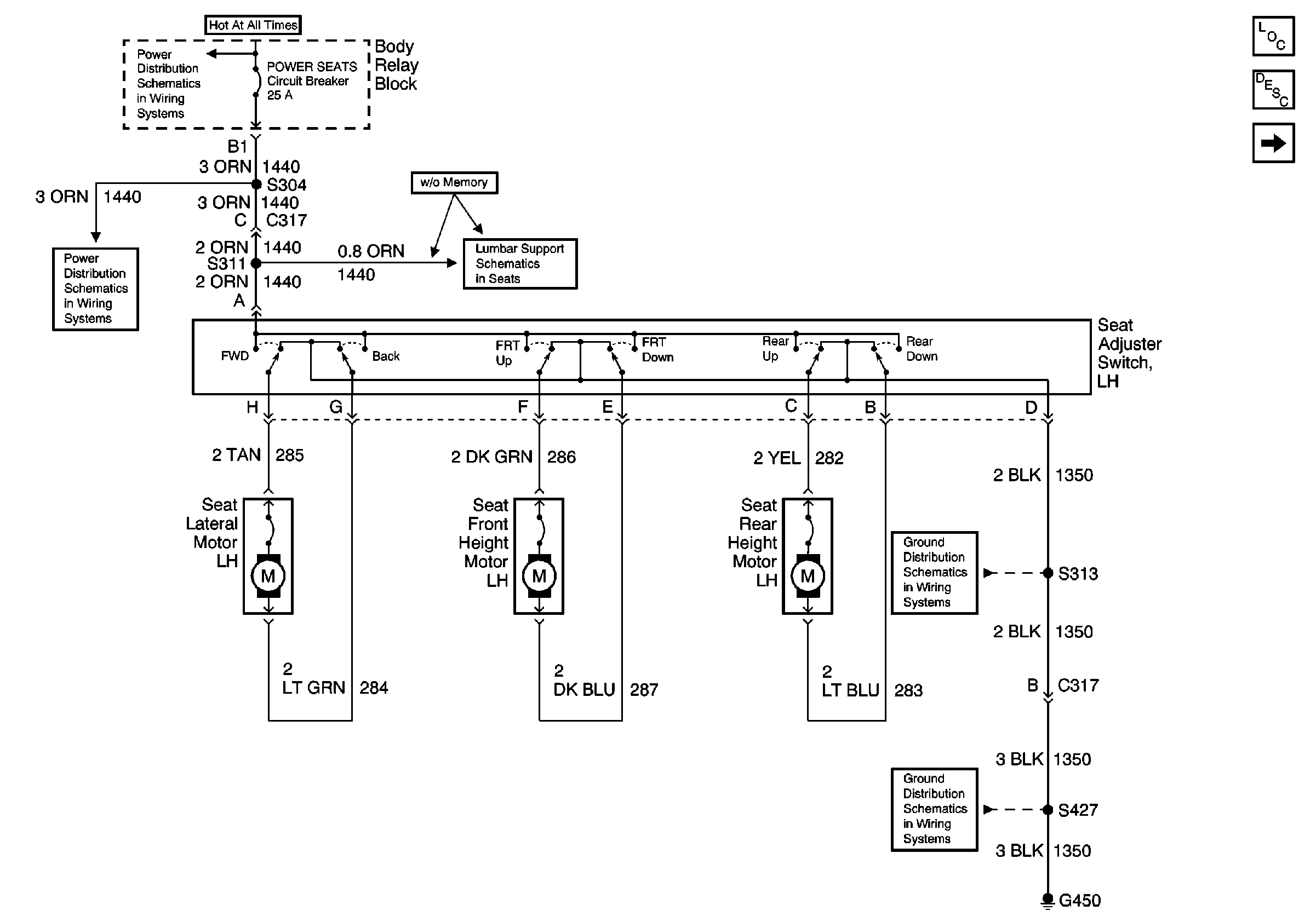
🢒 6-Way LH Power Seat
6-Way LH Power Seat
6-Way LH Power Seat
Power Seat Systems Components
Power Seats Circuit Description
6-Way RH Power Seat
Power Seats, Power Windows Circuit Breakers and RAP Relay
Power Seats, Power Windows Circuit Breakers and RAP Relay
Lumbar without Memory Seats
S313 and S419
S313 and S419