GM Service Manual Online
For 1990-2009 cars only
Makes
🢒
Oldsmobile
🢒
2003
🢒
Bravada
🢒
Engine
🢒
Engine Controls - 4.2L
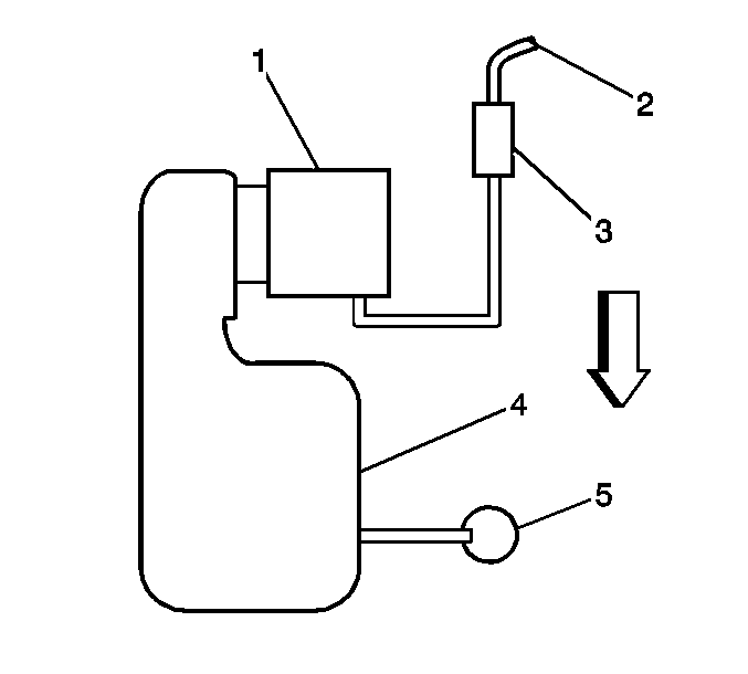
🢒 Emission Hose Routing Diagram
(1)
Throttle Body
(2)
To EVAP canister
(3)
EVAP canister purge valve
(4)
Preplenum resonator
(5)
Fuel pressure regulator