| Table 1: | C100 (LL8) |
| Table 2: | C101 |
| Table 3: | C104 (LL8) |
| Table 4: | C105 |
| Table 5: | C107 (LM4) |
| Table 6: | C108 |
| Table 7: | C109 |
| Table 8: | C115 (LM4) |
| Table 9: | C118 |
| Table 10: | C201 |
| Table 11: | C203 |
| Table 12: | C301 |
| Table 13: | C303 (Z70) |
| Table 14: | C304 |
| Table 15: | C305 |
| Table 16: | C306 |
| Table 17: | C307 |
| Table 18: | C308 |
| Table 19: | C309 (Long Wheelbase, Body Type VIN 6) |
| Table 20: | C310 |
| Table 21: | C311 |
| Table 22: | C312 |
| Table 23: | C313 |
| Table 24: | C314 |
| Table 25: | C315 |
| Table 26: | C316 |
| Table 27: | C401 (Body Type VIN 6) |
| Table 28: | C500 |
| Table 29: | C600 |
| Table 30: | C700 |
| Table 31: | C800 |
| Table 32: | C900 |
| Table 33: | C901 |
|
| ||||||||||||||
|---|---|---|---|---|---|---|---|---|---|---|---|---|---|---|---|
Connector Part Information |
| Connector Part Information |
| ||||||||||||
Pin | Wire Color | Circuit No. | Function | Pin | Wire Color | Circuit No. | Function | ||||||||
A | -- | -- | Not Used | A | PNK/WHT | 1101 | Damping Lift/Dive Signal | ||||||||
B | RED/BLK | 380 | A/C Refrigerant Pressure Sensor Signal | B | RED/BLK | 380 | A/C Refrigerant Pressure Sensor Signal | ||||||||
C | GRY | 597 | 5 Volt Reference | C | GRY | 597 | 5 Volt Reference | ||||||||
D | PNK | 439 | Ignition 1 Voltage | D | PNK | 439 | Ignition 1 Voltage | ||||||||
E | BLK | 2751 | Low Reference | E | BLK | 2751 | Low Reference | ||||||||
F | GRY | 2700 | 5 Volt Reference | F | GRY | 2700 | 5 Volt Reference | ||||||||
G | LT GRN | 2278 | A/C Compressor Gas Overtemp Switch Signal | G | LT GRN | 2278 | A/C Compressor Gas Overtemp Switch Signal | ||||||||
H | TAN | 472 | IAT Sensor Signal | H | TAN | 472 | IAT Sensor Signal | ||||||||
J | BLK | 2760 | Low Reference | J | BLK | 2760 | Low Reference | ||||||||
K | -- | -- | Not Used | K | -- | -- | Not Used | ||||||||
|
| ||||||||||||||
|---|---|---|---|---|---|---|---|---|---|---|---|---|---|---|---|
Connector Part Information |
| Connector Part Information |
| ||||||||||||
Pin | Wire Color | Circuit No. | Function | Pin | Wire Color | Circuit No. | Function | ||||||||
A1 | LT GRN/BLK | 431 | 8 Volt Reference | A1 | LT GRN/BLK | 431 | 8 Volt Reference | ||||||||
A2 | BRN/WHT | 1555 | Channel P Encoder - Signal | A2 | BRN/WHT | 1555 | Channel P Encoder - Signal | ||||||||
A3 | DK GRN/WHT | 817 | Vehicle Speed Signal | A3 | DK GRN/WHT | 817 | Vehicle Speed Signal | ||||||||
A4 | DK BLU | 47 | Trailer Auxiliary Supply Voltage | A4 | DK BLU | 47 | Vehicle Speed Signal | ||||||||
A5 | BLK | 1552 | Motor Control A | A5 | BLK | 1552 | Motor Control A | ||||||||
A6 | BRN/WHT | 1571 | Traction Control Switch Signal | A6 | BRN/WHT | 1571 | Traction Control Switch Signal | ||||||||
A7 | LT GRN | 24 | Backup Lamp Supply Voltage | A7 | LT GRN | 24 | Backup Lamp Supply Voltage | ||||||||
A8 | BLK/WHT | 1554 | Encoder Signal Ground | A8 | BLK/WHT | 1554 | Encoder Signal Ground | ||||||||
B1 | TAN | 1569 | Lock Solenoid Control (NP8 only) | B1 | TAN | 1569 | Lock Solenoid Control (NP8 only) | ||||||||
B2 | LT BLU | 1296 | Axle Actuator - Control (NP8 only) | B2 | LT BLU | 1296 | Axle Actuator - Control (NP8 only) | ||||||||
B3 | LT BLU | 2221 | Signal High - Rear | B3 | LT BLU | 2221 | Signal High - Rear | ||||||||
B4 | DK GRN | 2222 | Signal Low - Rear | B4 | DK GRN | 2222 | Signal Low - Rear | ||||||||
B5 | -- | -- | Not Used | B5 | -- | -- | Not Used | ||||||||
B6 | RED | 1553 | Motor Control B | B6 | RED | 1553 | Motor Control B | ||||||||
B7 | -- | -- | Not Used | B7 | -- | -- | Not Used | ||||||||
B8 | YEL | 400 | Signal High - Front | B8 | YEL | 400 | Signal High - Front | ||||||||
B9 | PPL | 401 | Signal Low - Front | B9 | PPL | 401 | Signal Low - Front | ||||||||
B10-B11 | -- | -- | Not Used | B10-B11 | -- | -- | Not Used | ||||||||
B12 | BRN | 2109 | Trailer Park Lamps Supply Voltage | B12 | BRN | 2109 | Trailer Park Lamps Supply Voltage | ||||||||
C1 | -- | -- | Not Used | C1 | -- | -- | Not Used | ||||||||
C2 | YEL/BLK | 1872 | Vehicle Speed Signal | C2 | YEL/BLK | 1872 | Vehicle Speed Signal | ||||||||
C3 | LT BLU | 1122 | ABS/TCS Class 2 Serial Data | C3 | LT BLU | 1122 | ABS/TCS Class 2 Serial Data | ||||||||
C4 | GRY | 349 | Discriminating Sensor - Left - Signal | C4 | GRY | 349 | Discriminating Sensor - Left - Signal | ||||||||
C5 | YEL | 354 | Discriminating Sensor - Signal | C5 | YEL | 354 | Discriminating Sensor - Signal | ||||||||
C6-C8 | -- | -- | Not Used | C6-C8 | -- | -- | Not Used | ||||||||
C9 | DK GRN | 890 | Fuel Tank Pressure Sensor Signal | C9 | DK GRN | 890 | Fuel Tank Pressure Sensor Signal | ||||||||
C10 | GRY | 2709 | 5 Volt Reference | C10 | GRY | 2709 | 5 Volt Reference | ||||||||
C11 | BLK | 2759 | Low Reference | C11 | BLK | 2759 | Low Reference | ||||||||
C12 | ORN/BLK | 510 | Low Reference (LL8 6 Cylinder Engine) | C12 | ORN/BLK | 510 | Low Reference Low Reference (LL8 6 Cylinder Engine) | ||||||||
D1 | PPL | 1589 | Fuel Level Sensor Signal - Primary | D1 | PPL | 1589 | Fuel Level Sensor Signal - Primary | ||||||||
D2 | LT BLU | 832 | Traction Control Active Signal | D2 | LT BLU | 832 | Traction Control Active Signal | ||||||||
D3 | WHT | 1808 | Service Traction Control Signal | D3 | WHT | 1808 | Service Traction Control Signal | ||||||||
D4-D5 | -- | -- | Not Used | D4-D5 | -- | -- | Not Used | ||||||||
D6 | YEL | 1834 | Forward Discriminating Sensor Signal | D6 | YEL | 1834 | Forward Discriminating Sensor Signal | ||||||||
D7 | DK GRN | 1409 | Discriminating Sensor - Right - Signal | D7 | DK GRN | 1409 | Discriminating Sensor - Right - Signal | ||||||||
D8 | -- | -- | Not Used | D8 | -- | -- | Not Used | ||||||||
|
| ||||||||||||||
|---|---|---|---|---|---|---|---|---|---|---|---|---|---|---|---|
Connector Part Information |
| Connector Part Information |
| ||||||||||||
Pin | Wire Color | Circuit No. | Function | Pin | Wire Color | Circuit No. | Function | ||||||||
A | PNK | 439 | Ignition 1 Voltage | A | PNK | 439 | Ignition 1 Voltage | ||||||||
B | LT BLU/BLK | 844 | Fuel Injector 4 Control | B | LT BLU/BLK | 844 | Fuel Injector 4 Control | ||||||||
C | BLK/WHT | 845 | Fuel Injector 5 Control | C | BLK/WHT | 845 | Fuel Injector 5 Control | ||||||||
D | YEL/BLK | 846 | Fuel Injector 6 Control | D | YEL/BLK | 846 | Fuel Injector 6 Control | ||||||||
E | -- | -- | Not Used | E | -- | -- | Not Used | ||||||||
F | BLK | 1744 | Fuel Injector 1 Control | F | BLK | 1744 | Fuel Injector 1 Control | ||||||||
G | LT GRN/BLK | 1745 | Fuel Injector 2 Control | G | LT GRN/BLK | 1745 | Fuel Injector 2 Control | ||||||||
H | PNK/BLK | 1746 | Fuel Injector 3 Control | H | PNK/BLK | 1746 | Fuel Injector 3 Control | ||||||||
|
| ||||||||||||||
|---|---|---|---|---|---|---|---|---|---|---|---|---|---|---|---|
Connector Part Information |
| Connector Part Information |
| ||||||||||||
Pin | Wire Color | Circuit No. | Function | Pin | Wire Color | Circuit No. | Function | ||||||||
A | GRY | 597 | 5 Volt Reference | A | GRY | 597 | 5 Volt Reference | ||||||||
B | DK BLU | 2364 | Cooling Fan Speed Signal | B | DK BLU | 2364 | Cooling Fan Speed Signal | ||||||||
C | GRY | 2365 | Low Reference | C | GRY | 2365 | Low Reference | ||||||||
D | BRN | 718 | Low Reference | D | BRN | 718 | Low Reference | ||||||||
E | LT GRN/BLK | 735 | Outside Air Temperature Sensor Signal | E | LT GRN/BLK | 735 | Outside Air Temperature Sensor Signal | ||||||||
F | GRY/BLK | 1596 | Coolant Bypass Solenoid Control (Long Wheelbase, Body Type VIN 6) | F | GRY/BLK | 1596 | Coolant Bypass Solenoid Control (Long Wheelbase, Body Type VIN 6) | ||||||||
G | -- | -- | Not Used | G | -- | -- | Not Used | ||||||||
H | DK BLU | 204 | A/C Low Pressure Sensor Signal | H | DK BLU | A/C Low Pressure Sensor Signal | |||||||||
J | BLK/WHT | 174 | Low Washer Fluid Indicator Supply Voltage | J | BLK/WHT | 174 | Low Washer Fluid Indicator Supply Voltage | ||||||||
K | PNK/BLK | 109 | Hood Ajar Switch Signal | K | PNK/BLK | 109 | Hood Ajar Switch Signal | ||||||||
|
| ||||||||||||||
|---|---|---|---|---|---|---|---|---|---|---|---|---|---|---|---|
Connector Part Information |
| Connector Part Information |
| ||||||||||||
Pin | Wire Color | Circuit No. | Function | Pin | Wire Color | Circuit No. | Function | ||||||||
A1 | RED/WHT | 440 | Battery Positive Voltage | A1 | RED/WHT | 440 | Battery Positive Voltage | ||||||||
A2 | GRY | 2365 | Low Reference | A2 | GRY | 2365 | Low Reference | ||||||||
A3 | GRY | 2709 | 5 Volt Reference | A3 | GRY | 2709 | 5 Volt Reference | ||||||||
A4-A7 | -- | -- | Not Used | A4-A7 | -- | -- | Not Used | ||||||||
A8 | DK GRN | 890 | Fuel Tank Pressure Sensor Signal | A8 | DK GRN | 890 | Fuel Tank Pressure Sensor Signal | ||||||||
B1 | GRY | 397 | Cruise Control On Switch Signal | B1 | GRY | 397 | Cruise Control On Switch Signal | ||||||||
B2-B7 | -- | -- | Not Used | B2-B7 | -- | -- | Not Used | ||||||||
B8 | YEL | 710 | Class 2 Serial Data | B8 | YEL | 710 | Class 2 Serial Data | ||||||||
B9 | LT BLU | 1320 | CHMSL Supply Voltage/Stop Lamp Supply Voltage | B9 | LT BLU | 1320 | CHMSL Supply Voltage/Stop Lamp Supply Voltage | ||||||||
B10 | DK BLU | 2364 | Cooling Fan Speed Signal | B10 | DK BLU | 2364 | Cooling Fan Speed Signal | ||||||||
B11 | YEL/BLK | 1827 | Vehicle Speed Signal | B11 | YEL/BLK | 1827 | Vehicle Speed Signal | ||||||||
B12 | GRY/BLK | 87 | Cruise Control Resume/Accel Switch Signal 2003 D Car Cruise Control Switch Signal | B12 | GRY/BLK | 87 | Cruise Control Resume/Accel Switch Signal 2003 D Car Cruise Control Switch Signal | ||||||||
C1 | WHT | 121 | Engine Speed Signal | C1 | WHT | 121 | Engine Speed Signal | ||||||||
C2 | -- | -- | Not Used | C2 | -- | -- | Not Used | ||||||||
C3 | TAN | 2759 | Low Reference | C3 | TAN | 2759 | Low Reference | ||||||||
C4 | PNK | 1020 | Off/Run/Crank Voltage | C4 | PNK | 1020 | Off/Run/Crank Voltage | ||||||||
C5 | BRN/WHT | 419 | MIL Control | C5 | BRN/WHT | 419 | MIL Control | ||||||||
C6-C7 | -- | -- | Not Used | C6-C7 | -- | -- | Not Used | ||||||||
C8 | PNK | 420 | TCC Brake Switch/Cruise Control Release Signal | C8 | PNK | 420 | TCC Brake Switch/Cruise Control Release Signal | ||||||||
C9 | -- | -- | Not Used | C9 | -- | -- | Not Used | ||||||||
C10 | PNK | 1589 | Fuel Level Sensor Signal [- Primary] | C10 | PNK | 1589 | Fuel Level Sensor Signal [- Primary] | ||||||||
C11 | DK GRN | 1049 | ECM/PCM/VCM Class 2 Serial Data | C11 | DK GRN | 1049 | ECM/PCM/VCM Class 2 Serial Data | ||||||||
C12 | DK GRN/WHT | 817 | Vehicle Speed Signal | C12 | DK GRN/WHT | 817 | Vehicle Speed Signal | ||||||||
D1 | DK BLU | 84 | Cruise Control Set/Coast Switch Signal | D1 | DK BLU | 84 | Cruise Control Set/Coast Switch Signal | ||||||||
D2 | LT GRN | 2278 | A/C Compressor Status Signal | D2 | LT GRN | 2278 | A/C Compressor Status Signal | ||||||||
D3 | GRY | 597 | 5 Volt Reference | D3 | GRY | 597 | 5 Volt Reference | ||||||||
D6 | DK GRN | 1433 | Clutch Start Switch Signal | D6 | DK GRN | 1433 | Clutch Start Switch Signal | ||||||||
D7 | GRY/BLK | 1694 | 4WD Low Signal | D7 | GRY/BLK | 1694 | 4WD Low Signal | ||||||||
D8 | RED/WHT | 440 | Battery Positive Voltage | D8 | RED/WHT | 440 | Battery Positive Voltage | ||||||||
|
| ||||||||||||||
|---|---|---|---|---|---|---|---|---|---|---|---|---|---|---|---|
Connector Part Information |
| Connector Part Information |
| ||||||||||||
Pin | Wire Color | Circuit No. | Function | Pin | Wire Color | Circuit No. | Function | ||||||||
A | BLK | 550 | Ground | A | BLK | 550 | Ground | ||||||||
B | ORN/WHT | 2122 | IC 2 Control | B | ORN/WHT | 2122 | IC 2 Control | ||||||||
C | DK GRN/WHT | 2124 | IC 4 Control | C | DK GRN/WHT | 2124 | IC 4 Control | ||||||||
D | -- | -- | Not Used | D | -- | -- | Not Used | ||||||||
E | BRN/WHT | 2130 | Low Reference | E | BRN/WHT | 2130 | Low Reference | ||||||||
F | LT BLU/WHT | 2126 | IC 6 Control | F | LT BLU/WHT | 2126 | IC 6 Control | ||||||||
G | PPL/WHT | 2128 | IC 8 Control | G | PPL/WHT | 2128 | IC 8 Control | ||||||||
H | PNK | 1339 | Ignition 1 Voltage | H | PNK | 1339 | Ignition 1 Voltage | ||||||||
|
| ||||||||||||||
|---|---|---|---|---|---|---|---|---|---|---|---|---|---|---|---|
Connector Part Information |
| Connector Part Information |
| ||||||||||||
Pin | Wire Color | Circuit No. | Function | Pin | Wire Color | Circuit No. | Function | ||||||||
A | BLK | 550 | Ground | A | BLK | 550 | Ground | ||||||||
B | ORN | 2127 | IC 7 Control | B | ORN | 2127 | IC 7 Control | ||||||||
C | DK GRN | 2125 | IC 5 Control | C | DK GRN | 2125 | IC 5 Control | ||||||||
D | -- | -- | Not Used | D | -- | -- | Not Used | ||||||||
E | BRN | 2129 | Low Reference | E | BRN | 2129 | Low Reference | ||||||||
F | LT BLU | 2123 | IC 3 Control | F | LT BLU | 2123 | IC 3 Control | ||||||||
G | PPL | 2121 | IC 1 Control | G | PPL | 2121 | IC 1 Control | ||||||||
H | PNK | 1239 | Ignition 1 Voltage | H | PNK | 1239 | Ignition 1 Voltage | ||||||||
|
| ||||||||||||||
|---|---|---|---|---|---|---|---|---|---|---|---|---|---|---|---|
Connector Part Information |
| Connector Part Information |
| ||||||||||||
Pin | Wire Color | Circuit No. | Function | Pin | Wire Color | Circuit No. | Function | ||||||||
A | DK BLU | 496 | Knock Sensor [1] Signal | A | DK BLU | 496 | Knock Sensor [1] Signal | ||||||||
B | LT BLU | 1876 | Knock Sensor 2 Signal | B | LT BLU | 1876 | Knock Sensor 2 Signal | ||||||||
|
| ||||||||||||||
|---|---|---|---|---|---|---|---|---|---|---|---|---|---|---|---|
Connector Part Information |
| Connector Part Information |
| ||||||||||||
Pin | Wire Color | Circuit No. | Function | Pin | Wire Color | Circuit No. | Function | ||||||||
A | BLK | 250 | Ground | A | BLK | 250 | Ground | ||||||||
B | WHT | 2368 | Cooling Fan Clutch Supply Voltage | B | WHT | 2368 | Cooling Fan Clutch Supply Voltage | ||||||||
C | GRY | 2365 | Low Reference | C | GRY/WHT | 2365 | Low Reference | ||||||||
D | DK BLU | 2364 | Cooling Fan Speed Signal | D | DK BLU | 2364 | Cooling Fan Speed Signal | ||||||||
E | GRY | 597 | 5V Reference | E | GRY | 597 | 5V Reference | ||||||||
F | -- | -- | Not Used | F | -- | -- | Not Used | ||||||||
|
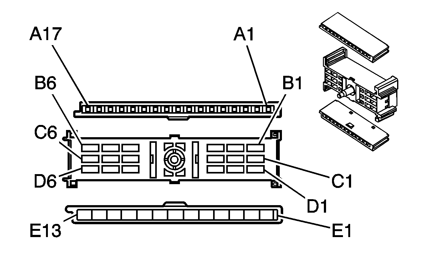
| ||||||||||||||||||||||
|---|---|---|---|---|---|---|---|---|---|---|---|---|---|---|---|---|---|---|---|---|---|---|---|
Connector Part Information |
| Connector Part Information |
| ||||||||||||||||||||
Pin | Wire Color | Circuit No. | Function | Pin | Wire Color | Circuit No. | Function | ||||||||||||||||
A1 | -- | -- | Not Used | A1 | -- | -- | Not Used | ||||||||||||||||
A2 | PNK | 639 | Ignition 1 Voltage | A2 | PNK | 639 | Ignition 1 Voltage | ||||||||||||||||
A3 | BRN | 2309 | Front Park Lamps Supply Voltage | A3 | BRN | 2309 | Front Park Lamps Supply Voltage | ||||||||||||||||
A4 | LT GRN | 1427 | Right Turn Signal Switch Signal | A4 | LT GRN | 1427 | Right Turn Signal Switch Signal | ||||||||||||||||
A5 | DK GRN | 1428 | Left Turn Signal Switch Signal | A5 | DK GRN | 1428 | Left Turn Signal Switch Signal | ||||||||||||||||
A6 | BLK | 58 | Right Cornering Lamp Supply Voltage | A6 | BLK | 58 | Right Cornering Lamp Supply Voltage | ||||||||||||||||
A7 | ORN | 57 | Left Cornering Lamp Supply Voltage | A7 | ORG | 57 | Left Cornering Lamp Supply Voltage | ||||||||||||||||
A8 | -- | -- | Not Used | A8 | -- | -- | Not Used | ||||||||||||||||
A9 | ORN/BLK | 1816 | DIC Set/Reset Switch Signal | A9 | ORN | 1816 | DIC Set/Reset Switch Signal | ||||||||||||||||
A10 | PPL | 1358 | DIC Switch Signal | A10 | DK GRN/WHT | 1358 | DIC Switch Signal | ||||||||||||||||
A11 | WHT | 111 | Hazard Switch Signal | A11 | WHT | 111 | Hazard Switch Signal | ||||||||||||||||
A12 | LT GRN | 1011 | Remote Radio Control Signal | A12 | LT GRN | 1011 | Remote Radio Control Signal | ||||||||||||||||
A13 | DK BLU | 894 | DIC Toggle Switch Signal | A13 | DK BLU | 894 | DIC Toggle Switch Signal | ||||||||||||||||
A14 | YEL | 1327 | DIC Fuel Signal | A14 | YEL | 1327 | DIC Fuel Signal | ||||||||||||||||
A15 | BRN/WHT | 230 | Instrument Panel Lamps Dimming Control | A15 | BRN/WHT | 230 | Instrument Panel Lamps Dimming Control | ||||||||||||||||
A16 | BLK | 2250 | Ground | A16 | BLK | 2250 | Ground | ||||||||||||||||
A17 | -- | -- | Not Used | A17 | -- | -- | Not Used | ||||||||||||||||
B1-B2 | -- | -- | Not Used | B1-B2 | -- | -- | Not Used | ||||||||||||||||
B3 | PNK | 2283 | Rear Wiper/Washer Switch Supply Voltage | B3 | WHT | 2283 | Rear Wiper/Washer Switch Supply Voltage | ||||||||||||||||
WHT | 2283 | Rear Wiper/Washer Switch Supply Voltage | |||||||||||||||||||||
B4 | -- | -- | Not Used | B4 | -- | -- | Not Used | ||||||||||||||||
B5 | RED | 142 | Battery Positive Voltage | B5 | RED | 142 | Battery Positive Voltage | ||||||||||||||||
B6 | BRN | 4 | Accessory Voltage | B6 | BRN | 4 | Accessory Voltage | ||||||||||||||||
C1 | YEL | 5 | Crank Voltage | C1 | YEL | 5 | Crank Voltage | ||||||||||||||||
C2 | RED/WHT | 812 | 12 Volt Reference (w/o E09) | C2 | RED/WHT | 812 | 12 Volt Reference (w/o E09) | ||||||||||||||||
WHT | 1132 | DLC Class 2 Serial Data (w/E09) | PPL | 1132 | DLC Class 2 Serial Data (w/E09) | ||||||||||||||||||
C3 | WHT | 710 | Class 2 Serial Data (w/E09) | C3 | WHT | 710 | Class 2 Serial Data (w/E09) | ||||||||||||||||
C4 | ORN/BLK | 1835 | Security System Sensor Low Reference (w/o E09) | C4 | BLK | 1835 | Security System Sensor Low Reference (w/o E09) | ||||||||||||||||
PNK | 1020 | Ignition 0 Voltage (w/E09) | PNK | 1020 | Ignition 0 Voltage (w/ E09) | ||||||||||||||||||
C5 | WHT | 1390 | Off/Run/Crank Voltage | C5 | WHT | 1390 | Off/Run/Crank Voltage | ||||||||||||||||
C6 | PNK | 3 | Ignition 1 Voltage | C6 | PNK | 3 | Ignition 1 Voltage | ||||||||||||||||
D1 | ORN | 300 | Ignition 3 Voltage | D1 | ORN | 300 | Ignition 3 Voltage | ||||||||||||||||
D2 | RED/WHT | 342 | Battery Positive Voltage | D2 | RED | 342 | Battery Positive Voltage | ||||||||||||||||
D3 | ORN | 1140 | Battery Positive Voltage (w/o E09) | D3 | ORN | 1140 | Battery Positive Voltage (w/o E09) | ||||||||||||||||
YEL | 1836 | Security System Sensor Signal (w/E09) | YEL | 1836 | Security System Sensor Signal (w/E09) | ||||||||||||||||||
D4 | BLK/YEL | 28 | Horn Relay Control | D4 | BLK | 28 | Horn Relay Control | ||||||||||||||||
BLK | 28 | Horn Relay Control | |||||||||||||||||||||
D5-D6 | -- | -- | Not Used | D5-D6 | -- | -- | Not Used | ||||||||||||||||
E1 | -- | -- | Not Used | E1 | -- | -- | Not Used | ||||||||||||||||
E2 | TAN | 751 | Ground | E2 | BLK/WHT | 751 | Ground | ||||||||||||||||
E3 | GRY/BLK | 87 | Cruise Control Resume/Accel Switch Signal | E3 | GRY/BLK | 87 | Cruise Control Resume/Accel Switch Signal | ||||||||||||||||
E4 | PNK | 94 | Windshield Washer Switch Signal | E4 | PNK | 94 | Windshield Washer Switch Signal | ||||||||||||||||
E5 | DK BLU/WHT | 477 | Windshield Wiper Switch High Signal | E5 | DK BLU | 477 | Windshield Wiper Switch High Signal | ||||||||||||||||
E6 | LT GRN | 80 | Key In Ignition Switch Signal | E6 | LT GRN | 80 | Key In Ignition Switch Signal | ||||||||||||||||
E7 | YEL | 1996 | Remote Shift Selector Signal | E7 | YEL | 1996 | Remote Shift Selector Signal | ||||||||||||||||
E8 | GRY/WHT | 478 | Windshield Wiper Switch Supply Voltage | E8 | GRY | 478 | Windshield Wiper Switch Supply Voltage | ||||||||||||||||
E9 | GRY | 397 | Cruise Control On Switch Signal | E9 | GRY | 397 | Cruise Control On Switch Signal | ||||||||||||||||
E10 | DK BLU | 84 | Cruise Control Set/Coast Switch Signal | E10 | DK BLU | 84 | Cruise Control Set/Coast Switch Signal | ||||||||||||||||
E11 | YEL/BLK | 307 | Headlamp Switch Flash to Pass Signal | E11 | YEL | 307 | Headlamp Switch Flash to Pass Signal | ||||||||||||||||
E12 | LT GRN | 11 | Headlamp High Beam Supply Voltage | E12 | LT GRN | 11 | Headlamp High Beam Supply Voltage | ||||||||||||||||
E13 | BRN | 341 | Ignition 3 Voltage | E13 | BRN | 341 | Ignition 3 Voltage | ||||||||||||||||
|
| ||||||||||||||
|---|---|---|---|---|---|---|---|---|---|---|---|---|---|---|---|
Connector Part Information |
| Connector Part Information |
| ||||||||||||
Pin | Wire Color | Circuit No. | Function | Pin | Wire Color | Circuit No. | Function | ||||||||
A1 | DK GRN | 2105 | Side Impact Module - Left - High Control | A1 | DK GRN | 2105 | Side Impact Module - Left - High Control | ||||||||
A2 | BRN | 2106 | Side Impact Module - Left - Low Control | A2 | BRN | 2106 | Side Impact Module - Left - Low Control | ||||||||
B1 | GRY | 2103 | Side Impact Module - Right - High Control | B1 | GRY | 2103 | Side Impact Module - Right - High Control | ||||||||
B2 | DK BLU | 2104 | Side Impact Module - Right - Low Control | B2 | DK BLU | 2104 | Side Impact Module - Right - Low Control | ||||||||
|
| ||||||||||||||
|---|---|---|---|---|---|---|---|---|---|---|---|---|---|---|---|
Connector Part Information |
| Connector Part Information |
| ||||||||||||
Pin | Wire Color | Circuit No. | Function | Pin | Wire Color | Circuit No. | Function | ||||||||
A | LT BLU | 1957 | Left Front Midrange Speaker Output (-) w/UQA | A | LT BLU | 1957 | Left Front Midrange Speaker Output (-) w/UQA | ||||||||
GRY | 118 | Left Front Speaker Output (-) w/o UQA | GRY | 118 | Left Front Speaker Output (-) w/o UQA | ||||||||||
B | DK BLU | 1857 | Left Front Midrange Speaker Output (+) w/UQA | B | DK BLU | 1857 | Left Front Midrange Speaker Output (+) w/UQA | ||||||||
TAN | 201 | Left Front Speaker Output (+) w/o UQA | TAN | 201 | Left Front Speaker Output (+) w/o UQA | ||||||||||
C | DK GRN | 1953 | Right Front Midrange Speaker Output (-) w/UQA | C | DK GRN | 1953 | Right Front Midrange Speaker Output (-) w/UQA | ||||||||
DK GRN | 117 | Right Front Speaker Output (-) w/o UQA | DK GRN | 117 | Right Front Speaker Output (-) w/o UQA | ||||||||||
D | ORN | 1853 | Right Front Midrange Speaker Output (+) w/UQA | D | ORN | 1853 | Right Front Midrange Speaker Output (+) w/UQA | ||||||||
ORN | 200 | Right Front Speaker Output (+) w/o UQA | ORN | 200 | Right Front Speaker Output (+) w/o UQA | ||||||||||
E | DK GRN | 1947 | Left Front Low Level Audio Signal (-) w/UQA | E | DK GRN | 1947 | Left Front Low Level Audio Signal (-) w/UQA | ||||||||
YEL | 116 | Left Rear Speaker Output (-) w/o UQA | YEL | 116 | Left Rear Speaker Output (-) w/o UQA | ||||||||||
F | TAN | 511 | Left Front Low Level Audio Signal w/UQA | F | TAN | 511 | Left Front Low Level Audio Signal w/UQA | ||||||||
BRN | 199 | Left Rear Speaker Output (+) w/o UQA | BRN | 199 | Left Rear Speaker Output (+) w/o UQA | ||||||||||
G | ORN/BLK | 1546 | Front Low Level Audio Signal w/UQA | G | ORN/BLK | 1546 | Front Low Level Audio Signal w/UQA | ||||||||
LT BLU | 115 | Right Rear Speaker Output (-) w/o UQA | LT BLU | 115 | Right Rear Speaker Output (-) w/o UQA | ||||||||||
H | LT GRN | 512 | Right Front Low Level Audio Signal w/UQA | H | LT GRN | 512 | Right Front Low Level Audio Signal w/UQA | ||||||||
DK BLU | 46 | Right Rear Speaker Output (+) w/o UQA | DK BLU | 46 | Right Rear Speaker Output (+) w/o UQA | ||||||||||
|
| ||||||||||||||
|---|---|---|---|---|---|---|---|---|---|---|---|---|---|---|---|
Connector Part Information |
| Connector Part Information |
| ||||||||||||
Pin | Wire Color | Circuit No. | Function | Pin | Wire Color | Circuit No. | Function | ||||||||
A | BRN/WHT | 230 | Instrument Panel Lamps Dimming Control | A | BRN/WHT | 230 | Instrument Panel Lamps Dimming Control | ||||||||
B | PPL/WHT | 1382 | LED Dimming Signal/LED Dimming Supply | B | PPL/WHT | 1382 | LED Dimming Signal/LED Dimming Supply | ||||||||
C | BRN/WHT | 1571 | Traction Control Switch Signal | C | BRN/WHT | 1571 | Traction Control Switch Signal | ||||||||
D | WHT | 1808 | Service Traction Control Signal | D | WHT | 1853 | Service Traction Control Signal | ||||||||
E | PNK | 639 | Ignition 1 Voltage | E | PNK | 639 | Ignition 1 Voltage | ||||||||
F | -- | -- | Not Used | F | -- | -- | Not Used | ||||||||
|
| ||||||||||||||
|---|---|---|---|---|---|---|---|---|---|---|---|---|---|---|---|
Connector Part Information |
| Connector Part Information |
| ||||||||||||
Pin | Wire Color | Circuit No. | Function | Pin | Wire Color | Circuit No. | Function | ||||||||
A-B | -- | -- | Not Used | A-B | -- | -- | Not Used | ||||||||
C | BLK/WHT | 372 | Remote Radio Audio Output | C | BLK/WHT | 372 | Remote Radio Audio Output | ||||||||
D | BRN/WHT | 367 | Remote Radio Left Audio Signal | D | BRN/WHT | 367 | Remote Radio Left Audio Signal | ||||||||
E | -- | -- | Not Used | E | -- | -- | Not Used | ||||||||
F | BRN | 718 | Low Reference | F | BRN | 718 | Low Reference | ||||||||
G | DK GRN | 734 | Inside Air Temperature Sensor Signal | G | DK GRN | 734 | Inside Air Temperature Sensor Signal | ||||||||
H | WHT/BLK | 1236 | Air Temperature Door Control - Auxiliary | H | WHT/BLK | 1236 | Air Temperature Door Control - Auxiliary | ||||||||
J | YEL | 2161 | Side Impact Sensor - Left - Voltage | J | YEL | 2161 | Side Impact Sensor - Left - Voltage | ||||||||
K | WHT | 2162 | Side Impact Sensor - Left - Signal | K | WHT | 2162 | Side Impact Sensor - Left - Signal | ||||||||
L | TAN | 2163 | Side Impact Sensor - Right - Voltage | L | TAN | 2163 | Side Impact Sensor - Right - Voltage | ||||||||
M | DK GRN | 2164 | Side Impact Sensor - Right - Signal | M | DK GRN | 2164 | Side Impact Sensor - Right - Signal | ||||||||
N | -- | -- | Not Used | N | -- | -- | Not Used | ||||||||
P | BLK/WHT | 238 | Seat Belt Switch - Left | P | BLK/WHT | 238 | Seat Belt Switch - Left | ||||||||
R | DK BLU/WHT | 2218 | Serial Communications Circuit | R | DK BLU/WHT | 2218 | Serial Communications Circuit | ||||||||
S | -- | -- | Not Used | S | -- | -- | Not Used | ||||||||
|
| ||||||||||||||
|---|---|---|---|---|---|---|---|---|---|---|---|---|---|---|---|
Connector Part Information |
| Connector Part Information |
| ||||||||||||
Pin | Wire Color | Circuit No. | Function | Pin | Wire Color | Circuit No. | Function | ||||||||
A | DK BLU | 2576 | Quarter Glass Actuator-Right (Body Type VIN 6) | A | DK BLU | 2576 | Quarter Glass Actuator-Right (Body Type VIN 6) | ||||||||
B | DK GRN | 801 | RAP Fuse Supply Voltage (Body Type VIN 6) | B | DK GRN | 801 | RAP Fuse Supply Voltage (Body Type VIN 6) | ||||||||
C | PPL | 2573 | Quarter Glass Actuator-Left (Body Type VIN 6) | C | PPL | 2573 | Quarter Glass Actuator-Left (Body Type VIN 6) | ||||||||
D | ORN | 3140 | Battery Positive Voltage | D | ORN | 3140 | Battery Positive Voltage | ||||||||
E | BRN/WHT | 230 | Instrument Panel Lamps Dimming Control | E | BRN/WHT | 230 | Instrument Panel Lamps Dimming Control | ||||||||
F | BLK | 1350 | Ground | F | BLK | 1350 | Ground | ||||||||
G | BRN/WHT | 230 | Instrument Panel Lamps Dimming Control (Body Type VIN 3) | G | BRN/WHT | 230 | Instrument Panel Lamps Dimming Control (Body Type VIN 3) | ||||||||
DK BLU | 2574 | Quarter Glass Actuator-Left (Body Type VIN 6) | DK BLU | 2574 | Quarter Glass Actuator-Left (Body Type VIN 6) | ||||||||||
H | ORN | 110 | Sunroof Switch Close Signal (CF5) | H | ORN | 110 | Sunroof Switch Close Signal (CF5) | ||||||||
J | DK BLU | 128 | Sunroof Switch Low Reference (CF5) | J | DK BLU | 128 | Sunroof Switch Low Reference (CF5) | ||||||||
K | BLK | 1150 | Ground | K | BLK | 1150 | Ground | ||||||||
L | BRN | 100 | Sunroof Switch Open Signal | L | BRN | 100 | Sunroof Switch Open Signal | ||||||||
M | DK GRN | 1488 | Noise Reduction Microphone Supply Voltage | M | DK GRN | 1488 | Noise Reduction Microphone Supply Voltage | ||||||||
N | LT GRN/BLK | 1354 | Drain Wire | N | LT GRN/BLK | 1354 | Drain Wire | ||||||||
P | DK GRN | 654 | Cellular Telephone Microphone Low Reference (UE1) | P | DK GRN | 654 | Cellular Telephone Microphone Low Reference (UE1) | ||||||||
R | GRY | 655 | Cellular Telephone Microphone Signal (UE1) | R | GRY | 655 | Cellular Telephone Microphone Signal (UE1) | ||||||||
S | PPL | 2375 | Quarter Glass Actuator-Right (Body Type VIN 6) | S | PPL | 2375 | Quarter Glass Actuator-Right (Body Type VIN 6) | ||||||||
|
| ||||||||||||||
|---|---|---|---|---|---|---|---|---|---|---|---|---|---|---|---|
Connector Part Information |
| Connector Part Information |
| ||||||||||||
Pin | Wire Color | Circuit No. | Function | Pin | Wire Color | Circuit No. | Function | ||||||||
A | BRN/WHT | 2517 | Keypad Red LED Signal | A | BRN/WHT | 2517 | Keypad Red LED Signal | ||||||||
B | YEL/BLK | 2516 | Keypad Green LED Signal | B | YEL/BLK | 2516 | Keypad Green LED Signal | ||||||||
C | DK GRN/WHT | 2514 | Keypad Signal | C | DK GRN/WHT | 2514 | Keypad Signal | ||||||||
D | LT GRN/BLK | 2515 | Keypad Supply Voltage | D | LT GRN/BLK | 2515 | Keypad Supply Voltage | ||||||||
E | DK GRN | 654 | Cellular Telephone Microphone Low Reference | E | DK GRN | 654 | Cellular Telephone Microphone Low Reference | ||||||||
F | GRY | 655 | Cellular Telephone Microphone Signal | F | GRY | 655 | Cellular Telephone Microphone Signal | ||||||||
|
| ||||||||||||||
|---|---|---|---|---|---|---|---|---|---|---|---|---|---|---|---|
Connector Part Information |
| Connector Part Information |
| ||||||||||||
Pin | Wire Color | Circuit No. | Function | Pin | Wire Color | Circuit No. | Function | ||||||||
A1 | BLK | 1946 | Right Rear Low Level Audio Signal (-) (UK6) | A1 | BLK | 1946 | Right Rear Low Level Audio Signal (-) (UK6) | ||||||||
A2 | YEL | 2277 | HVAC Rear Control Assembly Disable Signal (Body Type VIN 3 & CJ3) | A2 | YEL | 2277 | HVAC Rear Control Assembly Disable Signal (CJ3) | ||||||||
A3 | BRN/WHT | 230 | Instrument Panel Lamps Dimming Control | A3 | BRN/WHT | 230 | Instrument Panel Lamps Dimming Control | ||||||||
A4 | BRN | 341 | Ignition 3 Voltage (Z70 w/NW7 & Body Type VIN 3 w/CJ3) | A4 | BRN | 341 | Ignition 3 Voltage | ||||||||
A4 | BRN | 341 | Ignition 3 Voltage | ||||||||||||
A5 | ORN | 1040 | Battery Positive Voltage | A5 | ORN | 1040 | Battery Positive Voltage | ||||||||
A6 | BLK | 2250 | Ground | A6 | BLK | 2250 | Ground | ||||||||
A7 | GRY | 2289 | Rear HVAC/Audio Class 2 Serial Data | A7 | GRY | 2289 | Rear HVAC/Audio Class 2 Serial Data | ||||||||
A8 | BRN | 599 | Left Rear Low Level Audio Signal (UK6) | A8 | BRN | 599 | Left Rear Low Level Audio Signal (UK6) | ||||||||
A9 | DK BLU | 546 | Right Rear Low Level Audio Signal (UK6) | A9 | DK BLU | 546 | Right Rear Low Level Audio Signal (UK6) | ||||||||
B1 | BRN | 199 | Left Rear Speaker Output (+) (UK6) | B1 | BRN | 199 | Left Rear Speaker Output (+) (UK6) | ||||||||
B2 | DK BLU | 46 | Right Rear Speaker Output (+) (UK6) | B2 | DK BLU | 46 | Right Rear Speaker Output (+) (UK6) | ||||||||
B3 | BRN | 1999 | Left Rear Low Level Audio Signal (-) (UK6) | B3 | BRN | 1999 | Left Rear Low Level Audio Signal (-) (UK6) | ||||||||
B4 | ORN | 4340 | Battery Positive Voltage (UK6) | B4 | ORN | 4340 | Battery Positive Voltage | ||||||||
B5 | YEL | 116 | Left Rear Speaker Output (-) (UK6) | B5 | YEL | 116 | Left Rear Speaker Output (-) (UK6) | ||||||||
B6 | LT BLU | 115 | Right Rear Speaker Output (-) (UK6) | B6 | LT BLU | 115 | Right Rear Speaker Output (-) (UK6) | ||||||||
B7 | DK GRN | 2347 | Auxiliary Blower Motor High Speed Control (CJ2) | B7 | DK GRN | 2347 | Auxiliary Blower Motor High Speed Control (CJ2) | ||||||||
B8 | -- | -- | Not Used | B8 | -- | -- | Not Used | ||||||||
B9 | DK BLU | 2348 | Auxiliary Blower Motor Medium Speed Control (CJ2) | B9 | DK BLU | 2348 | Auxiliary Blower Motor Medium Speed Control (CJ2) | ||||||||
|
| ||||||||||||||
|---|---|---|---|---|---|---|---|---|---|---|---|---|---|---|---|
Connector Part Information |
| Connector Part Information |
| ||||||||||||
Pin | Wire Color | Circuit No. | Function | Pin | Wire Color | Circuit No. | Function | ||||||||
A | BLK | 1350 | Ground | A | BLK/PPL | 135 | Ground | ||||||||
B | ORN | 1740 | Battery Positive Voltage | B | YEL/RED | 174 | Battery Positive Voltage | ||||||||
C | DK BLU | 128 | Sunroof Switch Low Reference | C | BRN | 128 | Sunroof Switch Low Reference | ||||||||
D | BRN | 100 | Sunroof Switch Open Signal | D | WHT | 100 | Sunroof Switch Open Signal | ||||||||
E | ORN | 110 | Sunroof Switch Close Signal | E | LT BLU | 110 | Sunroof Switch Close Signal | ||||||||
F | DK BLU | 1353 | RAP Supply Voltage | F | PPL | 1353 | RAP Supply Voltage | ||||||||
|
| ||||||||||||||
|---|---|---|---|---|---|---|---|---|---|---|---|---|---|---|---|
Connector Part Information |
| Connector Part Information |
| ||||||||||||
Pin | Wire Color | Circuit No. | Function | Pin | Wire Color | Circuit No. | Function | ||||||||
A | GRY | 2598 | Low Reference | A | GRY | 2598 | Low Reference | ||||||||
B | DK BLU | 1199 | Auxiliary Air Temp Door Position Signal | B | DK BLU | 1199 | Auxiliary Air Temp Door Position Signal | ||||||||
C | YEL | 2214 | Auxiliary Door Temp Door Control | C | YEL | 2214 | Auxiliary Door Temp Door Control | ||||||||
D | GRY | 2599 | Auxiliary Mode Door Control | D | GRY | 2599 | Auxiliary Mode Door Control | ||||||||
E | RED | 2600 | Auxiliary Actuator Door Control | E | RED | 2600 | Auxiliary Actuator Door Control | ||||||||
F | BRN/WHT | 2601 | Auxiliary Mode Door Position Signal | F | BRN/WHT | 2601 | Auxiliary Mode Door Position Signal | ||||||||
G | GRY | 598 | 5V Reference | G | GRY | 598 | 5V Reference | ||||||||
H | -- | -- | Not Used | H | GRY | 2603 | TXV Solenoid Control (Not Equipped) | ||||||||
J | -- | -- | Not Used | J | -- | -- | Not Used | ||||||||
K | GRY | 2604 | Blower Motor Control | K | GRY | 2604 | Blower Motor Control | ||||||||
|
| ||||||||||||||
|---|---|---|---|---|---|---|---|---|---|---|---|---|---|---|---|
Connector Part Information |
| Connector Part Information |
| ||||||||||||
Pin | Wire Color | Circuit No. | Function | Pin | Wire Color | Circuit No. | Function | ||||||||
1 | LT GRN/BLK | 822 | VSS Low Signal | A | LT GRN/BLK | 822 | VSS Low Signal | ||||||||
2 | PPL/WHT | 821 | VSS High Signal | B | PPL/WHT | 821 | VSS High Signal | ||||||||
|
| ||||||||||||||
|---|---|---|---|---|---|---|---|---|---|---|---|---|---|---|---|
Connector Part Information |
| Connector Part Information |
| ||||||||||||
Pin | Wire Color | Circuit No. | Function | Pin | Wire Color | Circuit No. | Function | ||||||||
A | BRN | 1046 | DDM Class 2 Serial Data | A | BRN/WHT | 1046 | DDM Class 2 Serial Data | ||||||||
B | ORN | 2740 | Battery Positive Voltage | B | ORN | 2740 | Battery Positive Voltage | ||||||||
C | ORN | 3540 | Battery Positive Voltage | C | ORN | 3540 | Battery Positive Voltage | ||||||||
D | BLK | 1350 | Ground | D | BLK | 1350 | Ground | ||||||||
E | BLK/WHT | 238 | Seat Belt Switch - Left | E | BLK/WHT | 238 | Seat Belt Switch - Left | ||||||||
F-K | -- | -- | Not Used | F-K | -- | -- | Not Used | ||||||||
|
| ||||||||||||||
|---|---|---|---|---|---|---|---|---|---|---|---|---|---|---|---|
Connector Part Information |
| Connector Part Information |
| ||||||||||||
Pin | Wire Color | Circuit No. | Function | Pin | Wire Color | Circuit No. | Function | ||||||||
A | BLK | 950 | DDM Class 2 Serial Data | A | BLK | 950 | DDM Class 2 Serial Data | ||||||||
B | ORN | 940 | Battery Positive Voltage | B | ORN | 940 | Battery Positive Voltage | ||||||||
C | RED/WHT | 2077 | Battery Positive Voltage | C | RED/WHT | 2077 | Battery Positive Voltage | ||||||||
D | LT GRN | 2078 | Ground | D | LT GRN | 2078 | Ground | ||||||||
E | YEL/BLK | 2079 | Seat Belt Switch - Left | E | YEL/BLK | 2079 | Seat Belt Switch - Left | ||||||||
F | YEL | 2080 | Driver Heated Seat Cushion Temperature Sensor Low Reference | F | YEL | 2080 | Driver Heated Seat Cushion Temperature Sensor Low Reference | ||||||||
G | YEL | 1063 | Driver Seat Lumbar Horizontal Position Sensor Signal | G | YEL | 1063 | Driver Seat Lumbar Horizontal Position Sensor Signal | ||||||||
H | PNK | 610 | Driver Seat Lumbar Motor Rearward Control | H | PNK | 610 | Driver Seat Lumbar Motor Rearward Control | ||||||||
J | DK BLU | 611 | Driver Seat Lumbar Motor Forward Control | J | DK BLU | 611 | Driver Seat Lumbar Motor Forward Control | ||||||||
K | BLK | 1062 | Driver Seat Lumbar Vertical Position Sensor Signal | K | BLK | 1062 | Driver Seat Lumbar Vertical Position Sensor Signal | ||||||||
L | TAN | 768 | Driver Seat Lumbar Motor Up Control | L | TAN | 768 | Driver Seat Lumbar Motor Up Control | ||||||||
M | PPL | 767 | Driver Seat Lumbar Motor Down Control | M | PPL | 767 | Driver Seat Lumbar Motor Down Control | ||||||||
N-S | -- | -- | Not Used | N-S | -- | -- | Not Used | ||||||||
|
| ||||||||||||||
|---|---|---|---|---|---|---|---|---|---|---|---|---|---|---|---|
Connector Part Information |
| Connector Part Information |
| ||||||||||||
Pin | Wire Color | Circuit No. | Function | Pin | Wire Color | Circuit No. | Function | ||||||||
A | WHT/BLK | 570 | Driver Seat Recline Motor Position Sensor Signal | A | WHT/BLK | 570 | Driver Seat Recline Motor Position Sensor Signal | ||||||||
B | BLK | 850 | Ground | B | BLK | 850 | Ground | ||||||||
C | BRN/WHT | 557 | Front Vertical Seat Motor Position Sensor Signal | C | BRN/WHT | 557 | Front Vertical Seat Motor Position Sensor Signal | ||||||||
D | TAN | 568 | Rear Vertical Seat Motor Position Sensor Signal | D | TAN | 568 | Rear Vertical Seat Motor Position Sensor Signal | ||||||||
E | DK GRN | 569 | Horizontal Seat Motor Position Sensor Signal | E | DK GRN | 569 | Horizontal Seat Motor Position Sensor Signal | ||||||||
F | ORN | 840 | Battery Positive Voltage | F | ORN | 840 | Battery Positive Voltage | ||||||||
|
| ||||||||||||||
|---|---|---|---|---|---|---|---|---|---|---|---|---|---|---|---|
Connector Part Information |
| Connector Part Information |
| ||||||||||||
Pin | Wire Color | Circuit No. | Function | Pin | Wire Color | Circuit No. | Function | ||||||||
A | TAN | 1074 | PDM Class 2 Serial Data | A | BRN/WHT | 1074 | PDM Class 2 Serial Data | ||||||||
B | ORN | 2740 | Battery Positive Voltage | B | ORN | 2740 | Battery Positive Voltage | ||||||||
C | ORN | 3540 | Battery Positive Voltage | C | ORN | 3540 | Battery Positive Voltage | ||||||||
D | BLK | 1450 | Ground | D | BLK | 1450 | Ground | ||||||||
E-K | -- | -- | Not Used | E-K | -- | -- | Not Used | ||||||||
|
| ||||||||||||||
|---|---|---|---|---|---|---|---|---|---|---|---|---|---|---|---|
Connector Part Information |
| Connector Part Information |
| ||||||||||||
Pin | Wire Color | Circuit No. | Function | Pin | Wire Color | Circuit No. | Function | ||||||||
A | BLK | 950 | PDM Class 2 Serial Data | A | BLK | 950 | PDM Class 2 Serial Data | ||||||||
B | ORN | 940 | Battery Positive Voltage | B | ORN | 940 | Battery Positive Voltage | ||||||||
C | RED/WHT | 2077 | Battery Positive Voltage | C | RED/BLK | 2077 | Battery Positive Voltage | ||||||||
D | LT GRN | 2078 | Ground | D | LT GRN | 2078 | Ground | ||||||||
E | YEL | -- | Not Used | E | YEL | -- | Not Used | ||||||||
F | YEL | 2080 | Driver Heated Seat Cushion Temperature Sensor Low Reference | F | YEL | 2080 | Driver Heated Seat Cushion Temperature Sensor Low Reference | ||||||||
G | YEL | 1063 | Passenger Seat Lumbar Horizontal Position Sensor Signal | G | YEL | 1063 | Passenger Seat Lumbar Horizontal Position Sensor Signal | ||||||||
H | PNK | 610 | Passenger Seat Lumbar Motor Rearward Control | H | PNK | 610 | Passenger Seat Lumbar Motor Rearward Control | ||||||||
J | DK BLU | 611 | Passenger Seat Lumbar Motor Forward Control | J | DK BLU | 611 | Passenger Seat Lumbar Motor Forward Control | ||||||||
K | BLK | 1062 | Passenger Seat Lumbar Vertical Position Sensor Signal | K | BLK | 1062 | Passenger Seat Lumbar Vertical Position Sensor Signal | ||||||||
L | TAN | 768 | Passenger Seat Lumbar Motor Up Control | L | TAN | 768 | Passenger Seat Lumbar Motor Up Control | ||||||||
M | PPL | 767 | Passenger Seat Lumbar Motor Down Control | M | PPL | 767 | Passenger Seat Lumbar Motor Down Control | ||||||||
N-S | -- | -- | Not Used | N-S | -- | -- | Not Used | ||||||||
|
| ||||||||||||||
|---|---|---|---|---|---|---|---|---|---|---|---|---|---|---|---|
Connector Part Information |
| Connector Part Information |
| ||||||||||||
Pin | Wire Color | Circuit No. | Function | Pin | Wire Color | Circuit No. | Function | ||||||||
A | BLK/WHT | 570 | Passenger Seat Recline Motor Position Sensor Signal | A | BLK/WHT | 570 | Passenger Seat Recline Motor Position Sensor Signal | ||||||||
B | BLK | 850 | Ground | B | BLK | 850 | Ground | ||||||||
C | BRN/WHT | 557 | Front Vertical Seat Motor Position Sensor Signal | C | BRN/WHT | 557 | Front Vertical Seat Motor Position Sensor Signal | ||||||||
D | TAN | 568 | Rear Vertical Seat Motor Position Sensor Signal | D | TAN | 568 | Rear Vertical Seat Motor Position Sensor Signal | ||||||||
E | DK GRN | 569 | Horizontal Seat Motor Position Sensor Signal | E | DK GRN | 569 | Horizontal Seat Motor Position Sensor Signal | ||||||||
F | ORN | 840 | Battery Positive Voltage | F | ORN | 840 | Battery Positive Voltage | ||||||||
|
| ||||||||||||||
|---|---|---|---|---|---|---|---|---|---|---|---|---|---|---|---|
Connector Part Information |
| Connector Part Information |
| ||||||||||||
Pin | Wire Color | Circuit No. | Function | Pin | Wire Color | Circuit No. | Function | ||||||||
A | RED | 2600 | Auxiliary Actuator Door Control | A | RED | 2600 | Auxiliary Actuator Door Control | ||||||||
RED | 2600 | Auxiliary Actuator Door Control | |||||||||||||
B | YEL | 2214 | Auxiliary Air Temperature Door Control | B | YEL | 2214 | Auxiliary Air Temperature Door Control | ||||||||
C | -- | -- | Not Used | C | -- | -- | Not Used | ||||||||
D | BLK | 1650 | Ground | D | BLK | 1650 | Ground | ||||||||
E | ORN | 840 | Battery Positive Voltage | E | ORN | 840 | Battery Positive Voltage | ||||||||
F | GRY | 598 | Battery Positive Voltage | F | GRY/WHT | 840 | Battery Positive Voltage | ||||||||
GRY/WHT | 840 | Battery Positive Voltage | |||||||||||||
G | GRY | 2604 | Auxiliary Blower Motor Speed Control | G | GRY | 2604 | Auxiliary Blower Motor Speed Control | ||||||||
H | BRN/WHT | 2601 | Auxiliary Mode Door Position Signal | H | BRN/WHT | 2601 | Auxiliary Mode Door Position Signal | ||||||||
J | DK BLU | 1199 | Air Temperature Door Control | J | DK BLU | 1199 | Air Temperature Door Control | ||||||||
K | GRY | 2599 | Auxiliary Mode Door Control | K | GRY/WHT | 2599 | Auxiliary Mode Door Control | ||||||||
L | GRY | 2598 | Low Reference | L | GRY/RED | 2598 | Low Reference | ||||||||
GRY/RED | 2598 | Low Reference | |||||||||||||
M | -- | -- | Not Used | M | -- | -- | Not Used | ||||||||
|
| ||||||||||||||
|---|---|---|---|---|---|---|---|---|---|---|---|---|---|---|---|
Connector Part Information |
| Connector Part Information |
| ||||||||||||
Pin | Wire Color | Circuit No. | Function | Pin | Wire Color | Circuit No. | Function | ||||||||
A | GRY | 118 | Left Front Speaker Output (-) | A | GRY | 118 | Left Front Speaker Output (-) | ||||||||
B | -- | -- | Not Used | B | -- | -- | Not Used | ||||||||
C | LT BLU | 2114 | Left Turn Signal Lamps Supply Voltage | C | LT BLU | 2114 | Left Turn Signal Lamps Supply Voltage | ||||||||
D | YEL | 2161 | Side Impact Sensor - Voltage | D | YEL | 2161 | Side Impact Sensor - Voltage | ||||||||
E | WHT | 2162 | Side Impact Sensor - Left - Sensor | E | WHT | 2162 | Side Impact Sensor - Left - Sensor | ||||||||
F | ORN | 1240 | Battery Positive Voltage | F | ORN | 1240 | Battery Positive Voltage | ||||||||
G | TAN | 201 | Left Front Speaker Output (+) | G | TAN | 201 | Left Front Speaker Output (+) | ||||||||
H | BRN | 1046 | DDM Class 2 Serial Data | H | BRN | 1046 | DDM Class 2 Serial Data | ||||||||
J | GRY | 1690 | Automatic Day/Night Mirror Signal (D25/D59 only) | J | GRY | 1690 | Automatic Day/Night Mirror Signal (D25/D59 only) | ||||||||
K | PNK | 1691 | Automatic Day/Night Mirror Low Reference (D25/D59 only) | K | PNK | 1691 | Automatic Day/Night Mirror Low Reference (D25/D59 only) | ||||||||
L | ORN | 4140 | Battery Positive Voltage | L | ORN | 4140 | Battery Positive Voltage | ||||||||
M | BLK | 1350 | Ground | M | BLK | 1350 | Ground | ||||||||
|
| ||||||||||||||
|---|---|---|---|---|---|---|---|---|---|---|---|---|---|---|---|
Connector Part Information |
| Connector Part Information |
| ||||||||||||
Pin | Wire Color | Circuit No. | Function | Pin | Wire Color | Circuit No. | Function | ||||||||
A | ORN | 1340 | Battery Positive Voltage | A | ORN | 1340 | Battery Positive Voltage | ||||||||
B | -- | -- | Not Used | B | -- | -- | Not Used | ||||||||
C | DK BLU | 2115 | Right Turn Signal Lamps Supply Voltage | C | DK BLU | 2115 | Right Turn Signal Lamps Supply Voltage | ||||||||
D | TAN | 2163 | Side Impact Sensor - Right - Voltage | D | TAN | 2163 | Side Impact Sensor - Right - Voltage | ||||||||
E | DK GRN | 2164 | Side Impact Sensor - Right - Signal | E | DK GRN | 2164 | Side Impact Sensor - Right - Signal | ||||||||
F | LT GRN | 200 | Right Front Speaker Output (+) | F | LT GRN | 200 | Right Front Speaker Output (+) | ||||||||
G | BLK | 1450 | Ground | G | BLK | 1450 | Ground | ||||||||
H | TAN | 1047 | PDM Class 2 Serial Data | H | TAN | 1047 | PDM Class 2 Serial Data | ||||||||
J-K | -- | -- | Not Used | J-K | -- | -- | Not Used | ||||||||
L | ORN | 4240 | Battery Positive Voltage | L | ORN | 4240 | Battery Positive Voltage | ||||||||
M | DK GRN | 117 | Right Front Speaker Output (-) | M | DK GRN | 117 | Right Front Speaker Output (-) | ||||||||
|
| ||||||||||||||||||
|---|---|---|---|---|---|---|---|---|---|---|---|---|---|---|---|---|---|---|---|
Connector Part Information |
| Connector Part Information |
| ||||||||||||||||
Pin | Wire Color | Circuit No. | Function | Pin | Wire Color | Circuit No. | Function | ||||||||||||
A | LT BLU/BLK | 747 | Left Rear Door Ajar Switch Signal | A | LT BLU/BLK | 747 | Left Rear Door Ajar Switch Signal | ||||||||||||
B | WHT | 1185 | Power Window Switch Left Rear Up Signal | B | WHT | 1185 | Power Window Switch Left Rear Up Signal | ||||||||||||
C | YEL | 1187 | Power Window Switch Left Rear Down Signal | C | YEL | 1187 | Power Window Switch Left Rear Down Signal | ||||||||||||
D | -- | -- | Not Used | D | -- | -- | Not Used | ||||||||||||
E | ORN | 1240 | Battery Positive Voltage | E | ORN | 1240 | Battery Positive Voltage | ||||||||||||
F | -- | -- | Not Used | F | -- | -- | Not Used | ||||||||||||
G | BLK | 1350 | Ground | G | BLK | 1350 | Ground | ||||||||||||
H | LT BLU | 2265 | Power Window Lockout Left Rear Signal | H | LT BLU | 2265 | Power Window Lockout Left Rear Signal | ||||||||||||
J | -- | -- | Not Used | J | -- | -- | Not Used | ||||||||||||
K | BRN/WHT | 230 | Instrument Panel Lamps Dimming Control | K | BRN/WHT | 230 | Instrument Panel Lamps Dimming Control | ||||||||||||
L | BLK | 1350 | Ground | L | BLK | 1350 | Ground | ||||||||||||
M-N | -- | -- | Not Used | M-N | -- | -- | Not Used | ||||||||||||
P | TAN | 294 | Door Lock Motor Unlock | P | TAN | 294 | Door Lock Motor Unlock | ||||||||||||
R | GRY | 295 | Door Lock Motor Lock | R | GRY | 295 | Door Lock Motor Lock | ||||||||||||
S | YEL | 116 | Left Rear Speaker Output (-) | S | YEL | 116 | Left Rear Speaker Output (-) | ||||||||||||
T | BRN | 199 | Left Rear Speaker Output (+) | T | BRN | 199 | Left Rear Speaker Output (+) | ||||||||||||
|
| ||||||||||||||||||
|---|---|---|---|---|---|---|---|---|---|---|---|---|---|---|---|---|---|---|---|
Connector Part Information |
| Connector Part Information |
| ||||||||||||||||
Pin | Wire Color | Circuit No. | Function | Pin | Wire Color | Circuit No. | Function | ||||||||||||
A | LT GRN/BLK | 748 | Right Rear Door Ajar Switch Signal | A | LT GRN/BLK | 748 | Right Rear Door Ajar Switch Signal | ||||||||||||
B | GRY/BLK | 1186 | Power Window Switch Right Rear Up Signal | B | GRY/BLK | 1186 | Power Window Switch Right Rear Up Signal | ||||||||||||
C | DK GRN | 1188 | Power Window Switch Right Rear Down Signal | C | DK GRN | 1188 | Power Window Switch Right Rear Down Signal | ||||||||||||
D | -- | -- | Not Used | D | -- | -- | Not Used | ||||||||||||
E | ORN | 1340 | Battery Positive Voltage | E | ORN | 1340 | Battery Positive Voltage | ||||||||||||
F | -- | -- | Not Used | F | -- | -- | Not Used | ||||||||||||
G | BLK | 1450 | Ground | G | BLK | 1450 | Ground | ||||||||||||
H | LT GRN | 2266 | Power Window Lockout Right Rear Signal | H | LT GRN | 2266 | Power Window Lockout Right Rear Signal | ||||||||||||
J | -- | -- | Not Used | J | -- | -- | Not Used | ||||||||||||
K | BRN/WHT | 230 | Instrument Panel Lamps Dimming Control | K | BRN/WHT | 230 | Instrument Panel Lamps Dimming Control | ||||||||||||
L | BLK | 1450 | Ground | L | BLK | 1450 | Ground | ||||||||||||
M-N | -- | -- | Not Used | M-N | -- | -- | Not Used | ||||||||||||
P | TAN | 294 | Door Lock Motor Unlock | P | TAN | 294 | Door Lock Motor Unlock | ||||||||||||
R | GRY | 295 | Door Lock Motor Lock | R | GRY | 295 | Door Lock Motor Lock | ||||||||||||
S | DK BLU | 46 | Right Rear Speaker Output (+) | S | DK BLU | 46 | Right Rear Speaker Output (+) | ||||||||||||
T | LT BLU | 115 | Right Rear Speaker Output (-) | T | LT BLU | 115 | Right Rear Speaker Output (-) | ||||||||||||
|
| ||||||||||||||
|---|---|---|---|---|---|---|---|---|---|---|---|---|---|---|---|
Connector Part Information |
| Connector Part Information |
| ||||||||||||
Pin | Wire Color | Circuit No. | Function | Pin | Wire Color | Circuit No. | Function | ||||||||
A | ORN | 2740 | Battery Positive Voltage | A | ORN | 2740 | Battery Positive Voltage | ||||||||
B | ORN | 4440 | Battery Positive Voltage | B | ORN | 4440 | Battery Positive Voltage | ||||||||
C | ORN | 3640 | Battery Positive Voltage | C | ORN | 3640 | Battery Positive Voltage | ||||||||
D | BLK | 1550 | Ground | D | BLK | 1550 | Ground | ||||||||
E | LT BLU | 2288 | LGM Class 2 Serial Data | E | LT BLU | 2288 | LGM Class 2 Serial Data | ||||||||
F | BRN | 2509 | Left Rear Park Lamps Supply Voltage | F | BRN | 2509 | Left Rear Park Lamps Supply Voltage | ||||||||
|
| ||||||||||||||
|---|---|---|---|---|---|---|---|---|---|---|---|---|---|---|---|
Connector Part Information |
| Connector Part Information |
| ||||||||||||
Pin | Wire Color | Circuit No. | Function | Pin | Wire Color | Circuit No. | Function | ||||||||
A | BRN | 2509 | Left Rear Park Lamps Supply Voltage | A | BRN | 2509 | Left Rear Park Lamps Supply Voltage | ||||||||
B | BLK | 1550 | Ground | B | BLK | 1550 | Ground | ||||||||