GM Service Manual Online
For 1990-2009 cars only

Removal Procedure

The upper and lower hinges of the vehicle are similar. Both hinges do not have to be replaced unless damage warrants replacement of both. The hinges are similar on left and right sides of the vehicle. These replacement procedures apply to all hinges.


    Object Number: 741729  Size: SH
  1. Remove all of the related panels and components.
  2. Remove the sealer surrounding the hinge (1).

  3. Object Number: 741730  Size: SH
  4. Scribe the location of the hinge (1).

  5. Object Number: 741733  Size: SH
  6. Hand-sand the existing hinge (1) with 100 grit sandpaper to locate the 4 weld locations.

  7. Object Number: 741735  Size: SH

    Important: Punch the center of the weld so that as much of the weld as possible is removed during drilling.

  8. Center punch each weld location (1).

  9. Object Number: 741736  Size: SH

    Important: Drill through the hinge base only (1). Do not drill through the mating surface (2).

  10. At each punch location, drill a 3 mm (1/8 in) pilot hole (1).

  11. Object Number: 741737  Size: SH
  12. Using the pilot hole as a guide, drill through the hinge base using a 19 mm (3/4 in) rotabroach hole saw or equivalent (2).

  13. Object Number: 741738  Size: SH

    Important: If necessary, use a chisel to separate the hinge from the mating surface.

  14. Remove the hinge.

  15. Object Number: 741740  Size: SH
  16. Remove the remaining weld from the mating surface to ensure a flush fit of the service hinge.

Installation Procedure


    Object Number: 741741  Size: SH
  1. Position the service hinge within the scribe marks on the hinge pillar.
  2. Mark each hole location on the hinge pillar according to the service hinge.

  3. Object Number: 741747  Size: SH
  4. Drill a 3 mm (1/8 in) pilot hole at each marked location (1).
  5. Drill a 13 mm (1/2 in) hole at each pilot hole location (2).
  6. Clean and prepare all bare-metal surfaces.
  7. Important: Prior to refinishing, refer to the publication GM 4901M-2001 GM Approved Refinish Materials for recommended products. Do not combine paint systems. Refer to paint manufacturer's recommendations.

  8. Apply an anti-corrosion primer.

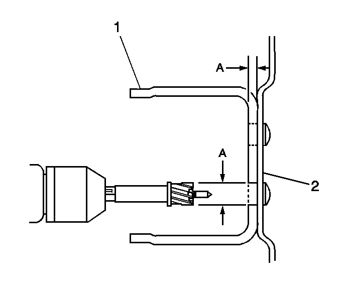
  9. Object Number: 741749  Size: SH
  10. Pass the feed wire (1) through the hinge (2), body pillar (3) and backing plate (4).

  11. Object Number: 741751  Size: SH
  12. Crimp the feed wire (1) behind the backing plate.

  13. Object Number: 741752  Size: SH
  14. Pull the feed wire 1) while guiding the backing plate (2) into the inner structure.

  15. Object Number: 741754  Size: SH
  16. Place the hinge (1) into position and hand tighten the two attaching bolts.

  17. Object Number: 741755  Size: SH
  18. Remove the feed wire (1) from the hinge.

  19. Object Number: 741756  Size: SH
  20. Install and hand tighten the two remaining bolts.
  21. Align the hinge to the original scribe location and torque all of the four bolts to 25 N·m (18 lb ft).

  22. Object Number: 741757  Size: SH
  23. Clean and prepare all bare-metal surfaces.
  24. Apply a full-bodied caulk around the service hinge (1).
  25. Refinish as necessary.
  26. Install and align all of the related panels and components.