GM Service Manual Online
For 1990-2009 cars only
Makes
🢒
Oldsmobile
🢒
2003
🢒
Bravada
🢒 Brake Warning System
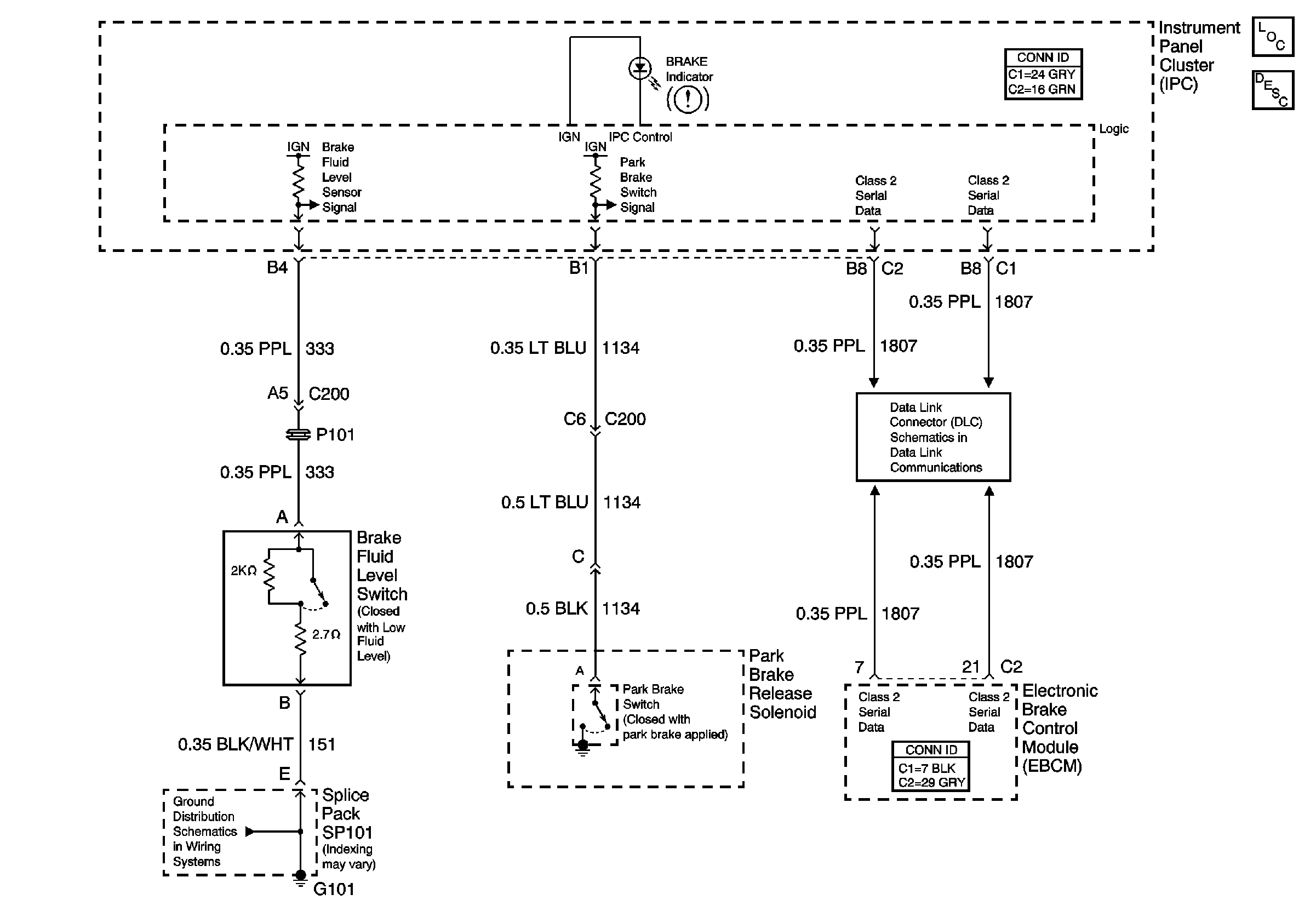
Brake Warning System
Master Electrical Component List
Brake Warning System Description and Operation
Class 2 Serial Data (1 of 3)
G101