GM Service Manual Online
For 1990-2009 cars only
Makes
🢒
Oldsmobile
🢒
2003
🢒
Bravada
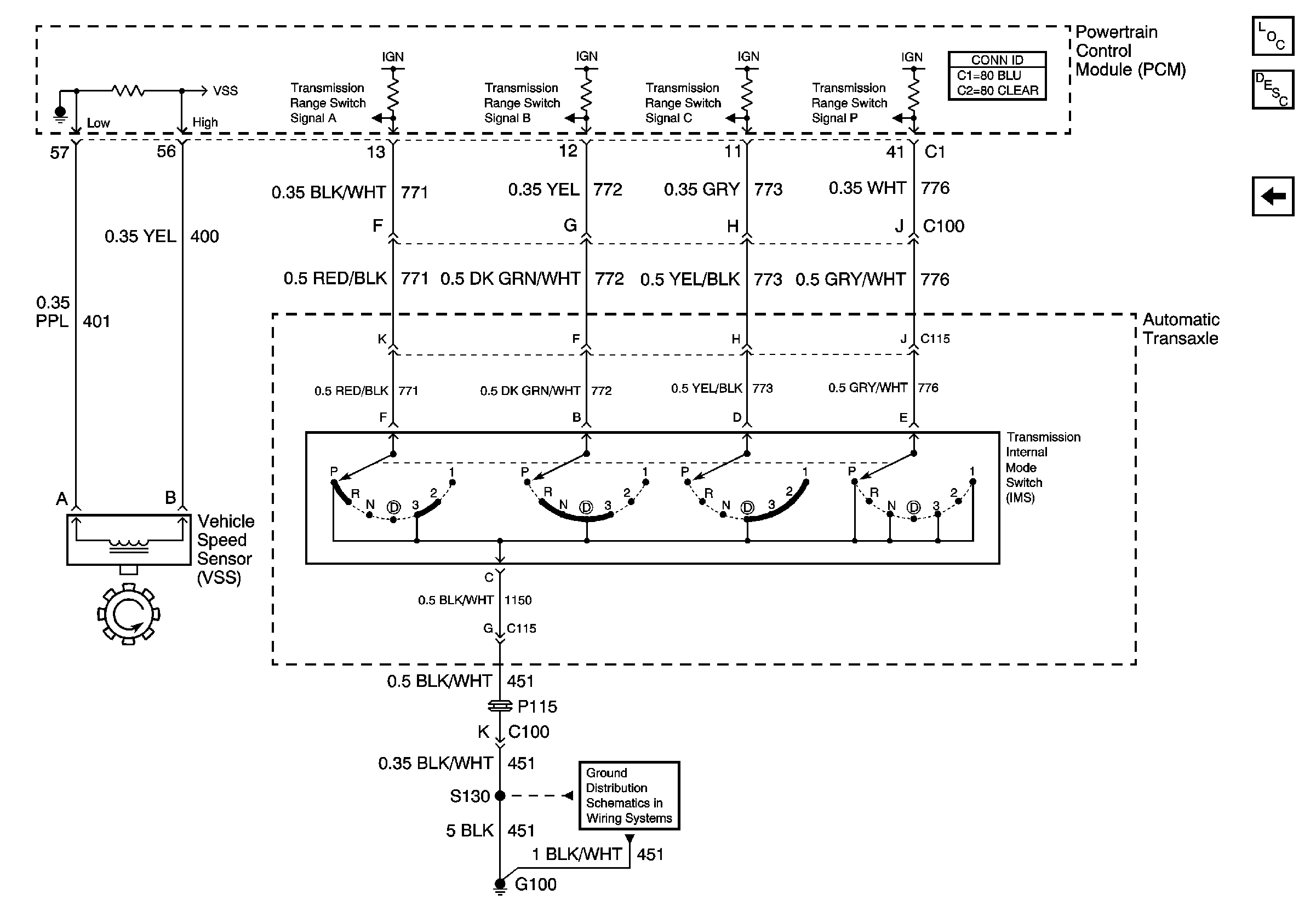
🢒 Automatic Transaxle- Internal Mode Switch and VSS
Automatic Transaxle- Internal Mode Switch and VSS
Transmission Internal Mode Switch (IMS) and VSS
Master Electrical Component List
Transmission General Description
Sensors
G100