GM Service Manual Online
For 1990-2009 cars only
Makes
🢒
Oldsmobile
🢒
2003
🢒
Bravada
🢒 Driver Position Sensors and Class 2
Driver Position Sensors and Class 2
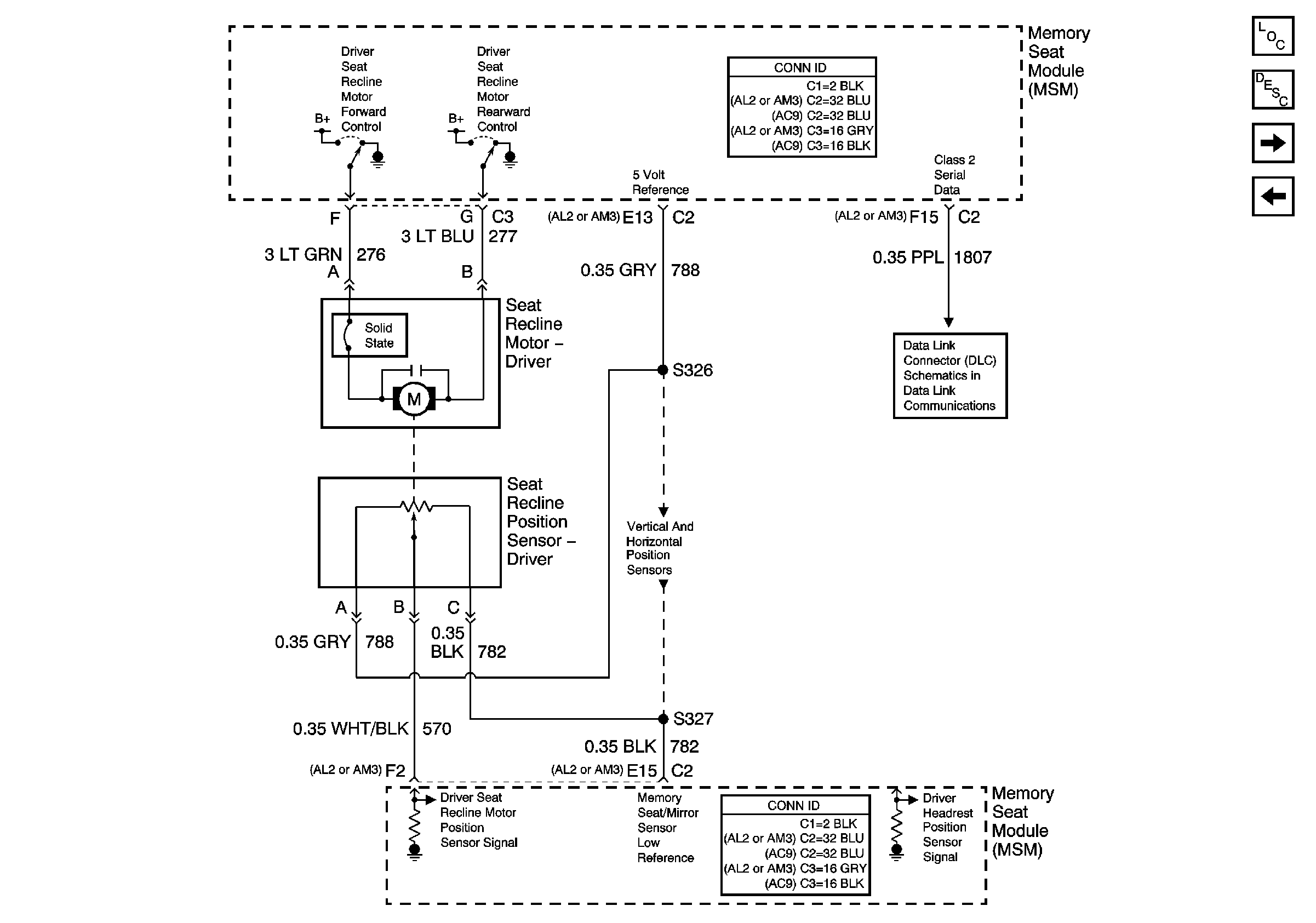
Driver Seat Recline Position Sensor and Class 2 (w/45/AL2)
Master Electrical Component List
Memory Seats Description and Operation
Memory Function Switch (w/ A45/AL9)
Front/Rear Position Sensors (w/ A45/AL2)
Class 2 Serial Data (3 of 3)