GM Service Manual Online
For 1990-2009 cars only

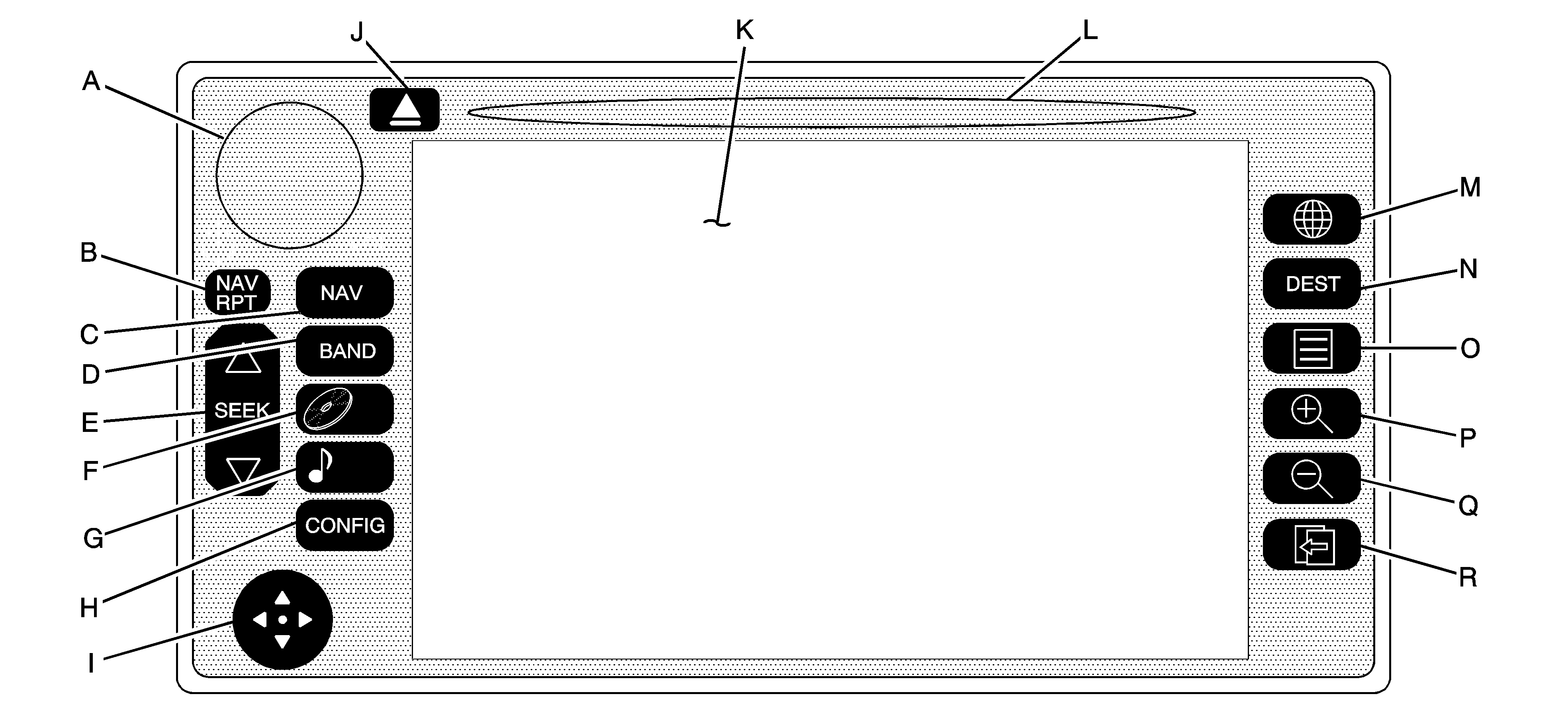
Object Number: 1242963  Size: C1
  1. Power/Volume Knob. See Navigation System Screen .

  2. NAV RPT (Navigation Repeat) Key. See Navigation System Screen .

  3. NAV (Navigation) Key. See Navigation System Screen .

  4. BAND Key. See "Playing the Radio" under Navigation Audio System .

  5. SEEK Key. See "Finding a Station" under Navigation Audio System .

  6. CD Key. See "Playing CDs" under Navigation Audio System .

  7. Audio Key. See "Audio Screen" under Navigation Audio System .

  8. CONFIG (Configuration) Key. See Screen Setup .

  9. Navigation Joystick. See "Navigation Joystick" following in this section.

  10. DVD/CD Eject Button. See "Playing CDs" under Navigation Audio System .

  11. Navigation Screen. See Screen Setup and Navigation System Screen .

  12. DVD/CD Loading Slot

  13. Map Key. See "Hard Keys" under Using the Navigation System .

  14. DEST (Destination) Key. See "Hard Keys" under Using the Navigation System .

  15. Menu Key. See "Hard Keys" under Using the Navigation System .

  16. Zoom In Key. See "Hard Keys" under Using the Navigation System .

  17. Zoom Out Key. See "Hard Keys" under Using the Navigation System .

  18. Back Key. See "Hard Keys" under Using the Navigation System .

Before you begin to operate the navigation system, read this manual thoroughly to become familiar with it and to understand how the system works.

The navigation system allows you to do the following:

    • Plan a route with provided turn-by-turn route and map guidance with voice prompts.
    • Select a destination using various methods and choices.
    • Receive broadcast announcements on traffic and emergency alert communications.

The information in the system may not always be complete. Road conditions such as prohibited turns, detours, and construction zones, change frequently. It is important to consider whether you can follow the directions given by the system for the current conditions.

Navigation Joystick

The navigation joystick, located on the bottom left corner of the navigation system, is used to make selections in the navigation system. See the navigation system overview shown previously for more information on location.

Move the joystick to the left, right, up, down, or diagonally to move around the screens, and press the center of the joystick to enter a selection.