GM Service Manual Online
For 1990-2009 cars only
Makes
🢒
Oldsmobile
🢒
2004
🢒
Bravada - 2WD
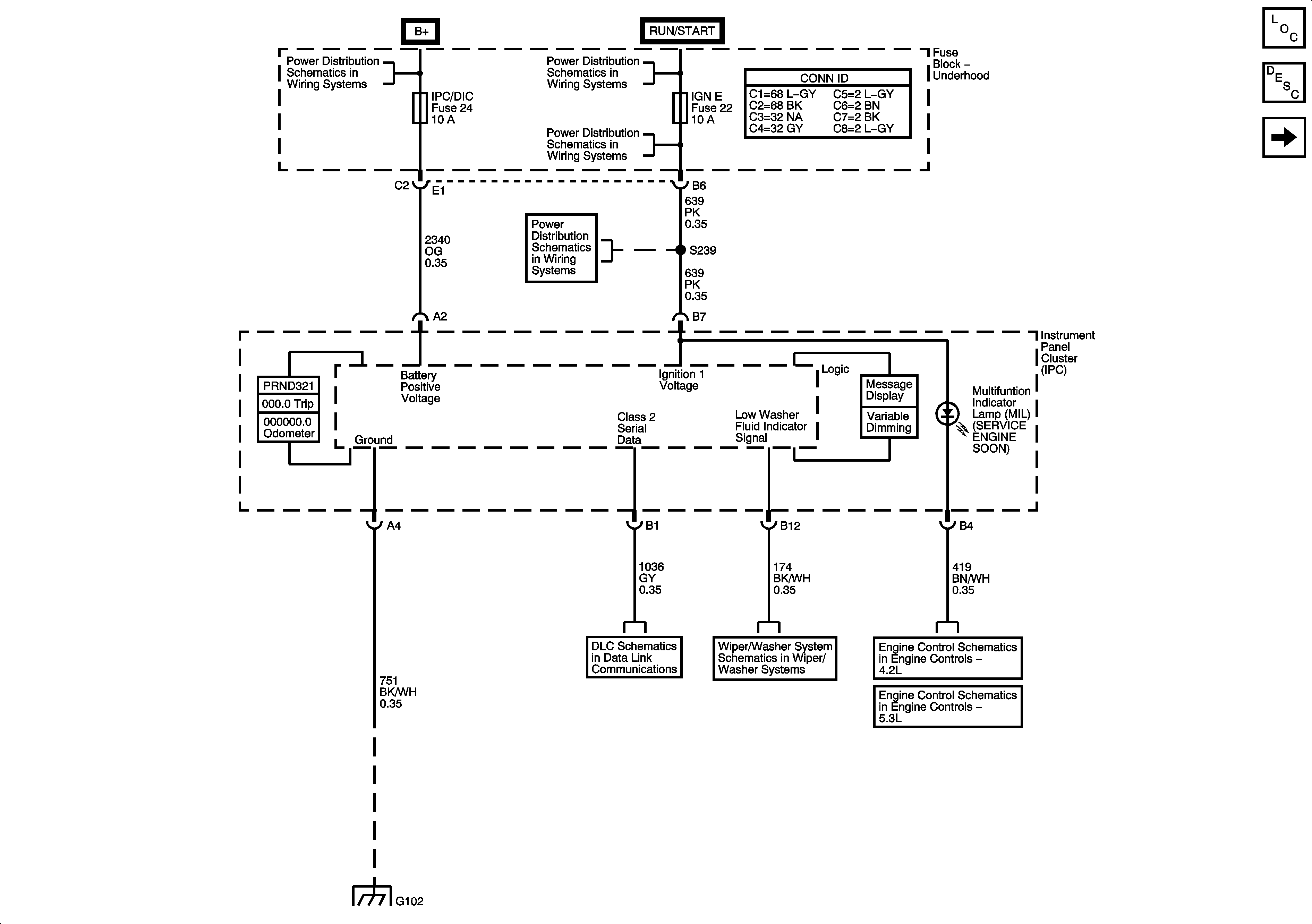
🢒 Power, Ground, Serial Data, and MIL
Power, Ground, Serial Data, and MIL
Power, Ground, Serial Data, and MIL
Master Electrical Component List
Instrument Cluster Description and Operation
Gages
B+ Bus - Rear Fuse Block
ACCY/RUN and RUN/START Bus Bars
IGN E, TBC IGN 1, BACKUP, BTSI, and TRLR B/U Fuses
IGN E, TBC IGN 1, BACKUP, BTSI, and TRLR B/U Fuses
Power, Ground, Data Link Connector, and SP205
Wiper/Washer Switch and Washer Fluid Level Switch
Power, Ground, Serial Data, and MIL
Module Power, Ground, Serial Data, and MIL
G102