GM Service Manual Online
For 1990-2009 cars only

FOG LAMPS DO NOT AUTOMATICALLY COME BACK ON

MODELS/YEARS 1989 CUTLASS CIERA EQUIPPED WITH FOG LAMPS (RPO - T96)

CONDITION:

--------- The fog lamps on the 1989 Oldsmobile Cutlass Ciera can be turned on by pushing the fog lamp switch to "on", whenever the headlamps or park lamps are "on". The fog lamps turn off whenever the high beams are on, but do not come back on when the high beams are turned off and the low beams turned on. The fog lamp switch must be used to turn the fog lamps back on.

CAUSE:

----- The circuit may be incorrectly wired, causing the switch to lose power whenever the high beams are used. This condition was corrected in production on Feb. 16, 1989. VIN breakpoints are:

Framingham -- KG335206 Ste. Therese -- K2391335

CORRECTION:

---------- 1. Disconnect the negative battery cable.

2. Remove the connector from the fog lamp switch.

3. Remove the purple wire from cavity "E". Remove the dark blue/white stripe wire from cavity "C", and insert it in cavity "E". Insert the purple wire into cavity "C". See Figure 1.

4. Reconnect fog lamp switch connector.

5. Locate fog lamp relay. See Figure 2. Remove relay from connector, and untape connector to gain access to rear of connector.

6. Remove dark blue wire from cavity "1" (See Figure 3). Remove dark blue/white stripe wire from cavity "4", and insert into cavity "1".

7. Locate the purple wire to the fog lamps in the wire harness that the relay was taped to. There are other purple wires in this harness. Make sure you have the right wire by applying 12 volts to the wire with a powered test light and seeing that the fog lamps come on. Reconnect the negative battery cable for this test, then disconnect.

8. Remove the pass-thru grommet from the dash, and pull the harness rearward, to gain access to the wiring. Cut the purple wire close to the relay connector location. Then cut about 2" from the terminal end of the dark blue wire. Splice, solder, and tape this terminal end of the dark blue wire to the end of the purple wire going toward the pass-thru grommet. Finally, insert the terminal into relay connector cavity "4".

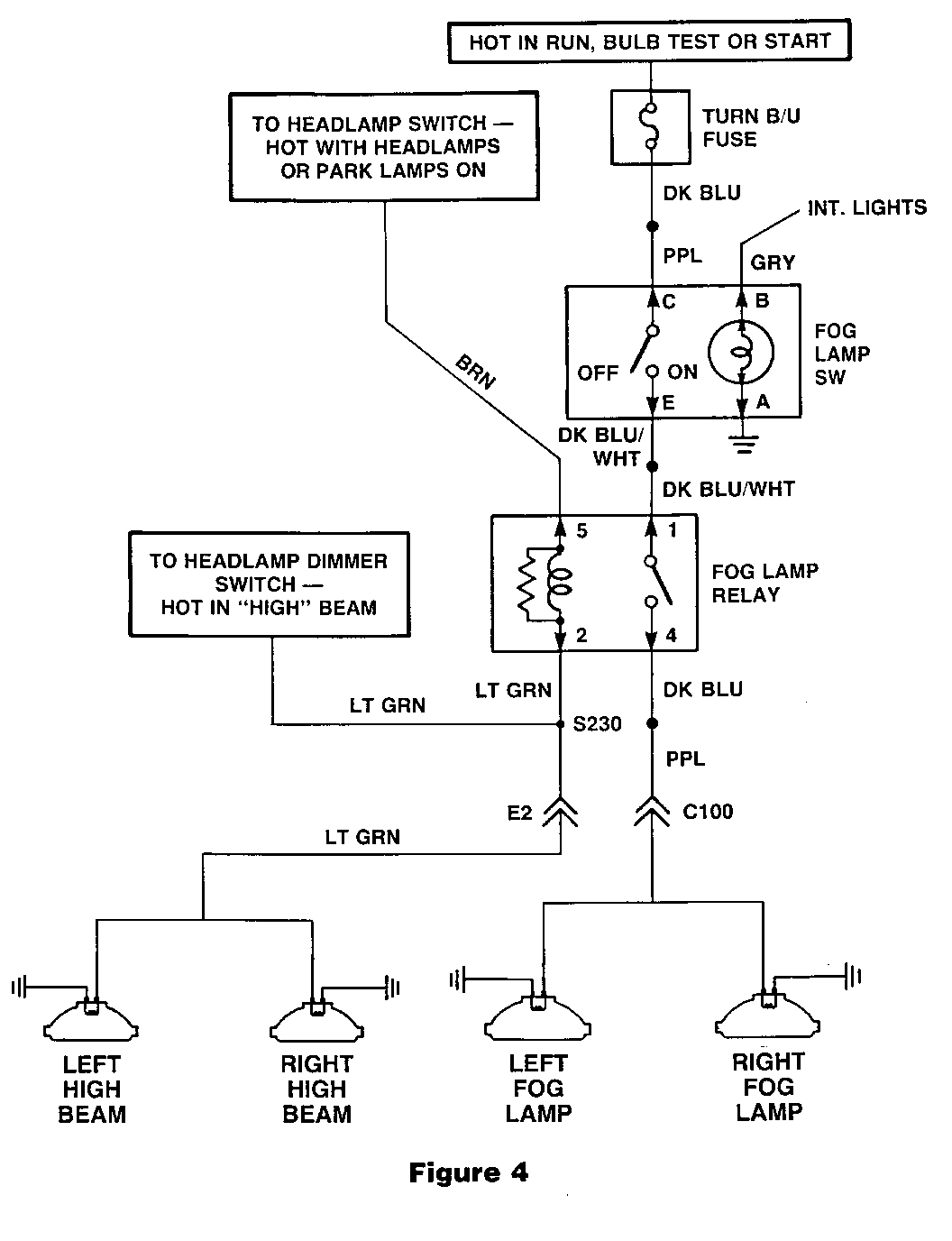
9. Splice, solder, and tape the dark blue wire to the purple wire end going away from the pass-thru grommet. Figure 4 shows the revised wiring diagram.

10. Plug the relay into the connector, and tape back to the harness.

11. Reconnect the negative battery cable. Verify that the fog lamps operate properly.

WARRANTY INFORMATION:

Labor Operation Number: T1431 Labor Time: 1.0 hrs. Trouble Code: 92


Object Number: 90094  Size: MF


Object Number: 78063  Size: FS


Object Number: 89754  Size: LF


Object Number: 85372  Size: FS

General Motors bulletins are intended for use by professional technicians, not a "do-it-yourselfer". They are written to inform those technicians of conditions that may occur on some vehicles, or to provide information that could assist in the proper service of a vehicle. Properly trained technicians have the equipment, tools, safety instructions and know-how to do a job properly and safely. If a condition is described, do not assume that the bulletin applies to your vehicle, or that your vehicle will have that condition. See a General Motors dealer servicing your brand of General Motors vehicle for information on whether your vehicle may benefit from the information.