GM Service Manual Online
For 1990-2009 cars only

FLOOR PAN DRAIN PLUG DISLODGED INSPECT/REINSTALL DRAIN PLUG

Subject: FLOOR PAN DRAIN PLUGS

Models: 1991 Chevrolet Sprint and Pontiac Firefly 5-Door Hatchback

General Motors of Canada has determined that certain 1991 Chevrolet Sprint and Pontiac Firefly 5- Door Hatchback model vehicles may have been assembled with the floor pan drain plugs dislodged from their positions. This may result in water entering the vehicle interior through the resulting openings in the floor pan.

To correct this condition, dealers will inspect the vehicle floor pan of each involved vehicle and reinstall drain plug(s) as required.

VEHICLES INVOLVED:

There are only 60 1991 Chevrolet Sprint and 46 Pontiac Firefly model vehicles involved within the following VIN breakpoints:

Year Model Plant Plant Code From Through ---- ----------------- ---------- ---------- -------- -------- 1991 Sprint Ingersoll 6 M6729237 M6738157 (5-Door Hatchback)

1991 Firefly Ingersoll 6 M6729217 M6738195 (5-Door Hatchback)

All affected vehicles have been identified by the VIN listing provided to involved dealers with this bulletin. Any dealer not receiving a listing was not shipped any of the affected vehicles.

DEALER CAMPAIGN RESPONSIBILITY:

Dealers are to perform this campaign on all involved vehicles at no charge to owners, regardless of kilometres traveled, age of vehicle, or ownership, from this time forward.

Whenever a vehicle subject to this campaign is taken into your new or used vehicle inventory, or it is in your dealership for service, you are to ensure the campaign correction has been made before selling or releasing the vehicle.

Owners of vehicles recently sold from your new vehicle inventory are to be contacted by the dealer, and arrangements made to make the required modification according to instructions contained in this bulletin.

CAMPAIGN PROCEDURE:

Refer to Section 4 of the Service Policies and Procedures Manual for the detailed procedure on handling Product Campaigns. Dealers are requested to complete the campaign on all transfers as soon as possible.

OWNER NOTIFICATION:

All owners of record at the time of campaign release are shown on the attached computer listing and have been notified by first class mail from General Motors. The listings provided are for campaign activity only and should not be used for any other purpose.

PARTS INFORMATION:

Dislodged drain plugs are not typically missing from the involved vehicles. Instead, in all known cases the plugs are trapped between the carpet and the vehicle floor pan. If for any reason these drain plugs cannot be found in the vehicle, new drain plugs can be obtained from General Motors Service Parts Operations (GMSPO) using the following information:

Part Number Description Quantity/Vehicle ------------ ----------- 96053782 Drain Plug As Needed

PARTS AND LABOUR CLAIM INFORMATION:

Credit for the campaign work performed will be paid upon receipt of a properly completed campaign claim card, RAPID terminal or DCS transmission in accordance with the following:

Repair Code Description Time Allowance ----------- --------------------------------------- -------------- 2A Inspect/Reinstall Drain Plugs As Needed .4

Time allowance includes 0. 1 hour for dealer administrative detail associated with this campaign.

SERVICE PROCEDURE:

FIGURES REFERENCED ARE FOUND ON PAGES 3 THROUGH 4 BE CERTAIN TO PERFORM THIS PROCEDURE ON BOTH SIDES OF VEHICLE.

1. Remove the rear side sill scuff plate. It is not necessary to remove rear seat or centre pillar inner lower trim piece. See Figure #1.

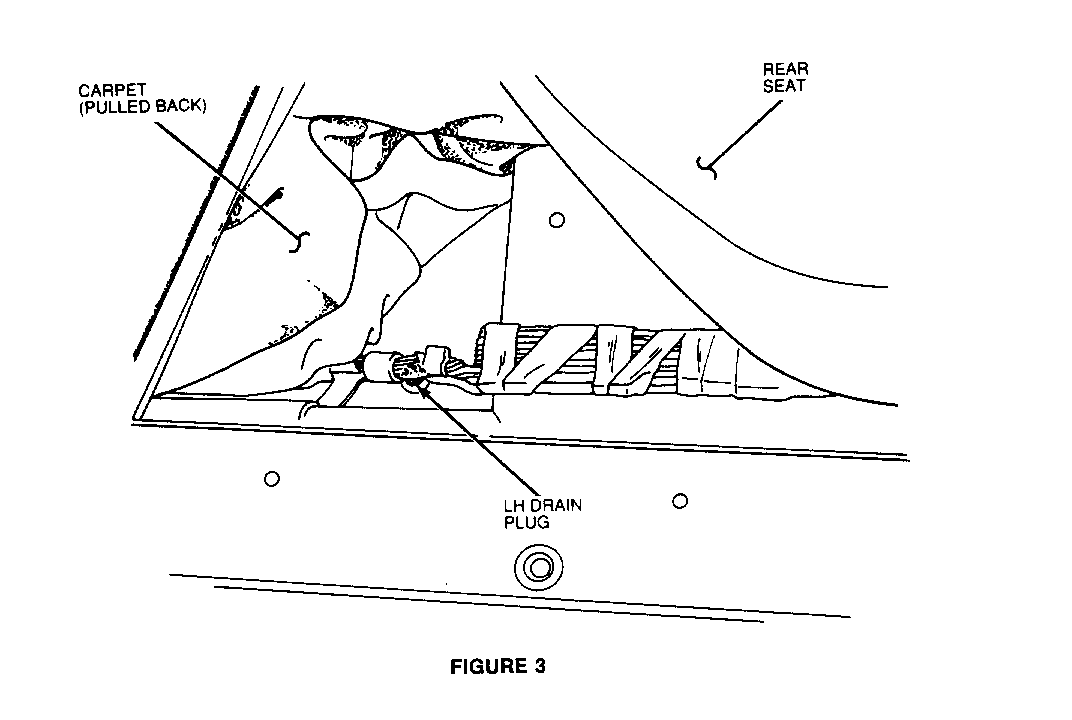
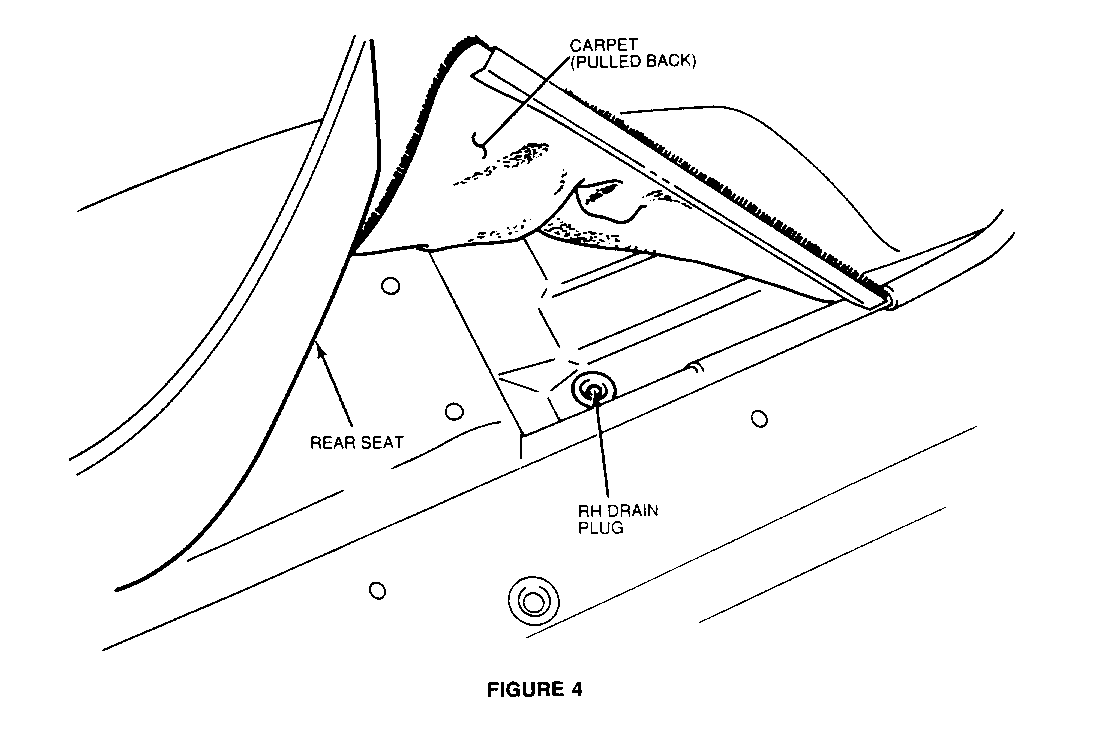
2. Lift carpet in area of drain plug. Location of the drain plug is approximately 380 mm forward of the rear wheels and 150 mm inboard. See Figure #2.

Notice: On driver's side of vehicle, it may be necessary to move the wiring harness out of the way to access the drain plug. See Figures 3 and 4 for views of plug locations on both sides of vehicle.

3. If drain plug is in its seat, determine with finger pressure if it is loose. If it is loose, reseat it firmly.

If drain plug is not in its seat, locate it and reseat it firmly in its proper position.

4. Reinstall carpet and rear side sill scuff plate.

5. Install Campaign Identification Label.

INSTALLATION OF CAMPAIGN IDENTIFICATION LABEL

Clean surface of radiator upper mounting panel and apply a Campaign Identification Label. Make sure the correct campaign number is inserted on the label. This will indicate that the campaign has been completed.


Object Number: 78593  Size: FS


Object Number: 76667  Size: FS


Object Number: 83878  Size: FS


Object Number: 79691  Size: FS

General Motors bulletins are intended for use by professional technicians, not a "do-it-yourselfer". They are written to inform those technicians of conditions that may occur on some vehicles, or to provide information that could assist in the proper service of a vehicle. Properly trained technicians have the equipment, tools, safety instructions and know-how to do a job properly and safely. If a condition is described, do not assume that the bulletin applies to your vehicle, or that your vehicle will have that condition. See a General Motors dealer servicing your brand of General Motors vehicle for information on whether your vehicle may benefit from the information.